Bravilor Bonamat KTS Bruksanvisning
Läs gratis den bruksanvisning för Bravilor Bonamat KTS (2 sidor) i kategorin kaffebryggare. Guiden har ansetts hjälpsam av 12 personer och har ett genomsnittsbetyg på 4.7 stjärnor baserat på 6.5 recensioner. Har du en fråga om Bravilor Bonamat KTS eller vill du ställa frågor till andra användare av produkten? Ställ en fråga
Sida 1/2

ECopyright Bravilor Bonamat B.V.
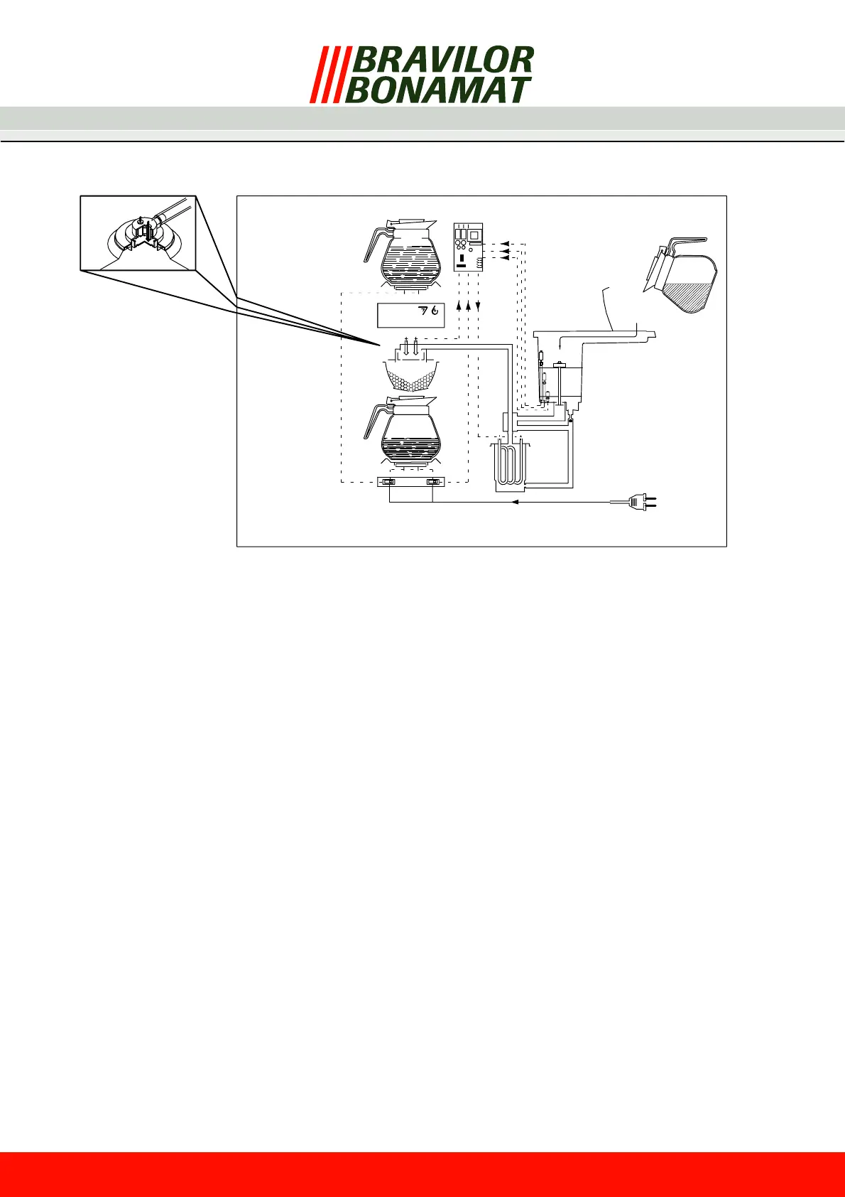
1. OPERATING PRINCIPLE MONDO/TH KTS
1. PTC element
2. Spray head
3. Flow boiler
4. Switches
5. Water reservoir
6. Mains plug
7. Printed circuit
8. In use indicator
9. Descale indicator
10. Filter pan
11. Glass decanter
12. Koeler
13. Float controlled valve
14. Level sensors
13
12
4
1
4
11
3
10
2
5
7
6
14
11
2
11
98
The coffee maker is equipped with a flow through
heater system. This contains a water reservoir (5), a
flow through heater (3), a sprayhead (2) from which
the water flows into the filterpan (10), with in
between a heat exchanger (12). The entire system
is controlled by a printed circuit (7).
The water reservoir is equipped with 3 level sensors
(float) (14) −resp. whole jug, half jug and minimum
level− and a float controlled valve (13), with which
the cold waterflow through the heat exchanger is
controlled.
The sprayhead is equipped with electrodes for the
descale indicator.
Furthermore the device is at least equipped with:
D a switch to turn the system on and off (4);
D an indication light (green), which burns when the
system is working (8);
D an indication light (red), which starts blinking
when the system needs to be descaled (9);
D a buzzer for the acoustic signals.
When water is poured into the water reservoir, this is
sensed by the level sensors (14). Then the flow
through heater is turned on, and the water is boiled
out via the heat exchanger and the sprayhead. In
this situation the float (12) will close the valve in the
cold water feeding tube to the heat exchanger.
When some time later the water level in the
reservoir has lowered, also the float will be lower
and the valve will open allowing water to flow to the
heat exchanger.
In the heat exchanger the cold water will withdraw
part of the heat from the hot water flowing to the
sprayhead. The purpose of all this, is to allow the
temperature to rise to about 92°C quickly in the first
part of a coffee brewing cycle, after which the
temperature is kept between 92°C and 96°C during
the remaining part.
Herewith the system complies with the demand of
the Norsk Kaffe Informsjon (Scandinavian Coffee
Brewing Institutes).
As soon as the water level in the water reservoir
becomes lower than the lowest sensor (14), the
electronic control (7) will turn off the flow through
heater.
The hot water will drain from the sprayhead. About 1
minute after the flow through heater is turned off,
three beeps will sound and the green indicator lamp
will go out.
During use scale will accumulate in the system
including the sprayhead. This will cause the water to
drain from the sprayhead slower.
Produktspecifikationer
| Varumärke: | Bravilor Bonamat |
| Kategori: | kaffebryggare |
| Modell: | KTS |
Behöver du hjälp?
Om du behöver hjälp med Bravilor Bonamat KTS ställ en fråga nedan och andra användare kommer att svara dig
kaffebryggare Bravilor Bonamat Manualer
23 September 2025
23 September 2025
22 September 2025
22 September 2025
22 September 2025
22 September 2025
22 September 2025
22 September 2025
21 September 2025
21 September 2025
kaffebryggare Manualer
- LERAN
- Varo
- OXO
- Ursus Trotter
- Teka
- PowerXL
- Emeril Lagasse
- Saro
- Orava
- Balay
- Team
- Nespresso
- H.Koenig
- Tornado
- Wacaco
Nyaste kaffebryggare Manualer
20 Oktober 2025
19 Oktober 2025
18 Oktober 2025
18 Oktober 2025
18 Oktober 2025
17 Oktober 2025
15 Oktober 2025
12 Oktober 2025
12 Oktober 2025
12 Oktober 2025