Dormakaba RCI S6504/07DD Bruksanvisning
Dormakaba
Inte kategoriserad
RCI S6504/07DD
Läs gratis den bruksanvisning för Dormakaba RCI S6504/07DD (1 sidor) i kategorin Inte kategoriserad. Guiden har ansetts hjälpsam av 19 personer och har ett genomsnittsbetyg på 4.1 stjärnor baserat på 10 recensioner. Har du en fråga om Dormakaba RCI S6504/07DD eller vill du ställa frågor till andra användare av produkten? Ställ en fråga
Sida 1/1

© 2018 dormakaba Canada Inc.
www.dormakaba.us hone ax mail: sales_RCI dormakaba com• P : 1.800.265.6630 • F : 1.800.482.9795 • E- @ .IS6504DD
PCN18041
R11-18TG
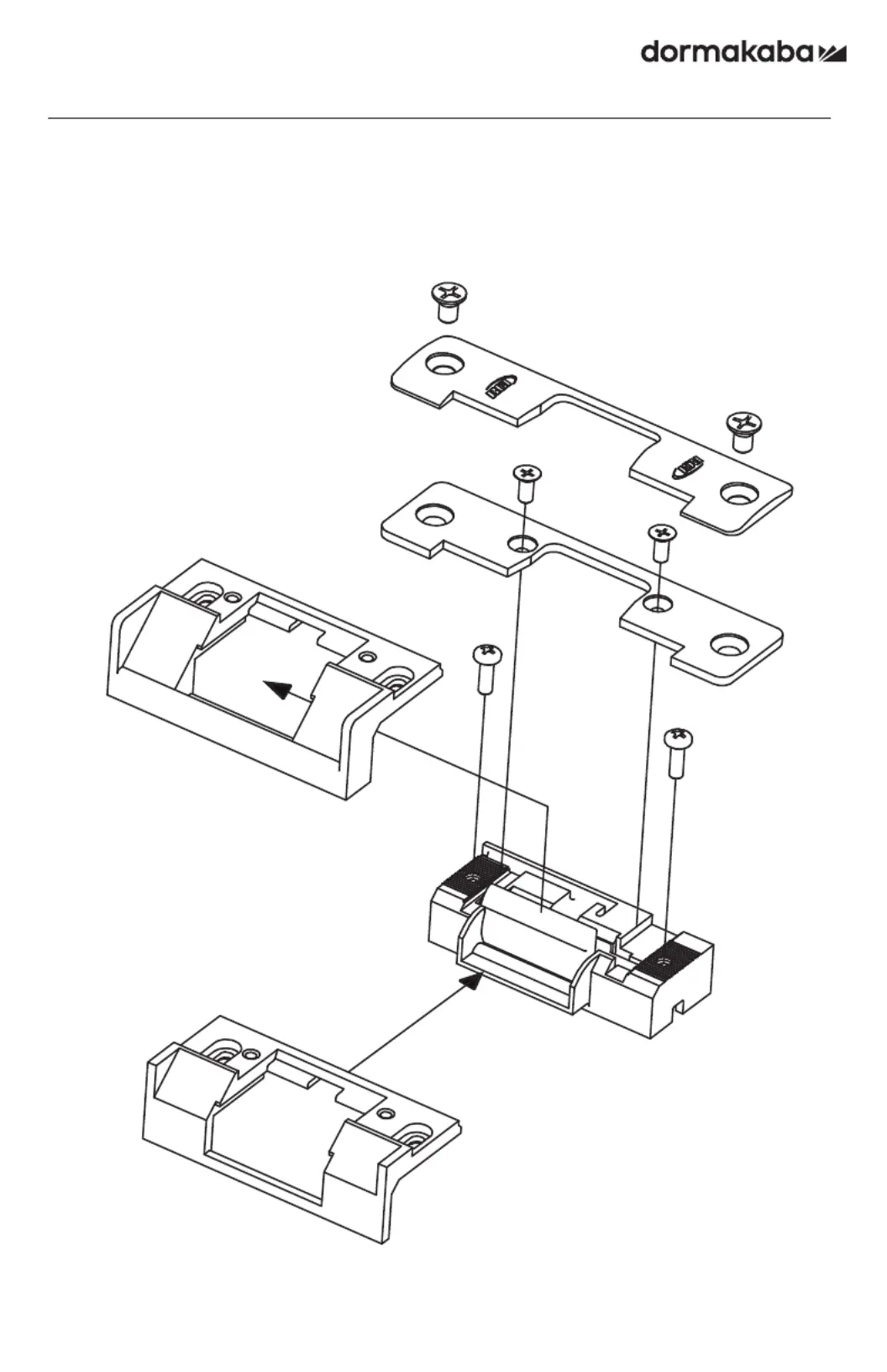
INSTALLATION
RCI S6504/07DD - RCI L6504/07DD
6 SERIES DOUBLE DOOR ACCESSORY
Step 3: Bullnose faceplate goes on top
of stainless steel faceplate.
(04 Faceplate shown)
Step 2: Replace with S65/L65-04/07-DD
lip bracket.
Step 1: Remove original lip bracket.
Produktspecifikationer
| Varumärke: | Dormakaba |
| Kategori: | Inte kategoriserad |
| Modell: | RCI S6504/07DD |
Behöver du hjälp?
Om du behöver hjälp med Dormakaba RCI S6504/07DD ställ en fråga nedan och andra användare kommer att svara dig
Inte kategoriserad Dormakaba Manualer
10 September 2024
10 September 2024
10 September 2024
10 September 2024
10 September 2024
10 September 2024
10 September 2024
10 September 2024
10 September 2024
10 September 2024
Inte kategoriserad Manualer
- CaviLock
- McGregor
- OBSBOT
- Qu-Bit
- Pippi
- Wolfcraft
- Camille Bauer
- Sanitaire
- Howard Leight
- TVLogic
- Rocktrail
- Al-ko
- Cyber Acoustics
- Empress Effects
- Mx Onda
Nyaste Inte kategoriserad Manualer
9 April 2025
9 April 2025
9 April 2025
9 April 2025
9 April 2025
9 April 2025
9 April 2025
9 April 2025
9 April 2025
9 April 2025