Alpine SBS-0515 Bruksanvisning
Alpine
ej kategoriserat
SBS-0515
Läs gratis den bruksanvisning för Alpine SBS-0515 (2 sidor) i kategorin ej kategoriserat. Guiden har ansetts hjälpsam av 2 personer och har ett genomsnittsbetyg på 4.6 stjärnor baserat på 1.5 recensioner. Har du en fråga om Alpine SBS-0515 eller vill du ställa frågor till andra användare av produkten? Ställ en fråga
Sida 1/2

NE PAS DEMONTER NI MODIFIER. Il y a risque
d’accident ou de choc électrique.
UTILISEZ DES FUSIBLES DE L’AMPERAGE
APPROPRIE. II y a risque d’incendie ou de choc
électrique.
AVANT LE CABLAGE, DEBRANCHER LE CA-
BLE DE LA BORNE NEGATIVE (–) DE LA BAT-
TERIE. Le non-respect de cette précaution risque
de provoquer un choc électrique ou des blessures
dues à des courts-circuits électriques.
NE PAS COUPER LA GAINE DES CABLES
POUR ALIMENTER D’AUTRES EQUIPEMENTS.
L’intensité nominale du câble sera dépassée et un
incendie ou un choc électrique risque de se pro-
duire.
Avis
Attention
R
Specifications
OWNER'S MANUAL
Please read before using this equipment.
MODE D’EMPLOI
Veuillez lire ce mode d’emploi avant la mise en service de l’appareil.
SBS-0515
Center Speaker System
R
Designed by ALPINE Japan
Printed in Japan (S)
68P20877Y35-O
Points to Observe for Safe Usage
Points à respecter pour une utilisation sûre
Warning
Avis
NE PAS TOUCHER, ENDOMMAGER OU BOU-
CHER LES TUYAUX, CONDUITES OU CABLES
LORSQUE VOUS PERCEZ DES TROUS. Il y a ris-
que d’incendie, d’accident ou de blessures.
ARRETEZ-VOUS IMMEDIATEMENT EN CAS DE
PROBLEME. Si un problème se présente, absence
du son ou de l’image, objets tombés dans l’appa-
reil, dégagement de fumée ou d’odeurs nocives,
arrêtez immédiatement l’appareil et contactez le
revendeur où vous l’avez acheté l’appareil. Il y a
risque d’accident et de blessure.
NE PAS INSTALLER L’ENCEINTE PRES DU
COUSSIN D’AIR DU PASSAGER. Si l’appareil n’est
pas installé correctement, il risque d’empêcher le
fonctionnement du coussin d’air, et si le coussin se
déploie, l’appareil risque d’être projeté dans l’habi-
tacle, causant un accident et des blessures.
NE PAS LAISSER DE PETITES PIECES A POR-
TEE DES ENFANTS. En cas d’ingestion, consul-
tez immédiatement un médecin.
UTILISEZ LE SYSTEME UNIQUEMENT DANS
DES VOITURES AYANT UNE MASSE NEGATIVE
(–) DE 12 VOLTS. Vérifiez avec votre revendeur
en cas de doute. Le non-respect de cette précau-
tion risque de provoquer un incendie ou un choc
électrique.
NE PAS INSTALLER DANS DES ENDROITS RIS-
QUANT DE GENER LA CONDUITE DU VEHI-
CULE OU POTENTIELLEMENT DANGEREUX
POUR LES OCCUPANTS DU VEHICULE. La vue
avant pourrait être obstruée ou les mouvements
gênés.
NE PAS UTILISER DES ECROUS OU DES BOU-
LONS DANS LE SYSTEME DE FREINAGE PEN-
DANT L’INSTALLATION OU LES CONNEXIONS
DE MASSE. Ne jamais utiliser des pièces liées à
la sécurité, telles que les boulons ou écrous de la
direction, des systèmes de freinage ou des réser-
voirs, pour faire des installations de câblage ou de
connexion de masse. L’utilisation de ce genre de
pièces pourrait désactiver les systèmes de con-
trôle du véhicule, endommager les freins et cau-
ser un accident ou des blessures.
CONFIEZ LE CABLAGE ET L’INSTALLATION A
DES PROFESSIONNELS. Le câblage et l’installa-
tion de cet appareil nécessitent une compétence et
expérience technique confirmée. Afin de garantir la
sécurité, contactez toujours le revendeur auprès
duquel vous avez acheté l’appareil pour lui confier
les travaux à faire.
EFFECTUEZ CORRECTEMENT LES CON-
NEXIONS. Sinon il y a risque d’incendie ou d’acci-
dent.
NE PAS UTILISER L’APPAREIL DANS
D’AUTRES BUTS QUE CEUX ENONCES. Il y a
risque de choc électrique ou de blessure.
DO NOT CONTACT, DAMAGE OR OBSTRUCT
PIPES, FLUID LINES OR WIRING WHEN DRILL-
ING HOLES. Failure to take such precautions may
result in fire or cause an accident or injuries.
HALT USE IMMEDIATELY IF A PROBLEM AP-
PEARS. When problems occur such as a lack of
sound or video, foreign objects inside the unit,
smoke coming out, or noxious odors, stop use im-
mediately and contact the dealer where you bought
the equipment. Failure to do so may result in an
accident or injury.
DO NOT INSTALL THE SPEAKER NEAR THE
PASSENGER SEAT AIR BAG. If the unit is not
installed correctly the air bag may not function cor-
rectly and when triggered the air bag may cause
the speaker to spring upwards causing an acci-
dent and injuries.
KEEP SMALL ARTICLES OUT OF THE REACH
OF CHILDREN. If swallowed, consult a physician
immediately.
USE ONLY VEHICLES WITH A 12 VOLT NEGA-
TIVE (–) GROUND. Check with your dealer if you
are not sure. Failure to do so may result in fire or
electric shock.
DO NOT INSTALL IN LOCATIONS WHICH MIGHT
HINDER VEHICLE OPERATION OR CREATE
HAZARDS FOR VEHICLE OCCUPANTS. Doing
so may obstruct forward vision or hamper move-
ment.
DO NOT USE NUTS OR BOLTS IN THE BRAKE
SYSTEM WHEN MAKING INSTALLATION OR
GROUND CONNECTIONS. Never use safety-
related parts such as bolts or nuts in the steering
or brake systems or tanks to make wiring installtions
or ground connections. Using such parts could dis-
able control of the vehicle and cause brake failure,
other accident or injury.
HAVE THE WIRING AND INSTALLATION DONE
BY EXPERTS. The wiring and installation of this
unit requires special technical skill and experience.
To ensure safety, always contact the dealer where
you purchased this unit to have the work done.
MAKE THE CORRECT CONNECTIONS. Failure
to do so may cause fire or accident to occur.
DO NOT USE THIS EQUIPMENT FOR PUR-
POSES OTHER THAN STATED FOR THE VE-
HICLE. Failure to do so may result in electric shock
or injury.
Built-in amplifier
Max. power....................................................... 35 W
Power output: RMS continuous power
(at 14.4V, 20 Hz to 20 kHz) ........................... 15.5 W
(4 ohms load, 0.08% THD)
Frequency response ....... 20 – 20,000Hz (+0, –1dB)
S/N ratio ........................................................ 90 dBA
Input sensitivity ................................................ 0.5 V
Input impedance .................... 10 kohms (Line input)
Dimensions ................ 144(W) x 40(H) x 100(D) mm
Weight ........................................................... 0.45 kg
Power supply...................... Operation voltage range
11 – 16V, negative ground
Speaker
System .................................. 5cm (2”) dynamic type
Power handling (Peak) ..................................... 80 W
Power handling (Continuous) .................. 20 W RMS
Impedance .................................................... 4 ohms
Sensitivity ............................................. 85 dB/W (m)
Frequency response ....................... 400 – 20,000Hz
Dimensions .................. 93(W) x 51(H) x 111(D) mm
Weight ............................................................ 0.25kg
Specifications and appearance of the product may
change without prior notice.
Toyoda Printing Co., Ltd.
4-2, Ezoe, Naka-yoshima,
Yoshima-machi, Iwaki,
Fukushima, Japan
Alpine Electronics, Inc.
Tokyo office: 1-1-8 Nishi Gotanda,
Shinagawa-ku, Tokyo 141-8501, Japan
Tel.: (03) 3494-1101
Alpine Electronics of America, Inc.
19145 Gramercy Place, Torrance,
California 90501, U.S.A.
Tel.: 1-800-ALPINE-1 (1-800-257-4631)
Alpine Electronics of Canada, Inc.
Suite 203, 7300 Warden Ave. Markham,
Ontario L3R 9Z6, Canada
Tel.: 1-800-ALPINE-1 (1-800-257-4631)
Alpine Electronics of Australia Pty. Ltd.
6-8 Fiveways Boulevarde Keysborough,
Victoria 3173, Australia
Tel.: (03) 9769-0000
Alpine Electronics GmbH
Kreuzerkamp 7-11 40878 Ratingen,
Germany
Tel.: 02102-45 50
Alpine Italia S.p.A.
Via C. Colombo 8, 20090 Trezzano Sul
Naviglio MI, Italy
Tel.: 02-48 47 81
Alpine Electronics France S.A.R.L.
(RCS PONTOISE B 338 101 280)
98, Rue De La Belle Etoile, Z.I. Paris Nord II
B.P. 50016 F-95945, Roissy,
Charles de Gaulle Cedex, France
Tel.: 01-48 63 89 89
Alpine Electronics of U. K., Ltd.
13 Tanners Drive, Blakelands,
Milton Keynes MK14 5BU, U.K.
Tel.: 01908-61 15 56
ALPINE ELECTRONICS DE ESPAÑA, S.A.
Portal De Gamarra 36, Pabellón 32
01013 Vitoria (Alava) - Apdo. 133, Spain
Tel.: 34-45-283588
• Read this manual carefully before starting op-
eration and use this system safely. We cannot
be responsible for problems resulting from failure
to observe the instructions in this manual.
• This manual uses various pictorial displays to
show how to use this product safely and to avoid
harm to yourself and others and damage to your
property. Here is what these pictorial displays
mean. Understanding them is important for
reading this manual.
• Meaning of displays
This label is intended to alert the
user to the presence of important
operating instructions.
Failure to heed the instructions will
result in severe injury or death.
This label is intended to alert the
user to the presence of important
operating instructions.
Failure to heed the instructions can
result in injury or material damage.
• Lire attentivement ce manuel avant de
commencer l'opération et l'utilisation du système
en toute sécurité. Nous dégageons toute
responsabilité des problèmes résultant du non-
respect des instructions décrites dans ce manuel.
• Ce manuel utilise divers affichages illustrés pour
montrer comment utiliser cet appareil en toute
sécurité, pour éviter de s'exposer soi-même et
les autres personnes aux dangers et pour éviter
d'endommager l'appareil. Voici la signification
de ces affichages illustrés. Il est important de
bien les comprendre pour la lecture de ce manuel.
• Signification des affichages
Cette étiquette a pour but de
prévenir l'utilisateur de la présence
d'instructions importantes.
Si ces instructions ne sont pas sui-
vies, des blessures graves ou mor-
telles risquent d'être occasionnées.
Cette étiquette a pour but de
prévenir l'utilisateur de la présence
d'instructions importantes.
Si ces instructions ne sont pas sui-
vies, des blessures ou des dom-
mages matériels risquent d'être oc-
casionnés.
Warning
Caution
DO NOT DISASSEMBLE OR ALTER. Doing so
may lead to accident, fire or electric shock.
USE THE CORRECT AMPERE RATING WHEN
REPLACING FUSES. Failure to do so may result
in fire or electric shock.
BEFORE WIRING, DISCONNECT THE CABLE
FROM THE NEGATIVE (–) BATTERY TERMINAL.
Failure to do so may result in electric shock or in-
jury due to electrical shorts.
DO NOT CUT AWAY THE WIRE SHEATH AND
USE POWER FOR OTHER EQUIPMENT . Doing
so may exceed the current carrying capacity of the
wire and result in fire or electric shock.
Warning
Avis
Caution
Attention
USE SPECIFIED ACCESSORY PARTS AND IN-
STALL THEM SECURELY. Use of other than des-
ignated parts may damage this unit internally or
may not securely install the unit in place as parts
that come loose may create hazards.
DO NOT INSTALL IN LOCATIONS WITH HIGH
MOISTURE OR DUST. A high incidence of mois-
ture or dust that penetrates into this unit may cause
smoke or fire.
DO NOT BLOCK VENTS OR RADIATOR PAN-
ELS. Blocking them may cause head to build up
inside and may result in fire.
UTILISER LES ACCESSOIRES SPECIFIES ET
LES INSTALLER CORRECTEMENT. L’utilisation
d’autres pièces non désignées risque de provoquer
des dommages à l’intérieur de l’appareil ou son
installation risque de ne pas être faite correctement,
et les pièces desserrées peuvent provoquer des
dangers.
NE PAS INSTALLER DANS DES ENDROITS TRES
HUMIDES OU POUSSIEREUX. Une humidité ou pous-
sière importante pénétrant dans l’appareil peut être à
l’origine d’un dégagement de fumée ou d’un incendie.
NE PAS OBSTRUER LES SORTIES D’AIR NI LES
PANNEAUX DU RADIATEUR. Une surchauffe interne
peut se produire et provoquer un incendie.
Amplificateur intégré
Puissance maximale .......................................... 35 W
Sortie de puissance: Puissance continue RMS
(à 14,4V, 20 Hz à 20 kHz) ............................... 15,5 W
(4 ohms charge, 0,08% DHT)
Réponse de la fréquence.................... 20 – 20.000Hz
(+0, –1dB)
Rapport S/N .................................................. 90 dBA
Sensibilité d’entrée ............................................ 0,5 V
Impédance d’entrée ......... 10 kohms (Entrée de ligne)
Dimensions.................... 144(L) x 40(H) x 100(P) mm
Poids .............................................................. 0,45kg
Niveau de l’alimentation .............. Gamme de voltage de
fonctionnement 11 – 16V, terre négative
Enceinte
Système ........................... Type 5 cm (2”) dynamique
Charge nominale (Pointe) .................................. 80 W
Charge nominale (Continue) ..................... 20 W RMS
Impédance..................................................... 4 ohms
Sensibilité .............................................. 85 dB/W (m)
Réponse de la fréquence.................. 400 – 20.000Hz
Dimensions..................... 93(L) x 51(H) x 111 (P) mm
Poids .............................................................. 0,25kg
Les caractéristiques techniques et l’apparence du produit
peuvent changer sans préavis.
Spécifications

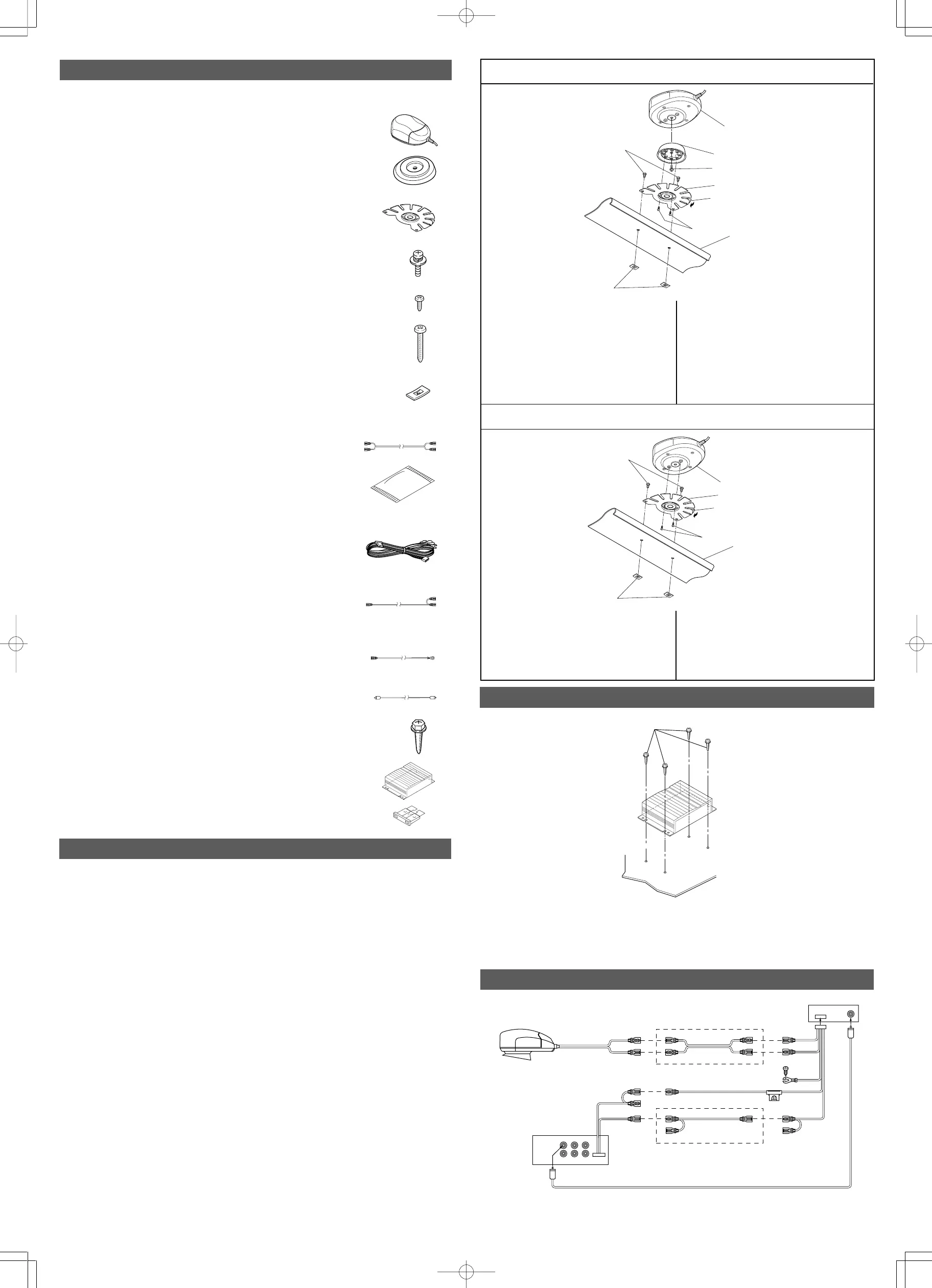
Center speaker/Enceinte centrale
1
Speaker unit/
Unité d’enceinte ............................................................................................... x1
2
Spacer/Pièce d’écartement .............................................................................. x1
3
Plate/Plateau ................................................................................................. x1
4
Screw (M4x8)/
Vis (M4x8) ............................................................................................................... x1
5
Screw (ø3x5)/Vis (ø3x5) ........................................................................................... x2
6
Screw (ø5x16)/Vis (ø5x16) ....................................................................................... x2
7
Speed nut (ø5mm)/
Ecrou de vitesse (ø5mm) ...................................................................................... x2
8
Speaker cable (3m for extension)/
Câble de l’enceinte (3m pour rallonge) .................................................. x1
9
Cleaner/Nettoyant ................................................................................... x1
Amplifier/Amplificateur
p
Power supply cable/Câble d’alimentation ............................................ x1
q
Remote cable (3m for extension)/
Câble de télécommande (3m pour rallonge) ........................................ x1
w
Battery cable (3m for extension)/
Câble de la batterie (3m pour rallonge) .................................................. x1
e
RCA cable (5m)/Câble RCA (5m) ............................................................ x1
r
Amplifier mounting screw/Vis de montage de l’amplificateur .................................... x4
t
Amplifier/Amplificateur ................................................................................. x1
y
Fuse (15A)/Fusible (15A) ................................................................................ x1
Contents/Contenu
Speaker mounting/Montage de l’enceinte
Wire Connection/Connexion des câbles
Note: When using an extension cable (battery
cable
w
) for battery power supply, always
connect the fuse box, etc. after the fuse.
Remarque: Lorsque vous utilisez un câble de
rallonge (câble de batterie
w
) pour une
alimentation par batterie, branchez
toujours le fusible avant le boîtier du
fusible et le reste.
Speaker Cable (Black) (+)/
Câble d’enceinte (Noir) (+)
Speaker Cable (extension)/
Câble d’enceinte (rallonge)
PXA-H510
(Optional/En option)
Remote out Cable
(Blue/White)/
Câble de sortie
de télécommande
(Bleu/Blanc)
Remote Cable (extension)/
Câble de télécommande (rallonge)
Battery Power Supply Cable(Yellow)/
Câble d’alimentation de la batterie (Jaune)
Built-in amplifier/
Amplificateur intégré
GND Cable/
Câble de terre
Remote on Cable (Blue/
White)/Câble de mise en
tension télécommandée
(Bleu/Blanc)
Speaker Cable Black (+)/
Câble d’enceinte (Noir) (+)
To chassis/Au chassis
(15A)
Amplifier mounting/Montage de l’amplificateur
Mounting method with spacer
22
22
2
used/
Méthode de montage en utilisant la pièce d’écartement
22
22
2
● Assemble the units temporarily and confirm the
mounting position.
Notes:
• Determine the mounting position at near center of
the vehicle but free from disturbance of the driving.
• Mount the unit in a horizontal location as could as
possible. (Unevenness of the mounting location
can be adjusted in a few degrees with the plate
3
.)
• Peeling off the plate
3
may damage the surface,
so before peeling off the back paper of the plate
3
,
always determine the mounting position.
• Mount the speaker so that its bottom surface
parallels the floor (ground).
• When the dashboard has an angle, mount the
speaker so that its bottom surface parallels the
floor (ground) by using the spacer
2
.
● Mount the speaker on the dashboard.
Notes:
• Fix the plate
3
with the screw (ø5x16)
6
and
speed nut
7
.
• Clean the mounting surface with cleaner
9
, and
put on the plate after the surface is dried completely.
(Water component of the cleaner
9
will lower
effect of both sided adhesive tape.)
• Warm the mounting surface with a hair dryer, etc.
and then put on the plate
3
.
• Do not apply humidity, force, etc. on the plate
within 24 hours, if applied, the adhesive power of
the tape may be lower.
With this method used, speaker angle can be ad-
justed.
1 Assemble the speaker unit
1
and spacer
2
by
using the screw (M4x8)
4
.
2 Assemble the spacer
2
and plate
3
by using the
screw (ø3x5)
5
.
3 Peel off the back paper of the plate
3
and put the
plate on the dashboard.
4 Fix with screw (ø5x16)
6
and speed nut
7
.
1
2
3
4
5
6
7
Dash board/
Tableau de bord
Peel off the back paper./
Retirer le papier au dos.
Amplifier mounting screws/
Vis de montage de l’amplificateur
Vehicle floor/
Sol du véhicule
Amplifier mounting
Mount the amplifier under the passenger seat or in the
trunk room, etc.
Warning: Do not contact, damage or obstruct pipes,
fluid lines or wiring when drilling holes.
● Assemblez provisoirement l’enceinte et véri-
fier la réussite de l’assemblage.
Remarques:
• Déterminez l’emplacement de montage dans une
partie centrale du véhicule mais sans que cela
puisse gêner la conduite.
• Installez l’assemblage à un endroit aussi plat que
possible (les irrégularités du sol peuvent être un
peu compensées grâce au plateau
3
).
• Le déballage du plateau
3
peut endommager sa
surface, donc avant de retirer l’emballage au dos
du plateau
3
, déterminez toujours la position d’as-
semblage auparavant.
• Montez l’enceinte de sorte que sa surface inférieur
est parallèle au sol (terre).
• Si le tableau de bord a un angle, montez l’enceinte
de sorte que sa surface inférieur est parallèle au sol
(terre) à l’aide d’une pièce d’écartement
2
.
● Montez l’enceinte sur le tableau de bord.
Remarques:
• Fixez le plateau
3
avec la vis ø5x16
6
et l’écrou
de vitesse
7
.
• Nettoyer la surface d’assemblage avec le nettoyant
9
, et positionnez le plateau après que la surface
soit complètement sèche. (La composition du net-
toyant à base d’eau
9
va diminuer la prise du
scotch double-face).
• Chauffez la surface d’assemblage avec un sèche-
cheveux... etc, puis placez le plateau
3
.
• Ne soumettez pas le plateau à de l’humidité et ne
forcez pas dessus pendant 24 heures, pour éviter
de diminuer la prise de la bande adhésive.
Montage de l’amplificateur
Montez l’amplificateur sous le siège du passager,
dans le coffre du véhicule, etc.
Avis:Ne pas toucher, endommager ou boucher les
tuyaux, conduites ou câbles lorsque vous
percez des trous.
Lorsque cette méthode est utilisée, l’orientation
de l’enceinte peut être réglée.
1 Assemblez l’enceinte
1
à la pièce d’écartement
2
avec la vis (M4x8)
4
.
2 Fixer la pièce d’écartement
2
au plateau
3
avec
la vis (ø3x5)
5
.
3 Retirer le papier au dos du plateau
3
et mettez
le plateau sur le tableau de bord.
4 Fixez-le avec la vis (ø5x16)
6
et l’écrou de
vitesse
7
.
Mounting method with no spacer
22
22
2
used/
Méthode de montage sans utiliser la pièce d’écartement
22
22
2
1
5
6
7
3
Peel off the back paper./
Retirer le papier au dos
Dash board/
Tableau de bord
1 Assemble the speaker unit
1
and plate
3
by
using the screw (ø3x5)
5
.
2 Peel off the back paper of the plate
3
and put the
plate on the dashboard.
3 Fix with the screw (ø5x16)
6
and speed nut
7
.
1 Assemblez l’enceinte
1
au plateau
3
avec la vis
(ø3x5)
5
.
2 Retirer le papier au dos du plateau
3
et mettez
le plateau sur le tableau de bord.
3 Fixez-le avec la vis (ø5x16)
6
et l’écrou de
vitesse
7
.
Speaker Cable (Black/White) (–)/
Câble d’enceinte (Noir/Blanc) (–)
RCA Cable/Câble RCA
Speaker Cable (Black/White) (–)/
Câble d’enceinte (Noir/Blanc)) (–)
8
q
CENTER
Produktspecifikationer
Varumärke: | Alpine |
Kategori: | ej kategoriserat |
Modell: | SBS-0515 |
Behöver du hjälp?
Om du behöver hjälp med Alpine SBS-0515 ställ en fråga nedan och andra användare kommer att svara dig
ej kategoriserat Alpine Manualer
1 Oktober 2025
1 Oktober 2025
1 Oktober 2025
30 September 2025
30 September 2025
30 September 2025
30 September 2025
30 September 2025
30 September 2025
30 September 2025
ej kategoriserat Manualer
- Bryton
- Botex
- CME
- Nintendo
- Turbotronic
- ECS
- Intermatic
- MKC power
- V-Tone
- Natec
- Fun Generation
- Krüger&Matz
- Akaso
- Vello
- Smeg
Nyaste ej kategoriserat Manualer
3 Oktober 2025
3 Oktober 2025
3 Oktober 2025
3 Oktober 2025
3 Oktober 2025
3 Oktober 2025
3 Oktober 2025
3 Oktober 2025
3 Oktober 2025
3 Oktober 2025