Berker 80144329 Bruksanvisning
Berker
Inte kategoriserad
80144329
Läs gratis den bruksanvisning för Berker 80144329 (2 sidor) i kategorin Inte kategoriserad. Guiden har ansetts hjälpsam av 5 personer och har ett genomsnittsbetyg på 4.9 stjärnor baserat på 3 recensioner. Har du en fråga om Berker 80144329 eller vill du ställa frågor till andra användare av produkten? Ställ en fråga
Sida 1/2

z
}
01
Berker GmbH & Co. KG - Zum Gunterstal - 66440 Blieskastel, Germany
8016 17 xx, 8014 13 xx
KNX push-button 1gang with labelling
field and LED
8016 27 xx, 8014 23 xx
KNX push-button 2gang with labelling
field and LED
8016 37 xx, 8014 33 xx
KNX push-button 3gang with labelling
field and LED
8016 47 xx, 8014 43 xx
KNX push-button 4gang with labelling
field and LED
801x 1x xx
Push-button
6LE000455C
Systemlink start-up
The function of the device is software-de-
pendent. The software is to be taken from
the product database. You can find the latest
version of the product database, technical
descriptions as well as conversion and addi-
tional support programmes on our website.
Easylink start-up
The function of the device is configuration-de-
pendent. The configuration can also be done
using devices developed specially for simple
setting and start-up.
This type of configuration is only possible
with devices of the easylink system. Easylink
stands for easy, visually supported start-up.
Preconfigured standard functions are
assigned to the in/outputs by means of a ser-
vice module.
Correct use
− Operation of consumers, e.g. light on/
o, dimming, blind up/down, saving and
opening light scenes, etc.
− Installation on bus application unit,
flush-mounted
Product characteristics
− Start-up and programming in S-mode
and E-mode
− Push-button functions: switching/
dimming, blind control, value transmitter,
scene call-up, specification of the heating
operating mode, forced control, stepping
switch
− Two status LEDs per push-button
− Function and colour of the status LEDs
configurable for the device
− A white operation LED
Operation
The functions of the buttons, their opera-
tion and the activation of the loads can be
adjusted individuallay for each device.
There are two operating modes:
− Single-surface operation:
Switching lighting on/o or dimming
brighter/darker is carried out alternately
by repeated touching a button.
− Two-surface operation:
Two adjacent buttons form a function
pair. For example, touching the left-hand
surface switches/dims lighting on/makes
it brighter, touching the right-hand surface
switches it o/makes it darker.
Operating a function or load
Loads, such as lighting, blinds, etc., are
operated using the touch surfaces, which are
dependent on the device programming.
•
Press a button.
The stored function is executed.
Safety instructions
Electrical equipment may only be installed
and assembled by a qualified electrician.
Always follow the relevant accident pre-
vention regulations of the country.
Failure to comply with these installation
instructions may result in damage to the
device, fire or other hazards.
When installing and laying cables, always
comply with the applicable regulations
and standards for SELV electrical circuits.
These instructions are an integral component
of the product and must be retained by the
end user.
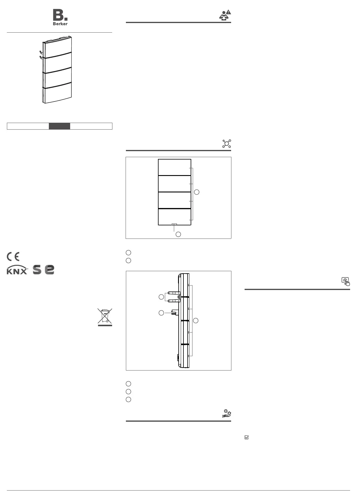
Design and layout of the
device
2
1
Figure 1: Front view of push-button 4gang
1
Operation LED
2
Buttons (number dependent on the variant)
3
5
4
Figure 2: Side view of push-button 4gang
3
Status LED
4
Fastening clamps
5
User interface (AST)
Function
System information
This device is a product of KNX system and
corresponds to the KNX guidelines. Detailed
specialised knowledge obtained from KNX
training courses is required for understand-
ing. The planning, installation and com-
missioning are carried out with the help of
KNX-certified software.
Correct Disposal of This product
(Waste Electrical & Electronic
Equipment).
(Applicable in the European Union and
other European countries with separate
collection systems).
This marking shown on the product or its
literature indicates that it hould not be dispo-
sed with other household wasted at the end
of its working life. To prevent possible harm
to the environment or human health from
uncontrolled waste disposal, please separate
this from other types of wastes and recycle it
responsibly to promote the sustainable reuse
of material resources.
Household users should contact either the
retailer where they purchased this product,
or their local government oce, for details
of where and how they can take this item for
environmentally safe recycling.
Business users should contact their supplier
and check the terms and conditions of the
purchase contract. This product should not
be mixed with other commercial wastes of
disposal.
Produktspecifikationer
| Varumärke: | Berker |
| Kategori: | Inte kategoriserad |
| Modell: | 80144329 |
| Bildsensortyp: | Temperatursensor |
| Modell: | Inbyggd |
| Uteffekt: | 150 mW |
| Temperatur mätenheter: | °C |
| Ändamål: | inomhus |
| Mätintervall för temperatur: | -5 - 45 ° C |
Behöver du hjälp?
Om du behöver hjälp med Berker 80144329 ställ en fråga nedan och andra användare kommer att svara dig
Inte kategoriserad Berker Manualer
30 December 2025
30 December 2025
30 December 2025
17 December 2024
17 December 2024
17 December 2024
17 December 2024
17 September 2024
17 September 2024
8 September 2024
Inte kategoriserad Manualer
- Taco Tuesday
- Kaiser Nienhaus
- Ruark Audio
- Baby Cakes
- Consul
- Hitachi
- DARTS
- IBEAM
- Argon
- Lowel
- SBS
- NodOn
- Cleco
- AYA
- CTOUCH
Nyaste Inte kategoriserad Manualer
9 April 2025
9 April 2025
9 April 2025
9 April 2025
9 April 2025
9 April 2025
9 April 2025
9 April 2025
9 April 2025
9 April 2025