Hoover HIFD440BC Bruksanvisning
Läs gratis den bruksanvisning för Hoover HIFD440BC (65 sidor) i kategorin Spis. Guiden har ansetts hjälpsam av 12 personer och har ett genomsnittsbetyg på 5.0 stjärnor baserat på 6.5 recensioner. Har du en fråga om Hoover HIFD440BC eller vill du ställa frågor till andra användare av produkten? Ställ en fråga
Sida 1/65

HOOVER • Via Privata Eden Fumagalli • 20861 Brugherio (MB) Italy.
'5
Manual de instrucciones para encimera de inducción
)$
Instruction Manual For Induction Hob
(4
Table De Cuisson Induction
+6
Manuale di istruzioni per piano cottura a induzione
2.
Instrukcja uĪytkowania indukcyjnej páyty
grzejnej
%<
Návod k použití pro indukþní varnou desku
5+
þ
Navodila za uporabo indukcijskih kuhalnih
ploš
MODEL : HIFD440BC

LSXWfk KW_[`V[`Y S`V GS[`fW`S`UW=
1 GB
WARNING: The appliance and its accessible parts become hot
during use. Care should be taken to avoid touching heating
elements.
Children under 8 Year of age must be kept away from the
appliance unless they are continuously supervised.
This appliance can be used by children aged from 8 years and
above and persons with reduced physical, sensory or mental
capabilities or lack of experience and knowledge if they have
been given supervision or instruction concerning use of the
appliance in a safe way and understand the hazards involved.
Children must not play with the appliance.
Cleaning and user maintenance shall not be made by children
without supervision
WARNING: Unattended cooking on a hob with fat or oil can be
dangerous and may result in fire.
NEVER try to extinguish a fire with water, but switch off the
appliance and then cover flame e.g. with a lid or a fire blanket.
WARNING: Danger of fire: do not store items on the cooking
surfaces.
WARNING: If the surface is cracked, switch off the appliance to
avoid the possibility of electric shock.
Do not use a steam cleaner for cleaning operations
By placing the CE mark on this product, we are
confirming compliance to all relevant European safety, health
and environmental requirements which are applicable in
legislation for this product.

LSXWfk KW_[`V[`Y S`V GS[`fW`S`UW=
2 GB
The hob surface must be allowed to cool down before closin
g
the lid.
After use, switch off the hob element by its control. Do not
rely on the pan detector.
This appliance is not intended to be operated by means of an
external timer or separate remote - control system.
The means for disconnection must be incorporated in the fixed
wiring in accordance with the wiring rules.
The instructions state the type of cord to be used, taking into
account the temperature of the rear surface of the appliance.
If the supply cord is damaged, it must be replaced by the
manufacturer, its service agent or similarly qualified persons in
order to avoid a hazard.
CAUTION: In order to avoid a hazard due to inadvertent
resetting of the thermal cutout, this appliance must not be
supplied through an external switching device, such as a timer,
or connected to a circuit that is regularly switched on and off
by the utility.
Warning: this appliance complies with current safety regulations
and electromagnetic compatibility regulations. Nevertheless,
people
with a pacemaker should not use this appliance. It is impossible to
guarantee that all such devices found on the market
comply with current
safety regulati
ons and electromagnetic compatibility regulations, and that
dangerous interference will not
occur. It is also possible that people with
other types of device, such as a hearing aid, could experience some
discomfort.
Metallic objects such as knives, forks, spoons and sauce pan
lids must not be placed on the hob surface as they can get hot.
Any spillage should be removed from the lid before opening.

3 GB
READ THE INSTRUCTIONS BOOKLET CAREFULLY TO MAKE THE MOST OF YOUR HOB.
We recommend you keep the instructions for installation and use for later reference, and before installing the hob, note its serial number
below in case you need to get help from the after sales service.
We are constantly striving to improve product quality and as such may modify appliances to incorporate the latest technical improvements.
Inducti
on hobs conform to European Directives 73/23/CEE and 89/336/CEE, replaced by 2006/95/EC and 2004/108/EC,
and subsequent amendments.
Identification plate
(located under the hob's bottom casing)
GENERAL WARNINGS
560 X 490
590 X 520 X 55
220-240V~ 50/60 Hz
d X w X h
400V 50/60Hz
4 INDUCTION
7200
HIFD440BC

Installing a domestic appliance can be a complicated operation which if not carried out correctly, can seriously affect consumer
safety. It is for this reason that the task should be undertaken by a professionally qualified person who will carry it out in
accordance with the technical regulations in force. In the event that this advice is ignored and the installation is carried out
by an unqualified person, the manufacturer declines all responsibility for any technical failure of the product whether or not
it results in damage to goods or injury to individuals.
4 GB
BUILT-IN
The furniture in which your hob will be installed and all adjacent
furniture, should be made from materials that can withstand high
temperatures. In addition, all decorative laminates should be fixed
with heat-resistant glue.
Installation:
¥A watertight seal
is supplied with the hob.
Before fitting:
- turn the hob upside down, with the glass surface facing downwards.
Make sure the glass is protected.
- fit the seal round the hob.
-make sure that it is correctly fitted to avoid any leakage into the
supporting cabinet.
• It it important to fit the hob on a level supporting surface.
• Deformations caused by incorrect fitting can alter the specifications
of the worktop and the performance of the hob.
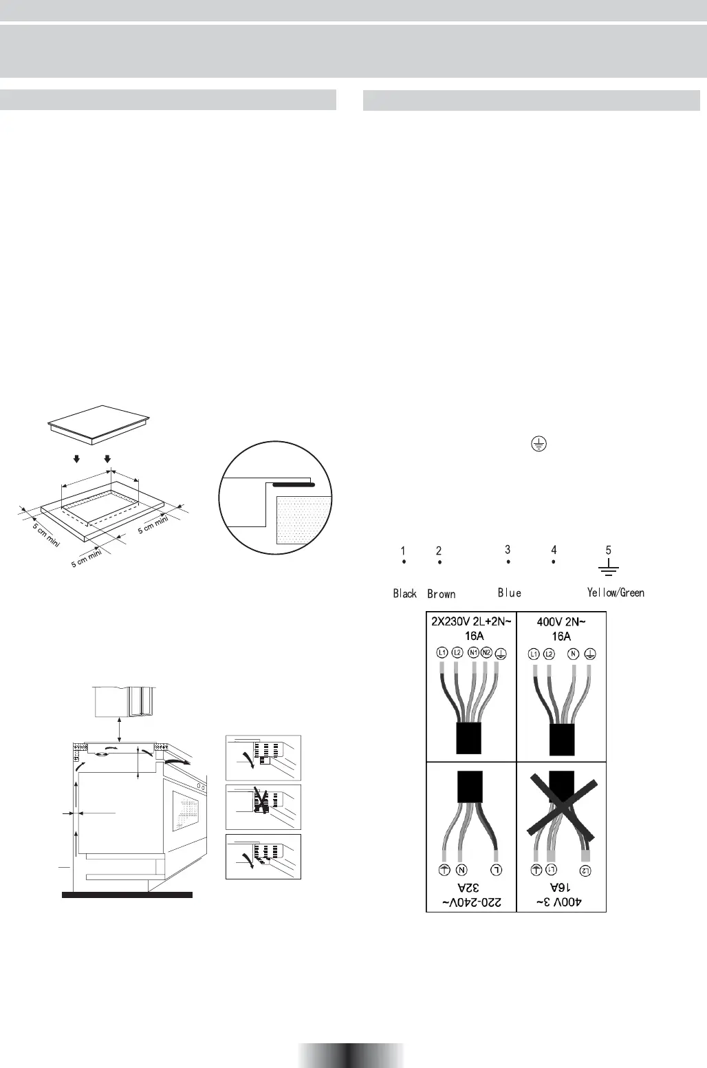
• Leave a gap of at least 5 cm between the appliance and any
neighbouring vertical surfaces.
• It is absolutely essential that the recess conforms with the
dimensions indicated.
•You can not build the hob in above an oven with no fan, a
dishwasher, fridge, freezer or washing machine.
INSTALLATION
• The yellow/green wire of the power supply cable must be
connected to the earth of both power supply and appliance
terminals.
• The manufacturer cannot be held responsible for any accidents
resulting from the use of an a ppliance which is not connected
to earth, or with a faulty earth connection continuity.
• Any queries regarding the power supply cord should be referred
to After Sales Service or a qualified technician.
"The installation must conform to the standard directives."
The manufacturer declines all responsibility for any damage that
may be caused by unsuitable or unreasonable use.
Warning :
• Always check before any electrical operation, the supply tension
shown on the electr
icity meter, the adjustment of the circuit-
breaker, the continuity of the connection to earth to the installation
and that the fuse is suitable.
• The electrical connection to the installation should be made via
a socket with a plug with earth, or via an omnipole cut-out switch
with an opening gap of at lea
st 3 mm.
If the appliance has a socket outlet, it must be insta lled so that
the socket outlet is accessible.
ELECTRICAL CONNECTION
• Cut a hole in the worktop of the dimension shown in the
diagram below.A minimum of 50 mm space should be left
around the hole.
• The worktop should be at least 30 mm thick and made of
heat-resistant material.As shown in the Figure(1)
• It is essential that the induction hob i s well ventilated and
that the air intake and exit are not blocked.
Make sure the hob is correctly installed as shown in Figure(2)
JIKI D HJ
JIKI D JJ
JIKI B HJ
A`i `ekXb\
A`i \o`k
NB: For safety, the gap between the hob and any cupboard
above it should be at least 760mm.
Connection to power supply
The socket shall be connected in compliance with the relevant
standard, to a single-pole circuit breaker. The method of
connection is shown in Figure(3):
Seal
Grey
The cable must not be bent or compressed.
be carried out the by sale agent with dedicated tools to avoid
any accident.
• If the cable is damaged or to be replaced, the operation must
L1 L2
N1 N2
56 cm
49 cm
+0.4
+0.1
+0.4
+0.1

5 GB
INDUCTION
USE PROCEDURE
An electronic generator powers a coil located inside the appliance.
This coil creates a magnetic field, so that when the pan is placed
on the hob, it is permeated by the induction currents.
These currents make the pan into a real heat transmitter,
while the glass ceramic hob remains cold.
This system is designed for use with magnetic-bottomed
pans.
Put simply, induction technology has two main advantages :
- as heat is emitted only by the pan, heat is maintained at its
maximum level and cooking takes place without any heat loss.
- There is no thermal inertia, as cooking automatically starts when
the pan is placed on the hob and stops when it is removed.
• Protection from over-Temperature
A sensor monitors the temperature in the cooki ng zones.
Control unit
The following information will help you select the pans best adapted
to obtain good results.
HOB COOKWARE ADVICE
• Always use good quality cookware with perfectly flat and
thick bases : using this type of cookware will prevent hot spots
that cause food to stick. Thick metal pots and pans will provide
an even distribution of heat.
• Ensure that the base of the pot or pan is dry : when filling
pans with liquid or using one that has been stored in the
refrigerator, ensure that the base of the pan is completely dry
before placing it on the hob. This will help to a
void staining the hob.
Using good quality cookware is critical for setting the best
performance from your hob.
When the temperature exceeds a safe level.the cooking zone
is automatically switched off.
• Residual heat warning
When the hob has been operating for some time,there will be
away from it.
• Auto shutdown
Another safety feature of the induction hob is auto shutdown.
This occurs whenever you forget to switch off a cooking zone.
The default shutdown times are shown in the table below.
When the pan is removed from the cooking zone, it stops
heating immediately and switches itself off after the buzzer
sounded for one minute.
some residual heat.The letter"H"appears to warn you to keep
A HIGH SAFETY APPLIANCE
the guidance of the doctor.
RE
shall use this product underThe patient with a heart pace
ND:
maker
MI
LTYV^ReZT UZRXcR^ `W eYV T`_ec`]aR_V]
• Use pans whose diameter is as large as the graphic of
the zone selected.
Using a pot a slightly wider energy will be
used at its maximum efficiency.If you use smaller pot efficiency
could be less than expected.Pot less than 140 mm could be
undetected by the hob.
Oem[h b[l[b
R^[ ^[Wj_d] ped[ i^kjZemd
WkjecWj_YWbbo W\j[h
6q:
;q65
66q69
=^ekhi
9^ekhi
7^ekhi
6:
6^ekhi
1. Power regular key
2. Timer regular key
5. Memory
3. Booster
4. Special function
6. Lock
7. On/Off
1
1
388567
4
2
8.
Flexible Area activation

E`efdgUf[a`e XadNeW
U^[d j^[ fem[h _iim_jY^[Z ed1 j^[ Xkpp[h m_bb
Operating instructions
--
Boost function
Warning:
2. The boost function works on all cooking zones.
Cancelling the "BOOST" mode
1.Press the " " key, all the indicators show "--".
Press the“ " key, the power level indicator showing " "
4 GB
iekdZ edY[
WdZ Wbb j^[ _dZ_YWjehi m_bb Yec[ ed
\eh ed[ i[YedZ WdZ j^[d
]eekj3 R^[ ^eX _i dem
_d ijWdZXo ceZ[3
ObWY[ j^[ fWd _d
j^[
Y[djh[ e\ j^[ Yeea_d] ped[3
Select the power level by pressing the "+" or "-" key for the
relevant hotplate. To begin with the indicator shows" "or " "
by pressing the "+" or "-" key. Adjust up or down by pressing
the "+" or "-" key.
If you press the "+" and "-" keys simultaneously, the power
setting returns to" "and the cooking zone switches off.
NB : When the " " key is pressed, the induction hob returns
to standby mode if no other operation is carried out
within 1 minute.
1. The boost function only operates for 5 minutes, after which
the cooking zone will revert to its original setting.
Cancel the "Boost" mode by pressing the "+" or "-" key of the
corresponding zone.
Press the "+" key once increases the time by one minute ;
hold down the "+" key increases the time by 10 minutes ;
Press the "-" key once decreases the time by one minute ;
hold down the "-" key decreases the time by 10 minutes ;
If the timer is set on more than 1 zone:
Note:
1. When the timer is 0 minute, the timer is cancelled.
You can set the power level during the timer mode.
:
then press the " + " or " - " timer key power
level indicator flashing and showing " " and the timer
indicator flashes
To begin with the indicator shows" ",set the time by
pressing the "+" or "-" key. After setting the time, you can
select the power level of the cooking zone.
Then set the time for between 1 minute and 9 hours 59
minutes by pressing the "+" or "-" key.
When the time exceeds 1 hour, hold down the "+" key
increases the time by 30 minutes .
When the time exceeds 2 hours, hold down the "-" key
decreases the time by 30 minutes .
Timer can be set on all 4 cooking zones. When you set the
time for several cooking zones simultaneously, decimal
dots of the relevant cooking zones are on.
on the timer display will be shown the timer than will expire
first. The dot of the corresponding zone will be on but
flashing.Once the countdown timer expires the
corresponding zone will be switch off. Then it will be shown
the new first expiring timer and the corresponding zone will
have the dot flashing.
If the timer is set but not active on any zone, it will work
simply as timer countdown.
2. When time elapses, the relevant cooking zone is switched
off.
3. After setting the timer, the timing indicator has been flashing
for 5 seconds, the set time will be automatically confirmed.
6 GB
If more than 1 zone is switched on :
Timer function
activate the selected zone by pushing "+" or "-" key of that
zone,the corresponding digits will be flashing.
4. In timer mode, pressing the "+" or "-" key of the timer
simultaneously, timer setting returns to"0", time is cancelled.
*Under normal working mode, at any power levels, the
maximum total power of zone #1 and #2 is not higher than
3000W.
*Under normal working mode, at any power levels, the
maximum total power of zone #3 and #4 is not higher than
3000W.

E`efdgUf[a`e XadNeW
7 GB
Safety mode
Special function
SIMMERING key
MEDIUM key
HIGH key
(level 1)
(level 8)
(level 15)
Ativate the selected zone by pushing "+" or "-".
SUHVVWKH6,00(5,1*NH\WKHLQGLFDWRUZLOOEHVKRZ³´
SUHVVWKH0(',80NH\WKHLQGLFDWRUZLOOEHVKRZ³´
SUHVVWKH+,*+NH\WKHLQGLFDWRUZLOOEHVKRZ³´
Unlock:
Lock:
To ensure the safety of children, the induction hob is fitted with
an interlock device.
In working mode, press the " " key, the hob then goes
into the lock mode, timer will display " " and the
rest of the keys are disabled except the " " key.
In standby mode, press the "lock" key, the hob then goes
into the lock mode, the timer shows" " and the rest
of the keys are disabled.The timer shows" " for a
while and then goes out.
If you press the key, " " will be displayed for a
while.
Hold down the"Lock" key for 3 second, and the lock
function will be deactivate.
Stop recording
OR
Press again the memory key, " " will be no more
display on the timer display and the cooking cycle will be
stored
Switch off the corresponding cooking zone by pressing
"+" and "-" simultaneously or by setting the power level
to , " " will be no more display on the timer
display and the cooking cycle will be stored.
OR
OR
Remove the pan from the corresponding cooking zone.
When the zone detects missing pan,then " " will
be no more display on the timer display and the cooking
cycle will be stored
Do more than 10 power level setting variations, " "
will be no more display on
Memory function
You can use the memory function to store the power level
settings and duration for one zone.
OR
switch off the hob,in that case the recording of the
cooking cycle is automatically aborted.
Recording
OR
VZLWFKRIIWKHDUHFRUGHGFRRNLQJ]RQHEHIRUH
VHFRQGVLQFHWKHVWDUWLQJRIWKHUHFRUGLQJLQWKDWFDVH
WKHUHFRUGLQJRIWKHFRRNLQJF\FOHLVDXWRPDWLFDOO\
DERUWHG
" ".
press the" " key, with the timer indictor showing " ",
" "means "no cooking cycle in memory". hold down the
memory key for 3 seconds, with the timer indicator show
Select the desired cooking zone by pressing the "+" or "-"
key, with the power level indicator of that zone flashing,
the power level indicator showing " " and power level
alternately.
recording is started.

E`efdgUf[a`e XadNeW
Execute a recorded cooking cycle
Press the memory key, the timer indicator displays
" ",wait for 5 seconds, then
displays" ". The
zone corresponding at the recorded cooking cycle
will switch on and starts performing the cycle.
If the corresponding zone was already on, the
recorded cooking cycle will take the priority and
be performed.
,IGXULQJWKHH[HFXWLRQRIDUHFRUGHGFRRNLQJF\FOH
RQWKHFRUUHVSRQGLQJ]RQH³´RU³´NH\WKH
UHFRUGHGFRRNLQJF\FOHLVDERUWHGDQGQRUPDO
PDQDJLQJLVUHVWRUHGDQ\ZD\WKHVWRUHGFRRNLQJ
F\FOHLVNHSWLQPHPRU\
How to record one new cooking cycle
if we have already recorded one:
Heating
Zone
The maximum power of cooking zones is
as follows:
R^[ WXel[ cWo lWhoej^[ i_p[
e\
j^[
fWd WdZ
j^[ cWj[h_Wb _j _i cWZ[ \hec
8 GB
WYYehZ_d] j
FLEXIBLE AREA
This area can be used as a single zone or as two different
zones, accordingly to the cooking needs anytime.
Flexible area is made of two independent inductors that can
be controlled separately. When working as a single zone,
the part that is not covered by cookware is automatically
switched off after one minute.
- Anywhere with bigger cookware
To grant a correct pan detection and a even heat distribution,
the cookware should be correctly placed:
- In the front or rear side of the flexible zone when the
cookware is smaller than 22 cm
As big zone
To activate the flexible area as a single big zone, simply press
the dedicated keys.
The power setting works as any other normal area.
If the pot is moved from the front to the rear part (or viceversa),
the flexible area detects automatically the new position,
keeping the same power.
As two independent zones
To use the flexible area as two different zones with different
power settings, press the dedicated keys.
6
7
8
Beeij
MehcWb
Flexible
Area
9
A led will turn on to indicate the flexible area has been
activated
If the flexible area is on, press the dedicated key to turn it off,
before using as two different zone
Note: It is recommended that the cooker hood suction is switched
on few minutes prior to
cooking and switched off few
minutes after terminating cooking.
Activate the cooking zone we want to record by
pressing"+" or "-", the recording of
Hold down the" " key for a while,and the " "
will appear. " " means "cooking zone stored in
memory".
Then the" " will be displayed,
the cycle on the selected zone starts.
1800
3000
3000
4000
3000
1800
3000
1800
1800
3000

PROBLEM SOLVING
The induction hob gives shorings out.
• Normal. The cooki ng fan of the electronic components is on.
The induction hob gives a light whistling out.
• Normal. According to the working frequency of the inductors, a
light whistling can occur when using several cooki ng zones on
maximum power.
Cooking zones that do not maintain a rolling boil or a fast
enough frying rate.
• You must use pans which are absolutely flat.
• Pan bottoms should closely match the diameter of the heat zone
selected.
This a
ppliance is marked according to the
European directive 2012/19/EU on Waste
Electrical and Electronic Equipment (WEEE).
By ensuring this product is disposed of correctly,
you will help prevent potential negative
consequences for the environment and human
health, which could otherwise be caused by
inappropriate wa ste handling of this product.
The symbol on the product i
ndicates that this
product may not be treated as household waste.
Instead it shall be handed over to the applicable collection point
for the recycling of electrica l and electronic equipment
Disposal must be carried out in accordance with local
environmental regulations for waste disposal.
For more detailed inform
ation about treatment, recovery and
recycling of this product, please contact your local city office,
your household waste disposa l service or the shop where you
purchased the product.
9 GB
AFTERCARE
Before calling out a Service Engineer please check the
following:
— that the plug is correctly inserted and fused;
If the fault cannot be identified:
switch off the appliance — do not tamper with it — call the Aftercare
Service Centre. The appliance is supplied with a guarantee
certificate that ensures that it will be repaired free of charge at the
Service Centre.
If there are still some stubborn stains:
-Place a few more drops of specialised cleaning fluid on the
surface.
- Scrape with a scraper, holding it at an angle of 30° to the hob,
until the stains disappear.
-Wipe with a soft cloth or dry kitchen paper until the surface is
clean.
- Repeat the operation if necessary.
A FEW HINTS:
Frequent cleaning leaves a protective layer which is essential to
prevent scratches and wear. Make sure that the surface is clean
before using the hob again. To remove marks left by water, use
a few drops of white vinegar or lemon juice. Then wipe with
absorbent paper and a few drops of specialised cleaning fluid.
The glass ceramic surface wi ll withstand scraping from flat-
bottomed cooking vessels, however, it is always better to lift them
when moving them from one zone to another.
NB:
Do not use a sponge which is too wet.
Never use a knife or a screwdriver.
A scraper with a razor blade will not damage the surface, as
long as it is kept at an angle of 30°.
Never leave a scraper with a razor blade within the reach of
children.
Never use abrasive products or scouring powders.
30° Maxi
• Before carrying ou t any maintenance work on the hob, allow it
to cool down.
• Only products, (creams and scrapers) speci fically designed for
glass ceramic surfaces should be used. They are obtainable
from hardware stores.
• Avoid spillages, as anything which falls on to the hob surface
will quickly burn and will ma
ke cleaning more difficult.
• It is advisable to keep away from the hob all substances which
are liable to melt, such as plastic items, sugar, or sugar-based
products.
MAINTENANCE:
- Place a few drops of the specialised cleaning product on the
hob surface.
-Rub any stubborn stains with a soft cloth or with slightly damp
kitchen paper.
-Wipe with a soft cloth or dry kitchen paper until the surface is
clean.
CLEANING AND MAINTENANCE
Foods cook slowly.
• Improper cookware being used. Pan bases should be flat, fairly
heavy-weight and the same diameter as the heat zone selected.
Tiny scratches (may appear as cracks or abrasions) on the
glass surface of the hob.
• Incorrect cleaning methods, cookware with rough ba ses, or
coarse particles (sa lt or sand) trapped between the cookware
and the surface of the hob.
Use recommended cleaning procedures, be sure cookware
bases are clean before use and use cookware wi
th smooth
bases.
Metal markings (may appear as scratches).
• Do not slide aluminium cookware across the surface.
Use recommended cleaning procedu re to remove marks.
• Incorrect cleaning materials have been used, spillage or grease
stains remain on the surface, use a razor scraper and
recommended cleaning product.
Dark streaks or specks.
• Use a razor scraper and recommended cleaning product
.
Areas of discoloration on cooktop.
• Marks from a luminium and copper pans as well as mineral
deposits from water or food can be removed with the cleaning
cream.
Hot sugar mixtures / plastic melted to the surface.
• See the Glass Hob Cleaning section.
The hob is out of order, or some heat zones do not work.
• The shunt bars are not properly fitted on the termina l block.
Check the connection is made in conformity with the instructions
page 2.
The hob does not operate.
• The control panel is locked
. Press the “Locking” button to release.
The hob does not cut off
• The control panel is locked. Press the “Locking” button to release.
Refer to the section, page 5.
The hob stops automatically
• The cooking zones stop automatically if they are left on for too
long. Refer to the section, page 3.
Frequency of on/off operations for cooking zones
• The on-off cycles vary according to the required heat level:
- low level: short operating time,
- high level: long operating time.

LoUgd[fo Wf W`fdWf[W`
10 FR
AVERTISSEMENT: L'appareil et les parties accessibles
deviennent chauds pendant l'utilisation. Des précautions
doivent être prises pour éviter de toucher les éléments
chauffants.
Les enfants de moins de 8 ans doivent être tenus à l'écart à
moins d'être surveillés continuellement.
Cet appareil n'est pas destiné à être utilisé par des personnes
(y compris les enfants) dont les capacités physiques,
sensorielles ou mentales sont réduites, ou ayant un manque
d'expérience et de connaissances, à moins qu'elles n'aient été
formées à l'utilisation de l'appareil, par une personne
responsable de leur sécurité.
Les enfants ne doivent jouer avec l'appareil.
Le nettoyage et l'entretien par l'utilisateur ne doit pas être fait
par des enfants sans surveillance
.
ATTENTION: La cuisson sans surveillance sur une plaque de
cuisson avec de la graisse ou d'huile peut être dangereuse et
peut entraîner un incendie.
Ne jamais tenter d'éteindre un incendie avec de l'eau, mais
éteindre l'appareil, puis couvrir la flamme par exemple avec un
couvercle ou une couverture anti
- feu.
AVERTISSEMENT: Danger d'incendie: ne pas stocker des
éléments sur les surfaces de cuisson.
Ne pas utiliser de nettoyants vapeur pour le nettoyage.
éviter les risques de choc électrique.
ATTENTION: Si la surface est fêlée, éteindre l'appareil po ur
Al mostrar el logo CE marcado en este producto,
declaramos, bajo nuestra propia responsabilidad, el cumplimiento
de todos los requisitos europeos en términos de seguridad, salud
y medio ambiente, establecidos en la legislación de este
producto.

LoUgd[fo Wf W`fdWf[W`
11 FR
table de cuisson car ils peuventdevenir chaudes.
Tout liquide doivent être enlevé du couvercle avant ouverture.
Il est recommandé de laisser refroidir la table de cuisson avant
de refermer le couvercle.
Après utilisation, éteignez le foyer via le control de la table and
ne posez rien sur le détecteur de casseroles.
l'appareil n'est pas destiné à être utiliser avec une minuterie
externe ou un système de contrôle à distance.
Un système de déconnexion doit être incorporé dans le
compteur conformément aux règles de câblage.
Les instructions ndiquent le type de cordon à utiliser, en tenant
compte de la température de la surface arrière de l'appareil.
Si le cordon d'alimentation est endommagé, il doit être
remplacé par le fabricant, une station de dépannage agrées ou
une personne qualifiée afin d'éviter un danger.
Attention:
auditifs.
cet appareil répond à la directive en matière de sécurité
et de compatibilité électromagnétique. Toutefois,
il est recommandé
que les personnes ayant un stimulateur cardiaque ne s'approchent
pas
de l'appareil. Il est impossible
et de compatibilité électromagnétiqu
e et
qu'il n'y aura pas d'interférences qui compromettent le fonctionnement
correct
de garantir que chaque stimulateur cardiaque sur le marché
répond à la directive applicable en matière de sécurité
de l'appareil.
Eventuellement, des dérangements peuvent aussi survenir sur d'autres
app
areils, tels que des appareils
ATTENTION: Pour éviter tout danger dû à une réinitialisation
accidentelle, cet appareil ne doit pas être alimenté par un
dispositif de commutation externe, comme une minuterie, ou
connecté à un circuit qui est régulièrement allumé et éteint par
l'utilitaire.
Les objets métalliques tels que les couteaux, les fourchettes,
les cuillères et les couvercles ne doivent pas être mis sur la

INSTRUCTIONS GENERALES
LIRE ATTENTIVEMENT LA NOTICE POUR VOUS PERMETTRE DE TIRER LE MEILLEUR PARTI DE VOTRE APPAREIL.
Nous vous conseillons de conserver la notice d'installation et d'utilisation pour toute consultation ultérieure, et de noter ci-dessous, avant
installation de la table, le numéro de série de l'appareil en cas d'éventuelle demande d'intervention du service après-vente.
Plaque signalétique
(située sous le caisson inférieur de la table)
Toutes ces caractéristiques sont données à titre indicatif. Soucieux de toujours améliorer la qualité de sa production, le constructeur
pourra apporter à ses appareils des modifications liées à l'évolution technique en respectant les conditions fixées à l'article R 132-2
du Code de la Consommation.
Produit compatible avec les Directives Européennes 73/23/EEC et 89/336/EEC, remplacées par 2006/95/EC et 2004/108/EC,
et les modifications successives.
MODELE
Foyers de cuisson
Alimentation électrique
Puissance totale
électrique (W)
Dimensions de l’appareil
(l x p x h) mm
Dimensions
d’encastrement
(A x B) mm
4 INDUCTIONS (4 Boosters)
590 X 520 X 55
560 x 490
12 FR
7200
220-240V~ 50/60Hz
400V~ 50/60Hz
HIFD440BC

Le meuble ou le support dans lequel doit être encastrée la table,
ainsi que les parois du meuble qui pourraient juxtaposer celui-ci,
doivent être d'une matière résistant à une température élevée.
De plus, il est nécessaire que le revêtement qui recouvre le meuble
ou le support soit fixé par une colle résistant à la chaleur afin
d'éviter le décollement.
Installation:
• Un joint d'étanchéité est livré avec la table de cuisson.
Avant encastrement:
• retourner la table face verre vers le bas, en prenant soin de
protéger le verre.
• Placer le joint tout autour de la table.
• Veiller particulièrement à le placer correctement afin d’éviter
toute infiltration dans le meuble support.
• S’assurer que la surface sur laquelle va reposer la table soit
parfaitement plane.
• Les déformations éventuelles provoquées par une mauvaise
pose de la table risquent d’entraver les performances de l’appareil.
• Prévoir un espace de 5 cm minimum entre l’appareil et les parois
verticales avoisinantes.
• La découpe du meuble pour encastrer la table à induction doit
impérativement être conforme aux cotes indiquées sur le dessin.
• Découper une ouverture sur le plan de travail, aux di mensions
spécifiées sur le schéma ci-dessous.
• Pour pourvoir installer correctement la table à induction, vous
devez disposer d’un espace d’au moins 50 mm entre le bord de
la découpe et le mur et/ou les meubles.
• S’assurer que l’épaisseur du plan de travail soit d’au moins
30 mm et que le matériau dont il est fait soit résistant aux hautes
températures. Voir dessin (Fig. 1).
• L’encastrement de la table de cuisson au dessus d’un four non
ventilé, lave-vaisselle, réfrigérateur, congélateur ou lave-linge
n’est pas possible.
• Toujours s’assurer qu e la table à induction est bien encastrée
dans le plan de travail et qu’elle est bien ventilée par de l’air
entrant et sortant (Fig. 2).
Attention: pour des raisons de sécurité, prévoir un espace d’au
moins 760 mm entre la table de cuisson et le bas des meubles
situés au-dessus.
La mise en place fonctionnelle des appareils ménagers dans leur environnement est une opération délicate qui, si elle n'est pas correctement
effectuée, peut avoir de graves conséquences sur la sécurité des consommateurs. Dans ces conditions, il est impératif de confier cette tâche
à un professionnel qui la réalisera conformément aux normes techniques en vigueur. Si malgré cette recommandation, le consommateur
réalisait lui-même l'installation, le constructeur déclinerait toute responsabilité en cas de défaillance technique du produit entraînant ou non
des dommages aux biens et/ou aux personnes.
ENCASTREMENT
INSTALLATION
"L’installation recevant l’appareil cité en référence doit être
conforme à la norme en vigueur dans le pays d’installation.”
Le constructeur décline toute responsabilité en cas de non respect
de cette disposition.
Attention :
• Avant de procéder au raccordement, le technicien doit vérifier
la tension d'alimentation indiquée au compteur, le réglage du
disjoncteur, le calibre du fusible (25 A) et la continuité de la terre
de l'installation.
• Le raccordement électrique au réseau doit être effectué par une
prise de courant avec prise de terre, ou par l'intermédiaire d'un
dispositif à coupure omnipolaire ayant une distance d'ouverture
des contacts d'au moins 3 mm.
Si l'appareil comporte une prise de courant, il doit être installé
de telle façon que la prise de courant soit accessible.
• Le fil de protection vert/jaune doit être relié aux bornes de terre,
de l’appareil d’une part, et de l’installation d’autre part.
• Notre responsabilité ne saurait être engagée pour tout incident
ou ses conséquences éventuelles qui pourraient survenir lors
de l’usage d’un appareil non relié à la terre, ou relié à une terre
dont la continuité serait défectueuse.
• Toute intervention se rapportant au câble d’alimentation doit
impérativement être réalisée par le Service après-vente ou une
personne de qualification similaire.
ATTENTION:
Au cas où il serait nécessaire de remplacer le cable d’alimentation,
les codes couleurs dans le branchement de chacun des fils
doivent être respectées comme ci-dessous :
BLEU - NEUTRE (N)
MARRON - PHASE (L)
JAUNE-VERT - TERRE ( )
RACCORDEMENT ELECTRIQUE
Suivre la procédure comme indiqué ci-dessous (Fig. 3) :
• Le cordon d’alimentation ne doit être ni plié ni écrasé.
LE RACCORDEMENT ELECTRIQUE
PRISE D’AIR
SORTIE D’AIR
mini 760 mm
mini 5 cm
mini 5 mm
mini 2 cm
Joint
13 FR
Grey
L1 L2
N1 N2
56 cm
49 cm
+0.4
+0.1
+0.4
+0.1

INDUCTION
• Veiller à ce que le fond des récipients soit sec: lors du rem-
plissage du récipient ou lorsqu’on utilise une casserole sortant
du réfrigérateur, par exemple, s’assurer que l’ustensile est bien
sec, cette précaution évitera toute salissure sur le plan de cuisson.
Les informations suivantes vous aideront à choisir les récipients
les mieux adaptés pour obtenir de bons résultats.
L’utilisation de récipients de qualité est nécessaire
pour obtenir de bons résultats de cuisson.
• Utiliser des récipients de bonne qualité à fond plat et épais:
le fond rigoureusement plat supprimera les points de surchauffe
sur lesquels les aliments attachent, et l’épaisseur du métal
permettra une parfaite répartition de la chaleur.
LE CHOIX DES USTENSILES
PRESENTATION DU TABLEAU DE BORD
PRINCIPE DE FONCTIONNEMENT
Un module électronique alimente et commande électriquement
une bobine située à l’intérieur de l’appareil.
Cette bobine créé un champ magnétique de telle sorte que le
récipient posé sur le support se trouve traversé par des courants
dits “d’induction”.
Ces derniers transforment le récipient en véritable émetteur de
chale
ur, le dessus vitrocéramique restant froid.
Ce procédé implique l’utilisation de récipients magnétiques.
Concrètement, la technologie de l’induction conduit à deux
résultats fondamentaux :
-la chaleur n’étant émise que par le récipient, la puissance de
chauffe restituée est ma ximale et la cuisson s’effectu e sans
déperdition calorifique.
- il n’y a pas d’inertie thermique puisque la pose ou le retrait du
récipient sur le support déclenche instantanément le démarrage
ou l’arrêt de cuisson.
UN APPAREIL DE HAUTE SECURITE ....
• Protection anti-surchauffe : un capteur contrôle la température
à l’intérieur de la table de cuisson. S’il relève une chaleur excessive,
la table de cuisson s’éteindra automatiquement.
• Indication de chaleur : lorsque l’utilisation de la table de cuisson
se prolonge dans le temps, la température de l
a zone de cuisson
s’élève. Dans ce cas, le témoin lumineux “H” s’allume, vous
avertissant ainsi que la surface du foyer est encore chaude.
• Sécurité coupure automatique : une autre sécurité de la
plaque induction est la coupure automatique. Elle fonctionne
lorsque vous oubliez d’éteindre un foyer de cuisson. La coupure
automatique dépend du niveau de puissance et du temps de
fonctionnement, comme indiqué dans le tableau ci-dessous.
Niveau La zone de cuisson s’éteint
de puissance automatiquement après
1-5 8 heures
6-10 4 heures
11-14 2 heures
Lorsqu’une casserole est retirée du foyer de cuisson, i
l s’arrête
de chauffer immédiatement et s’éteint après un signal sonore
d’une minute.
Rappel : le patient porteur d’un pacemaker peut utiliser la table
de cuisson seulement sous les recommandations du médecin.
Module commande/contrôle
Dessus vitrocéramique
Bobine
Flux d’induction
Récipient
qui transforme
le flux d’induction
en chaleur
14 FR
15 1 heures
• Les foyers inductions sont auto-dimensionants. Mais pour
générer la puissance maximale, nous vous recommandons
d’utiliser des casseroles qui couvrent le dessin de la zone.
Ainsi, l’idéal est d’utiliser une casserole légèrement plus
grande que le dessin afin d’obtenir le meilleur rendement.
Si vous utilisez une casserole plus petite que la zone, la puissance
obtenue sera moindre. Il est donc important de toujours choisir le
foyer le plus adapté à la taille de la casserole.A noter que les
casseroles d’un diamètre inférieur à 140mm risquent, elles, de ne
pas être détectées par le foyer ind
uction.
1. Power regular key
2. Timer regular key
5. Memory
3. Booster
4. Special function
6. Lock
7. On/Off
1
1
388567
4
2
8.
Flexible Area activation

,QVWUXFWLRQVG·XWLOLVDWLRQ
¬ODPLVHVRXVWHQVLRQGHODSODTXHGHFXLVVRQO¶DYHUWLVVHXU
pPHWXQHVRQQHULHHWWRXVOHVYR\DQWVVDOOXPHQWSHQGDQW
XQHVHFRQGHDYDQWGHVpWHLQGUH/DSODTXHHVWjSUpVHQWHQ
PRGHGHYHLOOH
3ODFH]ODFDVVHUROHDXFHQWUHGHOD]RQHGHFXLVVRQ
&RQVLJQHVGXWLOLVDWLRQ
$SSX\H]VXUODWRXFKH©ªWRXVOHVLQGLFDWHXUVDIILFKHQW
©ª
6pOHFWLRQQH]OHQLYHDXGHSXLVVDQFHHQDSSX\DQWVXUOD
WRXFKH©ªRX©ªSRXUODSODTXHFKDXIIDQWHFRQFHUQpH
/¶LQGLFDWHXUDIILFKHWRXWGDERUG©ªRX©ªORUVTXHYRXV
DSSX\H]VXUODWRXFKH©ªRX©ª)DLWHVXQUpJODJH
YHUVOHKDXWRXYHUVOHEDVHQDSSX\DQWVXUODWRXFKH©ª
RX©ª
6LYRXVDSSX\H]VLPXOWDQpPHQWVXUOHVWRXFKHV©ªHW
©ªOHQLYHDXGHSXLVVDQFHUHYLHQWj©ªHWOD]RQHGH
FXLVVRQVpWHLQW
5HPDUTXH6LYRXVDSSX\H]VXUODWRXFKH©ªODSODTXH
jLQGXFWLRQVHUHPHWHQPRGHGHYHLOOHVLDXFXQHRSpUDWLRQ
Q¶HVWHIIHFWXpHGDQVOHVPLQXWH
)RQFWLRQERRVW
$SSX\H]VXUODWRXFKH©ªO¶LQGLFDWHXUGHQLYHDXGH
SXLVVDQFHDIILFKH©ª
$YHUWLVVHPHQW
/DIRQFWLRQERRVWQHIRQFWLRQQHTXHSHQGDQWPLQXWHV
DSUqVTXRLOD]RQHGHFXLVVRQUHYLHQWjVRQUpJODJH
G¶RULJLQH
/DIRQFWLRQERRVWIRQFWLRQQHVXUWRXWHVOHV]RQHVGH
FXLVVRQ
/RUVTXHODIRQFWLRQERRVWGHODqUH]RQHGHFXLVVRQ
HVWDFWLYpHODqPH]RQHGHFXLVVRQVHOLPLWH
DXWRPDWLTXHPHQWVRXVOHQLYHDXHWLQYHUVHPHQW
/RUVTXHODIRQFWLRQERRVWGHODqPH]RQHGHFXLVVRQ
HVWDFWLYpHODqPH]RQHGHFXLVVRQVHOLPLWH
DXWRPDWLTXHPHQWVRXVOHQLYHDXHWLQYHUVHPHQW
$QQXODWLRQGXPRGH©%2267ª
$QQXOH]OHPRGHERRVWHQDSSX\DQWVXUODWRXFKH©ªRX©ª
GHOD]RQHFRUUHVSRQGDQWH
)RQFWLRQPLQXWHXU
6LSOXVLHXUV]RQHVVRQWDFWLYpHV
DFWLYH]OD]RQHVpOHFWLRQQpHHQDSSX\DQWVXUODWRXFKH©ª
RX©ªGHFHWWH]RQHOHVFKLIIUHVFRUUHVSRQGDQWVFOLJQRWHQW
DSSX\H]DORUVVXUODWRXFKHGHPLQXWHXU©ªRX©ª
OLQGLFDWHXUGHQLYHDXGHSXLVVDQFHFOLJQRWHHWDIILFKH©ª
HWO¶LQGLFDWHXUGXPLQXWHXUFOLJQRWH
/¶LQGLFDWHXUDIILFKHWRXWGDERUG©ªDSSX\H]VXUODWRXFKH
©ªRX©ªSRXUUpJOHUOHWHPSV
8QHIRLVOHWHPSVUpJOpVpOHFWLRQQH]OHQLYHDXGHSXLVVDQFH
GHOD]RQHGHFXLVVRQ
5pJOH]DORUVOHWHPSVHQWUHPLQXWHHWKHXUHVPLQXWHV
HQDSSX\DQWVXUODWRXFKH©ªRX©ª
6LYRXVDSSX\H]XQHIRLVVXUODWRXFKH©ªOHWHPSV
DXJPHQWHG¶XQHPLQXWH
6LYRXVPDLQWHQH]ODWRXFKH©ªHQIRQFpHOHWHPSV
DXJPHQWHSDULQWHUYDOOHVGHPLQXWHV
ORUVTXHOHWHPSVGpSDVVHKHXUHVLYRXVPDLQWHQH]OD
WRXFKH©ªHQIRQFpHOHWHPSVDXJPHQWHSDULQWHUYDOOHVGH
PLQXWHV
6LYRXVDSSX\H]XQHIRLVVXUODWRXFKH©ªOHWHPSVGLPLQXH
G¶XQHPLQXWH
VLYRXVPDLQWHQH]ODWRXFKH©ªHQIRQFpHOHWHPSVGLPLQXH
SDULQWHUYDOOHVGHPLQXWHV
/RUVTXHOHWHPSVGpSDVVHKHXUHVVLYRXVPDLQWHQH]OD
WRXFKH©ªHQIRQFpHOHWHPSVGLPLQXHSDULQWHUYDOOHVGH
PLQXWHV
9RXVSRXYH]UpJOHUOHQLYHDXGHSXLVVDQFHHQPRGHPLQXWHXU
6LOHPLQXWHXUHVWDFWLYpVXUSOXVLHXUV]RQHV
/HPLQXWHXUSHXWrWUHUpJOpSRXUOHV]RQHVGHFXLVVRQ
/RUVTXHYRXVUpJOH]OHVWHPSVGHSOXVLHXUV]RQHVGHFXLVVRQ
VLPXOWDQpPHQWOHVSRLQWVGpFLPDX[GHV]RQHVGHFXLVVRQ
FRQFHUQpHVV¶DIILFKHQW
15 FR
En mode de fonctionnement standard (sans boosters), la
puissance maximale des zones #1 et #2 ne dépasse pas
3000W.
En mode de fonctionnement standard (sans boosters), la
puissance maximale des zones #3 et #4 ne dépasse pas
3000W.

OHWHPSVTXLDSSDUDvWVXUO¶DIILFKHXUHVWFHOXLTXLH[SLUHUD
HQSUHPLHU/HSRLQWGHOD]RQHFRUUHVSRQGDQWHHVWpFODLUp
PDLVFOLJQRWH8QHIRLVTXHOHFRPSWHjUHERXUVGXSUHPLHU
PLQXWHXUHVWWHUPLQpOD]RQHFRUUHVSRQGDQWHVpWHLQW/H
WHPSVTXLDSSDUDvWVXUODIILFKHXUFRUUHVSRQGDORUVDX
SURFKDLQPLQXWHXUjH[SLUHUHWOHSRLQWGHOD]RQH
FRUUHVSRQGDQWHFOLJQRWH
6LOHPLQXWHXUHVWUpJOpPDLVQHVWDFWLIVXUDXFXQH]RQH
LOQHVHUYLUDTXHGHPLQXWHXU
5HPDUTXH
/RUVTXHOHPLQXWHXUHVWVXUPLQXWHLOHVWDQQXOp
8QHIRLVOHWHPSVpFRXOpOD]RQHGHFXLVVRQFRQFHUQpH
VpWHLQW
8QHIRLVOHUpJODJHGXPLQXWHXUWHUPLQpO¶LQGLFDWHXUGX
PLQXWHXUFOLJQRWHSHQGDQWVHFRQGHVHWOHWHPSVUpJOp
HVWDXWRPDWLTXHPHQWFRQILUPp
(QPRGHPLQXWHXUVLYRXVDSSX\H]VLPXOWDQpPHQWVXU
OHVWRXFKHV©ªHW©ªOHUpJODJHGHODSXLVVDQFH
UHYLHQWj©ªHWOHWHPSVHVWDQQXOp
0RGHGHVpFXULWp
3RXUJDUDQWLUODVpFXULWpGHVHQIDQWVODSODTXHjLQGXFWLRQ
HVWpTXLSpHG¶XQGLVSRVLWLIGHYHUURXLOODJH
9HUURXLOODJH
(QPRGHGHIRQFWLRQQHPHQWDSSX\H]VXUODWRXFKH©ª
ODSODTXHHQWUHDORUVHQPRGHGHYHUURXLOODJHOHPLQXWHXU
DIILFKH©ªHWOHVDXWUHVWRXFKHVVRQWGpVDFWLYpHVj
O¶H[FHSWLRQGHODWRXFKH©ª
(QPRGHGHYHLOOHDSSX\H]VXUODWRXFKH©ORFNªOD
SODTXHHQWUHDORUVHQPRGHGHYHUURXLOODJHOHPLQXWHXU
DIILFKH©ªHWOHVDXWUHVWRXFKHVVRQWGpVDFWLYpHV/H
PLQXWHXUDIILFKH©ªSHQGDQWXQPRPHQWSXLVV¶pWHLQW
6LYRXVDSSX\H]VXUODWRXFKH©ªV¶DIILFKH
SHQGDQWXQPRPHQW
'pYHUURXLOODJH
0DLQWHQH]ODWRXFKH©/RFNªHQIRQFpHSHQGDQW
VHFRQGHVSRXUGpVDFWLYHUODIRQFWLRQGHYHUURXLOODJH
$FWLYH]OD]RQHVpOHFWLRQQpHHQDSSX\DQWVXU©ªRX©ª
$SSX\H]VXUODWRXFKH6,00(5,1*O¶LQGLFDWHXUDIILFKH©ª
$SSX\H]VXUODWRXFKH0(',80O¶LQGLFDWHXUDIILFKH©ª
$SSX\H]VXUODWRXFKH+,*+O¶LQGLFDWHXUDIILFKH©ª
)RQFWLRQPpPRLUH
9RXVSRXYH]XWLOLVHUODIRQFWLRQGHPpPRLUHSRXUVWRFNHUOHV
UpJODJHVGHVQLYHDX[GHSXLVVDQFHHWOHVGXUpHVSRXUXQH]RQH
(QUHJLVWUHPHQW
6pOHFWLRQQH]OD]RQHGHFXLVVRQHQDSSX\DQWVXUODWRXFKH
©ªRX©ªOLQGLFDWHXUGXQLYHDXGHSXLVVDQFHGHFHWWH
]RQHFOLJQRWH
$SSX\H]VXUODWRXFKH©ªOLQGLFDWHXUGXPLQXWHXUDIILFKH
©ª©ªVLJQLILH©DXFXQF\FOHHQPpPRLUHª0DLQWHQH]
ODWRXFKHGHPpPRLUHHQIRQFpHSHQGDQWVHFRQGHV
OLQGLFDWHXUGXPLQXWHXUDIILFKH©ªHWOHQUHJLVWUHPHQW
FRPPHQFH
/¶LQGLFDWHXUGXQLYHDXGHSXLVVDQFHDIILFKHDOWHUQDWLYHPHQW
©ªHWOHQLYHDXGHSXLVVDQFH
,QVWUXFWLRQVG·XWLOLVDWLRQ
)RQFWLRQVSpFLDOH
7RXFKH6,00(5,1*
PLMRWDJHQLYHDX
7RXFKH0(',80
PR\HQQLYHDX
7RXFKH+,*+
pOHYpQLYHDX
/HQRPEUHPD[LPDOG¶RSpUDWLRQVHVWGHYDULDWLRQVGH
QLYHDX[GHSXLVVDQFHHQKHXUHV$XFXQHYDULDWLRQGX
QLYHDXGHSXLVVDQFHG¶XQHGXUpHGHPRLQVGHVHFRQGHV
QHVHUDHQUHJLVWUpH
$UUrWGHO¶HQUHJLVWUHPHQW
$SSX\H]jQRXYHDXVXUODWRXFKHPpPRLUH©ªGLVSDUDvW
GHODIILFKHXUGXPLQXWHXUHWOHF\FOHGHFXLVVRQHVWPpPRULVp
16 FR

28
28
28
28
28
eWHLJQH]OD]RQHGHFXLVVRQFRUUHVSRQGDQWHHQDSSX\DQW
VLPXOWDQpPHQWVXU©ªHW©ªRXHQUpJODQWOHQLYHDXGH
SXLVVDQFHVXU©ª©ªQHVDIILFKHSOXVVXUO¶DIILFKHXU
GXPLQXWHXUHWOHF\FOHGHFXLVVRQHVWPpPRULVp
5HWLUH]ODFDVVHUROHGHOD]RQHGHFXLVVRQFRUUHVSRQGDQWH
/RUVTXHOD]RQHGpWHFWHO¶DEVHQFHGHFDVVHUROH©ª
GLVSDUDvWGHODIILFKHXUGXPLQXWHXUHWOHF\FOHGHFXLVVRQ
HVWPpPRULVp
(IIHFWXH]SOXVGHYDULDWLRQVGHUpJODJHGXQLYHDXGH
SXLVVDQFH©ªGLVSDUDvWGHODIILFKHXUGXPLQXWHXUHWOH
F\FOHGHFXLVVRQHVWPpPRULVp
eWHLJQH]O¶LQWHUUXSWHXUGDQVFHFDVOHQUHJLVWUHPHQWGX
F\FOHGHFXLVVRQVHUDDXWRPDWLTXHPHQWDEDQGRQQp
eWHLJQH]XQH]RQHGHFDLVVRQGDQVOHVVHFRQGHVj
SDUWLUGXGpEXWGHO¶HQUHJLVWUHPHQWGDQVFHFDV
O¶HQUHJLVWUHPHQWGXF\FOHGHFXLVVRQHVWDXWRPDWLTXHPHQW
DEDQGRQQp
([pFXWLRQGXQF\FOHGHFXLVVRQHQUHJLVWUp
$SSX\H]VXUODWRXFKHGHPpPRLUHO¶LQGLFDWHXUGXPLQXWHXU
DIILFKH©ªSHQGDQWVHFRQGHVSXLVDIILFKH©ª/D
]RQHFRUUHVSRQGDQWDXF\FOHGHFXLVVRQHQUHJLVWUpV¶DOOXPH
HWGpPDUUHOHF\FOH
6LOD]RQHFRUUHVSRQGDQWpWDLWGpMjDFWLYpHOHF\FOHGH
FXLVVRQHQUHJLVWUpSUHQGUDODSULRULWpHWVHUDH[pFXWp
6LODWRXFKH©ªRX©ªHVWPDQLSXOpHDXFRXUVGH
O¶H[pFXWLRQG¶XQF\FOHGHFXLVVRQHQUHJLVWUpVXUOD]RQH
FRUUHVSRQGDQWHOHF\FOHGHFXLVVRQHQUHJLVWUpHVW
DEDQGRQQpHWXQHJHVWLRQQRUPDOHHVWUHVWDXUpH
QpDQPRLQVOHF\FOHGHFXLVVRQHQUHJLVWUpHVWFRQVHUYpHQ
PpPRLUH
(QVXLWHOH©ªV¶DIILFKHHWOHQUHJLVWUHPHQWGXF\FOHGHOD
]RQHVpOHFWLRQQpHGpPDUUH
/DSXLVVDQFHPD[LPDOHGHV]RQHVGH
FXLVVRQHVWODVXLYDQWH
,QVWUXFWLRQVG·XWLOLVDWLRQ
&RPPHQWHQUHJLVWUHUXQQRXYHDXF\FOHGH
FXLVVRQVLYRXVHQDYH]GpMjHQUHJLVWUpXQ
ª
RX©ª
0DLQWHQH]ODWRXFKH©ªHQIRQFpHXQPRPHQW©ª
V¶DIILFKH©ªVLJQLILH©]RQHGHFXLVVRQPpPRULVpHª
17 FR
YWii[heb[i3
K[i fk_iiWdY[i _dZ_gkw[i f[kl[dj lWh_[h [d \edYj_edZ[bW
cWj_vh[ [j Z[i Z_c[di_edi Z[i
- N'importe où si la casserole a un diamètre supérieur à 22 cm
ZONE FLEXIBLE
Suivant vos besoins, cette zone flexible peut être utilisée comme
une zone seule ou comme 2 zones fonctionnant indépendamment.
La zone flexible est constituée de deux inducteurs qui peuvent
dans sa globalité, si un des deux inducteurs ne détecte pas de
casserole, celui-ci s'éteint automatiquement au bout d'une minute.
Pour garantir une détection des casseroles et une distribution de
la chaleur optimales, il est recommandé de placer les casseroles :
- Au choix à l'avant ou l'arriè
re de la zone quand la casserole a
un diamètre inférieur à 22 cm.
être contrôlés de façon
indépendante. En utilisant la zone flexible
En une zone seule
Pour activer la totalité de la zone flexible, il suffit d’activer
la commande dédiée.
Le choix de puissance se programme de la même manière
que pour une zone standard.
Si la casserole est déplacée de l’avant vers l’arrière de la
zone (ou vice-versa), la zone flexible détecte
automatiquement la nouvelle position de la casserole, et
conserve la même puissance.
En deux zones indépendantes
Pour utiliser la zone flexible en deux zones indépendantes,
avec des niveaux de puissance différents, il suffit d’utiliser
$FWLYH]OD]RQHGHFXLVVRQjHQUHJLVWUHUHQDSSX\DQWVXU
©
=RQHGH
FKDXIIH
6
7
8
Beeij
MehcWb
Flexible
Area
9
Le led de controle s'illumine confirmant que la zone flexi est
active.
Pour desactiver la zone flexible, appuyer de nouveau sur la
touche et pouvoir ainsi utiliser 2 zones de cuisson
independantes.
1800
3000
3000
4000
3000
1800
3000
1800
1800
3000

• Il est important lors du nettoyage de la surface vitrocéramique
de la table, d’attendre le refroidissement complet de cette dernière.
• Seuls les produits spécifiques, pour le nettoyage de la surface
vitrocéramique, crème et grattoir, doivent être utilisés. Vous les
trouverez facilement dans le commerce.
• Eviter les débordements, les sal
issures qui tombent sur le plan
de cuisson se carbonisent rapidement et sont donc plus difficiles
à nettoyer.
• Il est recommandé de tenir à l’écart du plan de cuisson tout ce
qui susceptible de fondre tels que les objets en matière plastique,
sucre ou produits à forte teneur en sucre.
ENTRETIEN:
- Disposer quelques gouttes d’un produit nettoyant spécifique
pour la surface vitrocéramique.
- Frotter en insistant sur les parties tachées s’il en existe, à l’aide
d’un chiffon doux ou un papier légèrement humide.
- Essuyer avec un chiffon doux ou papier essuie-tout sec jusqu’à
ce que la surface soit nette.
Si après cet entretien courant des taches persistent :
- Disposer à nouveau quelques gouttes d’un produit spécifique.
- Gratter à l’aide d’un grattoir en respectant un angle de 30° par
rapport à la table jusqu’à disparition des taches récalcitrantes.
- Essuyer avec un chiffon doux ou papier essuie-tout sec jusqu’à
ce que la surface soit nette.
- Répéter l’opération si nécessaire.
CONSEILS:
Un nettoyage fréquent laisse une couche protectrice essentielle
pour la prévention des rayures et de l’usure.
S’assurer que la surface soit propre avant de réutiliser la table.
Pour enlever les traces d’eau et de calcaire, utiliser quelques
gouttes de vinaigre blanc, ou jus de citron. Rincer et essuyer à
l’aide d’un papier absorbant puis appliquer quelques gouttes de
produit spécifique et essuyer.
Le verre vitrocéramique supporte le frottement des ustensiles de
cuisson à fond plat, mais il est quand même conseillé de les
soulever pour les déplacer.
NB:
Eviter d’employer une éponge trop humide.
Ne jamais utiliser un outil en acier tel que couteau ou tournevis.
L’utilisation du grattoir avec lame de rasoir ne peut
endommager la surface si un angle de 30° est respecté.
Ne pas laisser le racloir avec lame de rasoir à la portée des
enfants.
Ne pas utiliser de produits abrasifs ou de poudres récurantes.
PROBLEMES ET SOLUTIONS
La table à induction émet un ronflement.
• Normal. La turbine de refroidissement des composants
électroniques est en fonctionnement.
La table à induction émet un léger sifflement.
• Normal. Etant donné la fréquence de fonctionnement des
inducteurs, un léger sifflement peut se produire lors de l’utilisation
de plusieurs foyers à puissance maximale.
Les foyers ne maintiennent pas les petits bouillons ou friture
peu vive.
• N’utiliser que des récipients à fond plat.
• Le fond du récipient doit recouvrir entièrement le diamètre du
foyer choisi.
18 FR
ASSISTANCE TECHNIQUE
Avant d’appeler le Service d’Assistance Technique:
Si la table de cuisson ne fonctionne pas, nous vous conseillons
de :
- vérifier que la fiche soit bien introduite dans la prise de courant;
Si la cause du dysfonctionnement n’est pas trouvée,
- éteindre l’appareil, ne pas y toucher et appeler le Service
d’Assistance Technique.
Veiller à ce que le coupon de garantie fourni avec le produit soit
correctement rempli, avec la date d’achat de la table de cuisson.
ENTRETIEN DE LA SURFACE
Cuissons trop lentes.
• Utilisation de récipients non adaptés. N’utiliser que des ustensiles
avec fond plat et d’un diamètre au moins égal au foyer.
Petites rayures ou éraflures sur la surface vitrée de la table.
• Une mauvaise méthode de nettoyage, ou des récipients avec
fond rugueux sont utilisés, des particules tels que grains de sable,
ou sel se trouvent entre la table et le fond d
u récipient. Se reporter
au chapitre “Entretien”, s’a ssurer que les fonds des récipients
sont propres avant utilisation et n’utiliser que des récipients avec
fond lisse. Les rayures peuvent être atténuées seulement si un
bon nettoyage est réalisé.
Marques de métal.
• Ne pas faire glisser des récipients en alum
inium sur la table. Se
reporter aux recommandations d’entretien.
• Vous n’utilisez pas les bons matériaux, les taches quelles qu’elles
soient persistent. Aidez-vous d’une lame de rasoir et suivre le
chapitre “Entretien”.
Taches sombres.
• Utiliser une la me de rasoir et suivre le chapitre “Entretien”.
Surfaces claires sur la table.
•
Marques provenant de récipient en alumi nium ou cuivre, mais
aussi de dépôts de minéraux, de l’eau ou des aliments ; ils peuvent
être enlevés avec de la crème nettoyante.
Caramélisation ou plastique fondu sur la table.
• Se reporter au chapitre “Entretien”.
La table ne fonctionne pas ou certains foyers sont sans
fonction.
• Les barrettes shunts ne sont pas positionnées correctement sur
la plaque à bornes. Faire vérifier que le raccordement est effectué
conformément aux recommandations.
La table ne fonctionne pas.
• Le tableau de bord est verrouillé. Appuyer sur la touche
“Verrouillage”.
La table ne se coupe pas
• Le tableau de bord est verrouillé. Appuyer sur la touche
“Verrouillage”.
La table s’arrête automatiquement
• Les foyers s’arrêtent automatiquement si on les laisse fonc-
tionner penda nt une période assez longue. Se reporter au
chapitre “Durée de foncti
onnement”.
Fréquence de fonctionnement arrêt/marche sur foyers.
• Les cycles coupure-fonctionnement varient en fonction du niveau
de puissance demandé :
- niveau faible : temps de fonctionnement court,
- niveau élevé : temps de fonctionnement long.
30° Maxi
Cet appareil est commercialisé en accord avec
la directive européenne 2012/ /E sur les
déchets des équipements électriques et électroni-
ques (DEEE). En vous assurant que ce produit
est correctement recyclé, vous participez à la
prévention des conséquences négatives sur
l’environnement et la santé publique qui pourrait
être causé par une mi
se au rebut inappropriée
de ce produit. Le symbole sur ce produit indique
qu’il ne doit pas être traité comme un déchet ménager. Il doit
être rapporté jusqu’à un point de recyclage des déchets électriques
et électroniques. La collecte de ce produit doit se faire en accord
avec les règlementations environnementales concernant la mise
au rebut de ce type de déchets.
Po
ur plus d’information au sujet du traitement, de la collecte et
du recyclage de ce produit, merci de contacter votre mairie, votre
centre de traitement des déchets ou le magasin où vous avez
acheté ce produit.
19 U

Seguridad y mantenimiento
20 ES
ADVERTENCIA: El aparato y sus componentes accesibles se
calientan durante el uso. Se debe tener cuidado de no tocar
los elementos calefactores.
Los niños menores de 8 años deben permanecer alejados o
supervisados de forma continuada por una persona adulta .
Este aparato puede ser usado por niños mayores de 8 años y
personas con capacidades físicas, sensoriales o mentales
reducidas o falta de experiencia y conocimiento siempre y
cuando hayan sido supervisadas o instruidas sobre el uso
del aparato de forma segura y del conocimiento de los riesgos
que comporta.
Los niños no deben jugar con el aparato.
La limpieza y el mantenimiento que debe realizar el usuario no
será realizada por niños sin supervisión.
ADVERTENCIA: Desatender cocinas, utilizando grasas o
aceites, es peligroso y puede ocasionar un incendio.
NUNCA trate de apagar un incendio con agua, apague el
aparato y cubra la llama con una tapa o manta ignifuga.
ADVERTENCIA: Peligro de incendio: no almacene artículos
en las superficies de cocción.
ADVERTENCIA: Si la superficie está agrietada, apague el
aparato para evitar la posibilidad de una descarga eléctrica.
No utilice limpiadores de vapor para la limpieza del aparato.
Al mostrar el logo CE marcado en este producto,
declaramos, bajo nuestra propia responsabilidad, el cumplimiento
de todos los requisitos europeos en términos de seguridad, salud
y medio ambiente, establecidos en la legislación de este
producto.

20 ES
Seguridad y mantenimiento
Elimine cualquier tipo de derrame de la tapa antes de abrirlo.
se debe enfriar la superficie de la placa antes de cerrar la tapa.
Después de su uso, apague la zona de la placa utilizando su
control y no se confíe en el detector de sartenes.
el aparato no está ideado para ser utilizado mediante un
temporizador externo o un sistema de control remoto
independiente.
Los medios de desconexión deben ser incorporados en el
cableado fijo en conformidad con las reglas del cableado.
las instrucciones indicarán el tipo de cable a utilizar, teniendo
en cuenta la temperature de la parte posterior del aparato.
Si el cable de alimentación está dañado, debe ser
reemplazado por el fabricante, su servicio técnico o personas
cualificadas, con e l fin de evitar riesgos.
Atención:
este aparato cumple las normativas de seguridad
actuales así como las regulaciones de compatibilidad
electromagnética. Sin embargo, las personas con marcapasos
no deberían utilizarlo. No se puede garantizar que todos
los
aparatos q
ue hay en el mercado cumplen las normativas de
seguridad actuales y la regulación de compatibilidad
electromagnética, ni que no se produzcan interferencias peligrosas.
Es imposible que las personas con otro tipo de
dispositivos, como
audífonos, puedan notar algu
na molestia
PRECAUCIÓN: Con el fin de evitar peligros derivados de
alteraciones en el suministro energético, este aparato no debe
ser suministrado a través de un dispositivo de conmutación
externo, como un temporizador, o conectado a un circuito que
sea encendido y apagado frecuentemente por los servicios
públicos.
No se deben colocar objetos metálicos como cuchillos,
tenedores, cucharas y tapas sobre la placa debido a que se
pueden calentar.

21 ES
LEA EL MANUAL DE INSTRUCCIONES DETALLADAMENTE PARA SACAR EL MÁXIMO PARTIDO A SU COCINA
Le recomendamos que guarde las instrucciones de instalación y uso para posteriores consultas y que antes de instalar la cocina anote
el número de serie que aparece debajo por si necesitase recurrir al servicio de atención al cliente.
Trabajamos constantemente par
a mejorar la calidad del producto. Esas mejoras pueden modificar los aparatos al incorporar las últimas
mejoras técnicas.
Las cocinas de inducción cumplen las Directivas Europeas 73/23/CEE y 89/336/CEE que sustituyen a la 2006/95/EC y la
2004/108/EC, así como a sus enmiendas.
ADEVERTENCIAS GENERALES
Placa de identificación
(situada en la parte inferior de la cocina)
Código del Producto: .............
Núm. de serie :.........................
COCINA
Fogones
Voltage
Potencia eléctrica
instalada (W)
Dimensión
(D x W x H) mm
Dimensiones de
ensamblaje
(A x B)
4 INDUCTION (4 potenciador)
220-240 V~ 50/60 Hz
400 V~ 50/60 Hz
560 x 490
7200
590 X 520 X 55
HIFD440BC

El mueble en el que se va a instalar la cocina y el mueble adyacente
han de estar hechos con materiales que soporten temperaturas
elevadas. Además, las láminas decorativas han de sujetarse con
pegamento resistente al calor.
Instalación:
• Con la cocina se proporciona un sello estanco.
Antes de colocar la cocina:
- póngal
a boca abajo, con la superficie de cristal hacia abajo.
Asegúrese de que el cristal está protegido.
- encaje el sello alrededor de la cocina.
- asegúrese de que encaja correctamente para evitar fugas dentro
del soporte.
- Es importante que la cocina encaje con el nivel de la superficie
de apoyo.
- Haga un agujero en la encimera con la dimensión que se muestra
en el diagrama siguiente. Ha de dejarse un espacio mínimo de
50 mm alrededor del agujero.
- La encimera ha de tener como mínimo 30 mm de grosor y estar
compuesta por materiales resistentes al calor. Como se muestra
en la Figura (1)
- No puede montar la cocina encima de un horno sin ventilador,
del lavavajillas, la nevera, el congelador o la lavadora.
- Es esencial que la cocina de inducción tenga buena ventilación
y que la entrada y la salida de aire no estén bloqueadas. Asegúrese
de que la cocina está correctamente instalada como se muestra
en la Figura (2).
NB: Por motivos de seguridad, el hueco entre la cocina y la
alacena ha de ser como mínimo de 760 mm.
La instalación de un electrodoméstico puede ser una operación complicada que si no se realiza correctamente puede afectar gravemente
a la seguridad de las personas. Por tal motivo dicha tarea p23-ha de realizarla un profesional cualificado que lo instalará siguiendo la normativa
técnica en vigor. En el caso de ignorar esta advertencia y que la instalación la haga una persona no cualificada, el fabricante no asume
responsabilidad alguna por fallo técnico del producto, derive éste o no en daños materiales o personales.
22 ES
MONTAJE
INSTALACIÓN
"La instalación tiene que cumplir las directivas estándar."
El fabricante se exime de toda responsabilidad por daños
provocados por la utilización inadecuada o sin sentido.
Advertencia:
- Antes de cualquier operación eléctrica compruebe que el voltaje
q
ue se muestra en el medidor de electricidad, el ajuste de
cortocircuitos, la continuidad de la toma de tierra de la instalación
y el fusible son los adecuados (25A).
- La conexión eléctrica de la instalación debe hacerse a través
de un enchufe con toma de tierra o a través de un interruptor de
corte omnipolar con un hueco de apertura de al menos 3 mm. Si
el aparato tiene una salida para enchufe ha de instalarse de forma
que dicho enchufe sea accesible.
- El cable amarillo/ verde del cable eléctrico ha de conectarse a
la toma de tierra de los terminales del enchufe y del aparato.
- El fabricante no puede hacerse responsable de los accidentes
derivados de la utilización de un aparato que no tiene toma de
tierra o con fallos en la continuidad de la conexión a la misma.
- Todas las dudas relacionadas con el cable eléctrico han de
trasladarse al Servicio Técnico o a un técnico cualificado.
- Si el cable está dañado o se va a remplazar, la operación la
debe realizar un agente de ventas con herramientas adecuadas
para evitar accidentes.
Conecte el cable según los colores/ códigos
siguientes:
AZUL - NEUTRO (N)
MARRÓN - VIVO (V)
AMARILLO-VERDE - TIERRA ( )
Conexión a la electricidad
El enchufe ha de conectarse, cumpliendo las normas pertinentes,
a un interruptor de polo único. El método de conexión se muestra
en la Figura (3)
No se puede doblar ni machacar el cable.
CONEXIÓN ELÉCTRICA
ENTRADA DE AIRE
mini 760 mm
mini 5 cm
mini 5 mm
mini 2 cm
SELLO
SALIDA
DE AIRE
Grey
L1 L2
N1 N2
56 cm
49 cm
+0.4
+0.1
+0.4
+0.1

23 ES
CONSEJOS SOBRE LA BATERÍA DE COCINA
• Utilice siempre una batería de cocina de buena calidad con
bases perfectamente lisas y gruesas: la utilización de este
tipo de baterías de cocina evitará puntos calientes que hacen
que la comida se pegue. Las ollas, sartenes y cazuelas de
metales gruesos proporcionan una distribución del calor aún
mejor.
INDUCCIÓN
ESQUEMA DEL PANEL DE CONTROL
MODO DE EMPLEO
Un generador electrónico acciona la bobina situada dentro del
aparato. La bobina crea un campo magnético de forma que
cuando se coloca la olla encima de la cocina las corrientes de
inducción pasan a través de ella. Estos flujos de corriente
convierten a la
olla en un verdadero transmisor de calor mientras
que el cristal de la cocina de cerámica permanece frío.
Este sistema está diseñado para utilizarlo con ollas o cazuelas
con el fondo magnético.
La tecnología de inducción tiene dos ventajas principales:
- Como el calor se transmite sólo al recipiente, el calor se mantiene
al nivel máximo y la cocción se realiza sin pérdi da de calor.
- No existe inercia térmica ya que se empieza
a cocinar
automáticamente cuando se coloca la olla o cazuela encima del
fogón y se detiene cuando se retira dicha olla o cazuela.
APARATO DE GRAN SEGURIDAD
- Protección contra el exceso de temperatura
Un sensor monitoriza la temperatura de los fogones. Cuando la
temperatura excede el nivel de seguridad, el fogón se desconecta
automáticamente.
automática
mente al modo de espera.
- Advertencia de calor residual
Después del funcionamiento de la cocina existe cierto calor
residual. Aparece la letra "H" para advertirle que se mantenga
alejado.
- Desconexión automática
Otra característica de seguridad de la cocina de inducción es la
desconexión automática. Esta desconexi
ón se produce cuando
se olvida de apagar un fogón. Los períodos de desconexión por
defecto se muestran en la tabla siguiente.
Cuando retire la cazuela u olla del fogón, éste deja inmediatamente
de calentarse y se desconecta solo después del zumbido que
dura un minuto.
RECUERDE: las personas que llevan marc
apasos deberían
utilizar esta cocina siguiendo las instrucciones del médico.
• Asegúrese de que la base de las ollas o las cazuelas estén
secas: cuando llene las cazuelas con líquidos o utilice un recipiente
que se guardó en la nevera, asegúrese de que la base está
completamente seca antes de colocarla en la cocina. Esta medida
ayudará a evitar que la cocina se manche.
La información siguiente le ayudará a elegir la cazuela que mejor
se adapta para conseguir buenos resultados.
------------------------------------------------------------------------------------
ZONA DE INDUCCIÓN
------------------------------------------------------------------------------------
DISTINTIVOS EN LOS En la etiqueta, compruebe que si el
UTENSILIOS DE distintivo del mismo es compatible
COCINA con inducción
Utilice cacerolas magnéticas (hierro
esmaltado, acero inoxidable ferrítico de
fundición) Coloque un imán en el fondo (ha
de adherirse)
------------------------------------------------------------------------------------
ACERO INOXIDABLE No detectable –
Excepto el acero inoxi dable ferromagnético
------------------------------------------------------------------------------------
ALUMINIO No detectable
------------------------------------------------------------------------------------
FUNDICIÓN Buen rendimiento
------------------------------------------------------------------------------------
ACERO ESMALTADO Buen rendimiento
------------------------------------------------------------------------------------
CRISTAL No detectable
------------------------------------------------------------------------------------
PORCELANA No detectable
------------------------------------------------------------------------------------
FONDO DE COBRE No detectable
------------------------------------------------------------------------------------
La utilización de una batería de cocina de buena calidad es
crucial para conseguir el máximo rendimiento de su cocina.
Nivel de El fogón se desconecta
potencia automáticamente transcurridas
----------------------------------------------------------------------
1-5 8 horas
UNIDAD DE CONTROL
Vitrocerámica
BOBINA
Corrientes de inducción
Cacerola que
transforma
las corrientes
de inducción
en CALOR
6-10 4 horas
11-14 2 horas
15 1 horas
•
menos de 140 mm podría no ser detectada por la placa
Utilice ollas cuyo diámetro sea más grande que el gráfico de la
zona seleccionada.
se utiliza una olla ligeram ente más ancha
se empleará la energía con su eficiencia máxima.
Si utiliza una olla
más pequeña la eficiencia podría ser inferior a la prevista. Una olla de
1. Power regular key
2. Timer regular key
5. Memory
3. Booster
4. Special function
6. Lock
7. On/Off
1
1
388567
4
2
8.
Flexible Area activation

,QVWUXFFLRQHVGHXVR
&XDQGRHODSDUDWRVHDSDJDHO]XPELGRVRQDUiXQDYH]\
WRGRVORVLQGLFDGRUHVVHHQFHQGHUiQGXUDQWHXQVHJXQGR\
OXHJRVHDSDJDUiQ/DSODFDVHHQFXHQWUDDKRUDHQPRGR
GHDKRUURGHHQHUJtD
&RORTXHODROODHQHOFHQWURGHOD]RQDGHFRFFLyQ
,QVWUXFFLRQHVGHIXQFLRQDPLHQWR
3XOVHHOERWyQ\WRGRVORVLQGLFDGRUHVPRVWUDUiQ
6HOHFFLRQHHOQLYHOGHHQHUJtDSXOVDQGRHOERWyQR
SDUDODSODFDHOpFWULFDHQFXHVWLyQ3DUDHPSH]DUFRQHO
LQGLFDGRUPRVWUDQGRRSXOVHHOERWyQR
$MXVWHKDFLDDUULEDRDEDMRSXOVDQGRHOERWyQR
6LSXOVDORVERWRQHV\VLPXOWiQHDPHQWHHOPRGRGH
HQHUJtDYXHOYHD\OD]RQDGHFRFFLyQVHDSDJD
1%&XDQGRVHSXOVDHOERWyQODSODFDGHLQGXFFLyQ
YXHOYHDOPRGRGHDKRUURGHHQHUJtDVLQRVHGHWHFWD
QLQJXQDDFFLyQHQORVSUy[LPRVPLQXWR
)XQFLyQGHUHIXHU]R%RRVW
3XOVHHOERWyQ\WRGRVORVLQGLFDGRUHVGHQLYHOGH
HQHUJtDPRVWUDUiQ
$WHQFLyQ
/DIXQFLyQGHUHDOFHERRVWVyORIXQFLRQDGXUDQWH
PLQXWRV\GHVSXpVOD]RQDGHFRFFLyQYXHOYHDVX
HVWDGRLQLFLDO
/DIXQFLyQGHUHDOFHERRVWVHSXHGHXWLOL]DUSDUD
WRGDVODV]RQDVGHFRFFLyQ
0LHQWUDVODIXQFLyQGHUHDOFHGHODSULPHUD]RQDGH
FRFFLyQHVWpDFWLYDGDODVHJXQGD]RQDGHFRFFLyQTXHGD
OLPLWDGDDXWRPiWLFDPHQWHDOQLYHO\YLFHYHUVD0LHQWUDV
ODIXQFLyQGHUHIXHU]RERRVWGHODD]RQDGHFRFFLyQ
HVWpDFWLYDGDOD]RQDGHFRFFLyQTXHGDOLPLWDGD
DXWRPiWLFDPHQWHDOQLYHO\YLFHYHUVD
&DQFHODUHOPRGR%2267
&DQFHODUHOPRGR%RRVWSXOVDQGRHOERWyQRGHOD]RQD
FRUUHVSRQGLHQWH
)XQFLyQGHWHPSRUL]DGRU
6LHVWiHQIXQFLRQDPLHQWRPiVGH]RQD
DFWLYHOD]RQDVHOHFFLRQDGDSXOVDQGRHOERWyQRGH
DTXHOOD]RQD\ORVGtJLWRVFRUUHVSRQGLHQWHVVHLOXPLQDUiQ
/XHJRSXOVHHOERWyQGHOWHPSRUL]DGRUR
HOLQGLFDGRUGHQLYHOGHHQHUJtDVHHQFHQGHUi\PRVWUDUi
\HOLQGLFDGRUGHOWHPSRUL]DGRUVHHQFHQGHUi
3DUDHPSH]DUFRQHOLQGLFDGRUPRVWUDQGRGHWHUPLQH
ODKRUDSXOVDQGRHOERWyQR'HVSXpVGHHVWDEOHFHUOD
KRUDSXHGHVHOHFFLRQDUHOQLYHOGHHQHUJtDGHOD]RQDGH
FRFFLyQ
'HVSXpVGHWHUPLQHODKRUDHQWUHPLQXWR\KRUDV\
PLQXWRVSXOVDQGRHOERWyQR
3XOVHHOERWyQXQDYH]SDUDDXPHQWDUHOWLHPSRXQPLQXWR
0DQWHQJDSXOVDGRHOERWyQSDUDDXPHQWDUHOWLHPSR
PLQXWRV
&XDQGRHOWLHPSRSDVHGHKRUDPDQWHQJDSXOVDGRHOERWyQ
SDUDDXPHQWDUHOWLHPSRPLQXWRV
3XOVHHOERWyQXQDYH]SDUDUHGXFLUHOWLHPSRXQPLQXWR
0DQWHQJDSXOVDGRHOERWyQSDUDUHGXFLUHOWLHPSR
PLQXWRV
&XDQGRHOWLHPSRSDVHGHODVKRUDVPDQWHQJDSXOVDGRHO
ERWyQSDUDUHGXFLUHOWLHPSRPLQXWRV
3XHGHGHWHUPLQDUHOQLYHOGHHQHUJtDGXUDQWHHOPRGRGH
WHPSRUL]DGRU
6LHOWHPSRUL]DGRUHVWiDFWLYDGRSDUDPiV
GH]RQD
(OWHPSRUL]DGRUVHSXHGHXWLOL]DUSDUDODV]RQDVGHFRFFLyQ
&XDQGRGHWHUPLQHHOWLHPSRSDUDYDULDV]RQDVGHFRFFLyQ
VLPXOWiQHDPHQWHVHHQFHQGHUiQORVSXQWRVGHFLPDOHVGHODV
]RQDVGHFRFFLyQHQFXHVWLyQ
24 ES
En modo normal de funcionamiento, para cualquier nivel
de potencia, la potencia total máxima para la zona #1 y
zona #2 será de 3000W
En modo normal de funcionamiento, para cualquier nivel
de potencia, la potencia total máxima para la zona #3 y
zona #4
será de 3000W

HQODYLVXDOL]DFLyQGHOWHPSRUL]DGRUDSDUHFHUiHOWLHPSRTXH
WHUPLQHPiVSURQWR(OSXQWRGHOD]RQDFRUUHVSRQGLHQWH
HVWDUiHQFHQGLGRSHURSDUSDGHDQGR&XDQGRHOWHPSRUL]DGRU
GHFXHQWDDWUiVWHUPLQHOD]RQDFRUUHVSRQGLHQWHVHDSDJDUi
'HVSXpVVHPRVWUDUiHOQXHYRWLHPSRTXHWHUPLQHPiV
SURQWR\OD]RQDFRUUHVSRQGLHQWHWHQGUiXQSXQWRLQWHUPLWHQWH
6LHOWHPSRUL]DGRUHVWiFRQILJXUDGRSHURQRVHHQFXHQWUD
DFWLYRHQQLQJXQD]RQDIXQFLRQDUiVLPSOHPHQWHFRPRXQ
UHORMGHFXHQWDDWUiV
1RWD
&XDQGRHOWHPSRUL]DGRUOOHJXHDOPLQXWRVHFDQFHODUi
&XDQGRHOWLHPSRSDVHOD]RQDGHFRFFLyQHQFXHVWLyQVH
DSDJDUi
'HVSXpVGHHVWDEOHFHUODKRUDHOLQGLFDGRUGHWLHPSR
SDUSDGHDUiGXUDQWHVHJXQGRVHOWLHPSRGHWHUPLQDGRVH
FRQILUPDUiDXWRPiWLFDPHQWH
(QHOPRGRGHWHPSRUL]DGRUVLSXOVDHOERWyQRGHO
WHPSRUL]DGRUVLPXOWiQHDPHQWHHOPRGRGHHQHUJtDYXHOYHD
\HOWLHPSRVHFDQFHOD
0RGRGHVHJXULGDG
3DUDJDUDQWL]DUODVHJXULGDGGHORVQLxRVODSODFDGHLQGXFFLyQ
GLVSRQHGHXQGLVSRVLWLYRGHEORTXHR
%ORTXHR
(QHOPRGRGHIXQFLRQDPLHQWRSXOVHHOERWyQODSODFD
HQWRQFHVHQWUDUiHQHOPRGRGHEORTXHR\HOWHPSRUL]DGRU
PRVWUDUi\HOUHVWRGHERWRQHVTXHGDUiQEORTXHDGRV
H[FHSWRHOERWyQ
(QHOPRGRGHDKRUURGHHQHUJtDSXOVHODWHFODORFN
EORTXHRODSODFDHQWRQFHVHQWUDUiHQHOPRGRGHEORTXHR
HOWHPSRUL]DGRUPRVWUDUi\HOUHVWRGHERWRQHV
TXHGDUiQEORTXHDGRV(OWHPSRUL]DGRUPXHVWUD
GXUDQWHDOJXQRVVHJXQGRV\OXHJRVHDSDJD
6LSXOVDHOERWyQDSDUHFHUiGXUDQWHDOJXQRV
VHJXQGRV
'HVEORTXHR
0DQWHQJDSXOVDGRHOERWyQ/RFNEORTXHRGXUDQWH
VHJXQGRV\ODIXQFLyQGHEORTXHRTXHGDUiGHVDFWLYDGD
)XQFLyQHVSHFLDO
%RWyQ6,00(5,1*
QLYHO
%RWyQ0(',80
QLYHO
%RWyQ+,*+
QLYHO
$FWLYHOD]RQDVHOHFFLRQDGDSXOVDQGRR
3XOVHHOERWyQ6,00(5,1*\HOLQGLFDGRUPRVWUDUi
3XOVHHOERWyQ0(',80\HOLQGLFDGRUPRVWUDUi
3XOVHHOERWyQ+,*+\HOLQGLFDGRUPRVWUDUi
)XQFLyQGHPHPRULD
3XHGHXWLOL]DUODIXQFLyQGHPHPRULDSDUDJXDUGDUOD
FRQILJXUDFLyQGHQLYHOGHHQHUJtD\GXUDFLyQSDUDXQD]RQD
*UDEDFLyQ
6HOHFFLRQHOD]RQDGHFRFFLyQGHVHDGDSXOVDQGRHOERWyQ
RFRQHOLQGLFDGRUGHQLYHOGHHQHUJtDGHDTXHOOD]RQD
SDUSDGHDQGR
3XOVHHOERWyQFRQHOLQGLFDGRUGHOWHPSRUL]DGRU
PRVWUDQGRVLJQLILFDVLQFLFORGHFRFFLyQHQ
PHPRULD0DQWHQJDSXOVDGRHOERWyQGHPHPRULDGXUDQWH
VHJXQGRVFRQHOLQGLFDGRUGHOWHPSRUL]DGRUPRVWUDQGR
\HPSH]DUiODJUDEDFLyQ
(OLQGLFDGRUGHQLYHOGHHQHUJtDPRVWUDUi\HOQLYHOGH
HQHUJtDDOWHUQDGDPHQWH
,QVWUXFFLRQHVGHXVR
25 ES
(OQ~PHURPi[LPRGHRSHUDFLRQHVHVGHYDULDFLRQHV
GHQLYHOGHHQHUJtDHQKRUDV&XDOTXLHUYDULDFLyQGH
QLYHOGHHQHUJtDTXHGXUHPHQRVGHVHJXQGRVQR
TXHGDUiJUDEDGD
3DUDUODJUDEDFLyQ
3XOVHGHQXHYRHOERWyQGHPHPRULD\\DQR
DSDUHFHUiHQODYLVXDOL]DFLyQGHOWHPSRUL]DGRU\HOFLFOR
GHFRFFLyQTXHGDUiJUDEDGR

2
$SDJXHOD]RQDGHFRFFLyQFRUUHVSRQGLHQWHSXOVDQGR
\VLPXOWiQHDPHQWHRDMXVWDQGRHOQLYHOGH
HQHUJtDHQ\\DQRDSDUHFHUiHQOD
YLVXDOL]DFLyQGHOWHPSRUL]DGRU\HOFLFORGHFRFFLyQ
TXHGDUiJUDEDGR
2
5HWLUHODROODGHOD]RQDGHFRFFLyQFRUUHVSRQGLHQWH
&XDQGROD]RQDGHWHFWHODIDOWDGHROODGHMDUi
GHDSDUHFHUHQODYLVXDOL]DFLyQGHOWHPSRUL]DGRU\HO
FLFORGHFRFFLyQTXHGDUiJUDEDGR
2
(IHFW~HPiVGHYDULDFLRQHVGHQLYHOGHHQHUJtD\
\DQRDSDUHFHUiHQODYLVXDOL]DFLyQGHO
WHPSRUL]DGRU\HOFLFORGHFRFFLyQTXHGDUiJUDEDGR
2
$SDJXHODSODFD\HQHVWHFDVRODJUDEDFLyQGHOFLFOR
GHFRFFLyQTXHGDUiDXWRPiWLFDPHQWHDERUWDGD
2
$SDJXHOD]RQDGHFRFFLyQJUDEDGDDQWHVGH
VHJXQGRVGHVGHHOLQLFLRGHODJUDEDFLyQ(QHVWHFDVR
ODJUDEDFLyQGHOFLFORGHFRFFLyQTXHGDUi
DXWRPiWLFDPHQWHDERUWDGD
5HSHWLUXQFLFORGHFRFFLyQJUDEDGR
3XOVHHOERWyQGHPHPRULD\HOLQGLFDGRUGHO
WHPSRUL]DGRUPRVWUDUiSXOVHODWHFODGXUDQWH
VHJXQGRV\OXHJRDSDUHFHUi/D]RQD
FRUUHVSRQGLHQWHGHOFLFORGHFRFFLyQJUDEDGRVH
DFWLYDUiHLQLFLDUiODUHSHWLFLyQGHOFLFOR
6LOD]RQDFRUUHVSRQGLHQWH\DHVWDEDDFWLYDGDHOFLFOR
GHFRFFLyQJUDEDGRDVXPLUiODSULRULGDG\HOXVRGH
DTXHOOD]RQD
6LGXUDQWHODUHSHWLFLyQGHXQFLFORGHFRFFLyQJUDEDGR
HQODWHFODRGHOD]RQDFRUUHVSRQGLHQWHHOFLFOR
GHFRFFLyQJUDEDGRTXHGDDERUWDGR\VHUHVWDXUDHO
HVWDGRQRUPDO(OFLFORGHFRFFLyQTXHGDJUDEDGRHQ
ODPHPRULD
&yPRJUDEDUXQQXHYRFLFORGHFRFFLyQVL
H[LVWHRWURFLFORJUDEDGR
$FWLYHOD]RQDGHFRFFLyQTXHGHVHHJUDEDUSXOVDQGRR
0DQWHQJDSXOVDGRHOERWyQGXUDQWHDOJXQRVVHJXQGRV\
DSDUHFHUiVLJQLILFD]RQDGHFRFFLyQJXDUGDGD
HQODPHPRULD
'HVSXpVDSDUHFHUi\HPSH]DUiODJUDEDFLyQGHOFLFOR
HQOD]RQDVHOHFFLRQDGD
/DSRWHQFLDPi[LPDGHODV]RQDVGHFRFFLyQ
HVODVLJXLHQWH
=RQDGH
FDOHQWDPLHQWR
,QVWUXFFLRQHVGHXVR
26 ES
Las potencias indicadas pueden variar según el material
del que está hecha la olla y de sus dimensiones.
ÁREA FLEXIBLE
Se puede usar esta área como zona única o como dos
zonas diferentes, dependiendo de las necesidades de
cocción.
La zona flexible está formada por dos inductores
independientes que se pueden controlar por separado.
Cuando se utiliza como una sola zona, la parte en la que no
se detectan utensilios de cocina se apagará
automáticamente después de un minuto.
Para garantizar una correcta detección de recipientes y una
distribución uniforme del calor, los utensilios de cocina se
deben colocar:
- En la parte delantera o trasera de la zona flexible cuando
el recipiente sea menor de 22 cm.
- En cualquier lugar para recipientes de cocina grandes.
COMO ZONA GRANDE
Para activar el área flexible como zona grande única,
simplemente pulse las teclas específicas.
La configuración del nivel de potencia funciona como
cualquier otra área.
Si el recipiente que está en uso se mueve de la parte
delantera a la trasera ( o viceversa), el área flexible
detecta automáticamente la nueva posición, manteniendo
la misma potencia.
COMO DOS ZONAS INDEPENDIENTES:
Para utilizar el área flexible como 2 zonas diferentes, con
niveles de potencia diferentes, pulse las teclas específicas.
6
7
8
Flexible
Area
9
1RUPDO
5HIXHU]R%RRVW
Un LED se enciende para indicar el área flexible p27-ha sido
activado
Si el área flexible está encendido, pulse la tecla dedicada para
apagarlo, antes de utilizar como dos zonas diferentes
1800
3000
3000
4000
3000
1800
3000
1800
1800
3000

• Antes de realizar cualquier tarea de mantenimiento en la cocina,
deje que ésta se enfríe.
• Sólo se deben utilizar los productos (cremas y raspadores)
diseñados específicamente para las superficies de cristal cerámico.
Dichos productos se pueden encontrar en tiendas especializadas
.
• Evite que caigan líquidos o comida encima de la cocina ya que
todo lo que cae en su superficie se quema rápidamente y hace
que limpiarlo sea más difícil.
• Es recomendable mantener alejadas de la cocina las sustancias
susceptibles de fusión, como utensilios de plástico, azúcar o
productos azucarados.
MANTENIMIENTO:
- Ponga un par de gotas del producto de limpieza específico en
la superficie de la cocina.
- elimine cualquier resto pegado duro con un paño suave o con
papel de cocina ligeramente humedecido.
- Retire el producto con un paño suave o con papel de cocina
seco hasta que la superficie qu
ede limpia.
En caso de que persistan restos pegados:
- Ponga un par de gotas del producto de limpieza específico en
la superficie de la cocina.
- Rasque con un raspador formando un ángulo de 30º con la
cocina hasta que desaparezcan los restos.
- Retire el producto con un paño suave o con papel de cocina
seco hasta que la superficie qu
ede limpia
- Repita la operación si fuese necesario
UNOS CONSEJOS: la limpieza frecuente deja una capa protectora
esencial para evita r rayas y arañazos. Asegúrese de que la
superficie está limpia antes de volver a utilizar la cocina. Para
retirar las marcas que deja el agua utilice unas gotas de vinagre
blanco o zumo de limón. Luego séquelo con papel absorbente y
ponga unas gotas de líquido de limpieza específico. La superficie
de cristal cerámico soporta el raspado de los recipientes de cocina
con fondo plano, aunque siempre es mejor levantarlos para
moverlos de un fogón a otro.
NB:
No utilice una esponja demasiado húmeda.
Nunca utilice un cuchillo o cuchilla.
El rascador con cuchilla afilada no daña la superficie siempre
y cuando forme un ángulo de 30º con la superficie.
Nunca deje un rascador con cuchilla al alcance de los niños.
Nunca utilice productos abrasivos o de pulido.
RESOLUCIÓN DE PROBLEMAS
La cocina de inducción emite un sonido suave.
• Normal. El ventilador de los componentes electrónicos está
funcionando.
La cocina de inducción desprende un ligero silbido.
• Normal. Según la frecuencia de trabajo de los inductores, puede
desprenderse un ligero silbido al utilizar varios fogones a potencia
máxima.
Los fogones no realizan una cocción constante o no alcanzan
una temperatura suficiente como para freír con aceite
• Debe util
izar cacerolas que sean completamente planas.
• El fondo de las cacerolas ha de encajar lo máximo posible con
el diámetro del fogón seleccionado.
Los alimentos se cocinan despacio
• Utilización de batería de cocina inadecuada. El fondo de las
cacerolas ha de ser plano, bastante pesado y tener el mismo
diámetro que la zona de cocinado seleccionada.
27 ES
ATENCIÓN AL CLIENTE
Antes de llamar al Servici o Técnico compruebe lo siguiente:
Que el enchufe está correctamente enchufado y que tiene fusible;
si no puede identificar el fallo:
Desenchufe la cocina- no la altere-, llame al servicio de Atención
al Cliente. La cocina tiene un certificado de garantía que asegura
que el Servicio Técnico la reparará de forma gratuita
LIMPIEZA Y MANTENIMIENTO
Arañazos pequeños (pueden aparecer también grietas o
quemaduras) en la superficie de cristal de la cocina.
• Métodos de limpieza incorrectos, batería de cocina con fondos
rugosos o pa rtículas granosas (sal o arena) situadas entre las
cacerolas y la superficie de la cocina. Utilice los procedimientos
de limpieza recomendados, asegúrese de que el fondo de las
cacerolas está limpio antes de ut
ilizarlas y utilice una batería de
cocina con fondos pulidos.
Marcas de metal (pueden aparecer en forma de arañazos)
• No arrastre las cacerolas de aluminio por la superficie. Limpie
la cocina como se recomienda para eliminar las marcas.
• Se util
izó material de limpieza incorrecto, hay restos de vertidos
• pegotes de grasa en la superficie, utilice un rascador con cuchilla
y los productos de limpieza recomendados.
Rayas o manchas negras.
• Utilizar un raspador con cuchilla y productos de limpieza
recomendados.
Áreas de decoloración en la superficie de la cocina.
• Las marcas de las cacerolas de aluminio y cobre así como los
depósitos minerales de agua o comida se pueden eliminar sin
crema de limpieza.
Azúcar caliente o plástico fundido en la superficie.
• Véase la sección Limpieza de la Cocina.
La cocina no responde o alguno de los fogones no funciona.
• Las barras de derivación no están bien instaladas en el terminal.
Compr
uebe que la conexión se hizo siguiendo las instrucciones
de la página 37.
La cocina no funciona.
• El panel de control está bloqueado. Pulse el Botón "Locking"
(bloqueo) para desbloquearla.
La cocina no se apaga
• El panel de control está bloqueado. Pulse el Botón "Locking"
(bloqueo) para desbloquearla. Véase la sección de la página 40.
La cocina se detiene automáticamente
• El fogón se detiene automáticamente si se dejan encendidos o
están encendidos durante mucho tiempo. Véase sección de la
página 38.
Frecuencia de on/off [encendido/ apagado] de los fogones
• Los ciclos de on/off varían según el nivel de calor deseado:
- nivel bajo: período de funcionamiento breve,
- nivel elevado: período de funcionamiento largo
30° Maxi
Este electrodoméstico tiene la marca de
cumplimiento de la Directiva Europea
2012/ /E sobre Residuos de Aparatos
Eléctricos y Electrónicos (RAEE).
Asegurando un desguace correcto del
aparato, usted puede ayudar a prevenir las
consecuencias potenciales negativas para
el medio ambiente y la
salud de las personas.
El símbolo en el aparato, o en los documentos que lo
acompañan, indica que el electrodoméstico no debe tratarse
como residuo doméstico.
El aparato ha de depositarse en un centro de recogida para el
reciclaje del equipo eléctrico y electrónico. Deshágase del
electrodoméstico cumpliendo las normativa
s locales sobre
eliminación de residuos. Para más información sobre el
tratamiento, recuperación y el reciclaje del electrodoméstico,
póngase en contacto con la oficina local competente, el servicio
de recogida de residuos domésticos o la tienda donde lo compró.
19 U

Sicurezza e manutenzione
28 IT
ATTENZIONE: l'apparecchio e le parti accessibili
diventano calde durante l'uso. Prestare attenzione a non
toccare le parti calde.
I bambini al di sotto di 8 anni dovrebbero essere tenuti a
distanza se non continuamente supervisionati.
L'apparecchio può essere usato da bambini dagli 8 anni in
su e persone con ridotte capacità fisiche, sensoriali o
mentali o senza esperienza e conoscenza del prodotto se
supervisionate o dando loro istruzioni riguardo al
funzionamento dell'apparecchio in maniera sicura e
coscente del rischio possibile.
I bambini non dovrebbero giocare con l'apparecchio.
La pulizia e la manutenzione non dovrebbero essere fatte
da bambini senza supervision
ATTENZIONE: cucinare senza supervisione grasso o olio
sul piano cottura può essere pericoloso e può provocare
incendi
MAI provare a spegnere il fuoco con acqua. Prima
spegnere l'apparecchio e poi coprire le fiamme, ad
esempio con un coperchio o un telo non infiammabile.
ATTENZIONE: pericolo di incendo: non lasciare oggetti sul
piano cottura.
“ Inserendo la marcatura CE su questo prodotto, si
dichiara , sotto la nostra responsabilità , la conformità a tutti i
requisiti sulla sicurezza europea, sulla salute e sull’ambiente
stabiliti dalla legislazione per questo prodotto.”

29 IT
Sicurezza e manutenzione
Oggetti metallici quali coltelli, forchette, cucchiai o coperchi
non dovrebbero essere posti sulla superficie del piano di
cottura perché possono scaldarsi.
rimuovere gli eventuali liquidi tracimati dal coperchio prima
di aprirlo.
Far raffreddare la superficie del piano di cottura prima di
chiudere il coperchio.
'RSR O¶XVR VSHJQHUH LO SLDQR GL FRWWXUD WUDPLWH LO VXR
dispositivo di comando e non fare affidamento sul
rivelatore di pentole.
L'apparecchio non è progettato per funzionare con un
timer esterno o con un sistema di comando separato .
Il mezzo di disconnessione deve essere incorporato nel
cablaggio fisso in accordo con le leggi di cablaggio .
le istruzioni devono indicare quale tipo di cavo debba
essere utilizzato, tenendo presente la temperatura della
VXSHUILFLHSRVWHULRUHGHOO¶DSSDUHFFKLR
Se il cavo di alimentazione è danneggiato, esso deve
essere sostituito dal costruttore o dal suo servizio
interferenze
Avvertenza: questo apparecchio è conforme alle attuali normative
sulla sicurezza e sulla compatibilità elettromagnetica.
Ciò
nonostante l’uso è sconsigliato ai portatori di pace-maker. è
impossibile garantire che tutti gli apparecchi present
i sul
mercato
siano conformi alle attuali normative sulla sicurezza e la
compatibilità elettromagnetica e che non si verifichino
ATTENZIONE: Se la superficie è incrinata, spegnere
O¶DSSDUHFFKLRSHUHYLWDUHODSRVVLELOLWjGLVFRVVHHOHWWULFKH
non utilizzare un pulitore a vapore.

30 IT
Siamo costantemente impegnati nel miglioramento della qualità del prodotto e tale impegno ci autorizza ad apportare modifiche all’apparecchio
per integrare le ultime innovazioni tecniche.
Le piastre a induzione sono conformi alle Direttive Europee 73/23/CEE e 89/336/CEE, sostituite da
2006/95/EC e 2004/108/EC
e successivi emendamenti.
LEGGERE ATTENTAMENTE IL LIBRETTO DI ISTRUZIONI PER OTTENERE LE MIGLIORI PRESTAZIONI DALLA PIASTRA.
Si consiglia di conservare il li bretto di istru zioni per eventuali consultazioni in futuro. Prima di installare la piastra, annotare il numero
di serie qualora fosse necessario ricorrere al servizio di assistenza.
Targhetta di identificazione
(ubicata sotto la scocca inferiore
della piastra)
AVVERTENZE GENERALI
PIASTRA DI COTTURA
Zone di cottura
Tensione di alimentazione
Potenza elettrica
installata (W)
Dimensioni
(P x L x H) mm
Dimensioni di incasso
(A x B)
4 a induzione (4 Booster)
400 V 50/60 Hz
560 x 490
Codice prodotto: ..............
Nr. di serie:.......................
590 X 520 X 55
7200
220-240 V
50/60 Hz
HIFD440BC

Il mobile nel quale la piastra deve essere installata e tutti i mobili
adiacenti devono essere in materiale resistente alle alte
temperature. Inoltre tutti i laminati decorativi devono essere fissati
con adesivo resistente al calore.
Installazione:
• La piastra è munita di una guarnizione a tenuta ermetica.
Prima dell'installazione:
- capovolgere la piastra, con il vetro rivolto verso il basso.
Assicurarsi che il vetro sia protetto.
- montare la guarnizione intorno alla piastra.
- assicurarsi che sia montata correttamente per evitare perdite
nel vano di incasso.
- È importante installare la piastra su una superficie di supporto
piana.
- Eventuali deformazioni causate da un'installazione scorretta
possono alterare le specifiche del ripiano di lavoro e le prestazioni
della piastra.
- Lasciare uno spazio di almeno 5 cm tra la piastra e le superfici
verticali circostanti.
- È essenziale che la cavità di installazione sia conforme alle
dimensioni indicate.
- Eseguire un foro nel ripiano di lavoro delle dimensioni indicate
nello schema sottostante. Lasciare uno spazio di almeno 50 mm
intorno al foro.
- Il ripiano di lavoro deve avere uno spessore minimo di 30 mm
ed essere in materiale resistente al calore. Figura (1)
- Non incassare la piastra sopra un forno sprovvisto di ventola,
una lavastoviglie, un frigorifero, un congelatore o una lavatrice.
- È fondamentale che la piastra a induzione sia ben ventilata e
che l'ingresso e l'uscita dell'aria non siano ostruiti. Assicurarsi che
la piastra sia installata correttamente come illustrato nella Figura
(2)
NB: Per moti
vi di sicurezza, lo spazio tra la piastra e eventuali
armadietti sopra di essa non deve essere inferiore a 760 mm.
L'installazione di un elettrodomestico può rivelarsi un'operazione complicata e, se non viene eseguita correttamente, può pregiudicare
gravemente la sicurezza dell'utente. È per questa ragione che tale operazione dovrebbe essere effettuata da una persona qualificata in
conformità con le regolamentazioni tecniche in vigore. Qualora l'installazione fosse eseguita da una persona non qualificata, contravvenendo
a questa raccomandazione, il produttore declina qualsiasi responsabilità per eventuali problemi tecnici
, indipendentemente dal fatto che
ciò possa causare danni materiali o lesioni personali.
31 IT
INCASSO
INSTALLAZIONE
"L'installazione deve essere conforme alle direttive standard".
Il produttore declina qualsiasi responsabilità per danni causati da
un uso improprio o irragionevole dell'unità.
Avvertenza:
- Prima di qualsiasi intervento elettrico, verificare la tensione di
ali
mentazione indicata sul contatore elettrico, la posizione
dell'interruttore, la continuità del collegamento a terra e
l'adeguatezza del fusibile (25 A).
- Il collegamento elettrico deve avvenire attraverso
una presa con spina con messa a terra o un sezionatore omnipolare
con dista
nza di apertura dei contatti di minimo 3 mm.
Se l'unità è dotata di una presa, l'installazione deve essere eseguita
in modo tale che l'uscita della presa sia accessibile.
- Il filo giallo/verde del cavo di alimentazione elettrica deve essere
collegato alla messa a terra sia dell'alimentatore che dei terminali
dell'unità.
- Il produttore non può essere ritenuto responsabile di eventuali
incidenti risultanti dall'uso di un'unità non collegata a terra o con
una continuità difettosa della messa a terra.
- Per qualsiasi domanda relativa al cavo di alimentazione, rivolgersi
al Servizio di Assistenza o ad un tecnico qualificato.
- Se il cavo è danneggiato e deve essere sostituito, l'operaz
ione
deve essere eseguita dal rivenditore con attrezzi dedicati per
evitare infortuni. Collegare il filo rispettando i seguenti colori/codici:
BLU - NEUTRO (N)
MARRONE - FASE (L)
GIALLO-VERDE - TERRA ( )
Collegamento all'alimentazione elettrica
La presa deve essere collegata, in conformità con la normativa
in vigore, ad un interruttore unipolare. La mod
alità di collegamento
è illustrata nella Figura (3)
Il cavo non deve essere piegato o compresso.
ELECTRICAL CONNECTION
INGRESSO ARIA
USCITA ARIA
mini 760 mm
mini 5 cm
mini 5 mm
mini 2 cm
GUARNIZIONE
Grey
L1 L2
N1 N2
56 cm
49 cm
+0.4
+0.1
+0.4
+0.1

32 IT
INDUZIONE
SCHEMA DEL PANNELLO DI CONTROLLO
PROCEDURA D’USO
Un generatore elettronico alimenta una serpentina presente
all'interno dell'unità. Questa serpentina crea un campo magnetico
in modo tale che quando la pentola viene collocata sulla piastra,
viene permeata da correnti induttive. Queste correnti trasformano
la
pentola in un vero e proprio trasmettitore di calore, mentre la
piastra di vetro-ceramica rimane fredda.
Questo sistema è progettato per essere utilizzato con pentole
dal fondo magnetico.
Per semplificare, la tecnologia a induzione offre due vantaggi
principali:
- poiché l'emissione del calore avviene unicamente dalla pentola,
esso viene mantenuto al massimo li
vello e la cottura avviene
senza perdita di calore.
- Non vi è alcuna inerzia termica, dal momento che la cottura
inizia quando la pentola viene collocata sulla piastra e si interrompe
quando viene rimossa.
SICUREZZA ELEVATA
- Protezione contro il surriscaldamento - Un sensore controlla
la temperatura nelle zone di cottura. Quando la temperatura
supera il livello di sicurezza, la zona di cottura si spegne
automaticamente.
- Spia calore residuo - Quando la piastra viene utilizzata per un
certo periodo di tempo, si verifica la presenza di calore residuo.
La lettera "H" viene visualizzata ad indicare la necessità di
mantenere una distanza di sicurezza.
- Spegnimento automatico - Un'altra caratteristica di sicurezza
della piastra a induzione è lo spegnimento automatico. Esso ha
lu
ogo ogni qualvolta si dimentica di spegnere una zona di cottura.
I tempi di spegnimento preimpostati sono illustrati nella tabella
sottostante.
Quando la pentola viene rimossa dalla zona di cottura, essa non
scalda più e si spegne dopo che il cicali
no ha suonato per un
minuto.
RICORDARE: I portatori di pace-maker possono utilizzare questo
prodotto solo dopo aver consultato un medico.
• Assicurarsi che la base della pentola o della padella sia
asciutta: quando si riempie la pentola di liquidi o se ne utilizza
una che è stata conservata in frigorifero, assicu
rarsi che la base
sia completamente asciutta prima di appoggiarla
sulla piastra, per evitare che si macchi.
• Utilizzare pentole con diametro sufficientemente ampio da
coprire la superficie dell'unità: le dimensioni della pentola non
devono essere inferiori alla zona di riscaldamento. L'ideale sarebbe
che il diametro della pentola fosse leggermente pi
ù ampio della
superficie dell'unità, per sfruttare al meglio l'energia prodotta.
Le informazioni sottostanti aiutano a selezionare le pentole più
adeguate per ottenere i migliori risultati.
-----------------------------------------------------------------------------------
ZONA DI INDUZIONE
-----------------------------------------------------------------------------------
SIMBOLO SUGLI Sull'etichetta, verificare la presenza
UTENSILI DA CUCINA del simbolo che indica
se la pentola è
indicata per la cottura a induzione.
Utilizzare pentole magnetiche (lamiera
di ferro smaltata, acciaio inox, ghisa
ferritica), applicare una calamita al
fondo della pentola (deve aderire)
------------------------------------------------------------------------------------
ACCIAIO INOX Non ri
levabile -
Ad eccezione dell'acciaio inox
ferromagnetico.
------------------------------------------------------------------------------------
ALLUMINIO Non rilevabile
------------------------------------------------------------------------------------
GHISA DI FERRO Buona prestazione
------------------------------------------------------------------------------------
ACCIAIO SMALTATO Buona prestazione
------------------------------------------------------------------------------------
VETRO Non rilevabile
------------------------------------------------------------------------------------
PORCELLANA Non rilevabile
------------------------------------------------------------------------------------
FONDO IN RAME Non rilevabile
------------------------------------------------------------------------------------
• Utilizzare sempre pentole con fondo perfettamente piano e
spesso: ciò consenti rà di evitare che si formino punti caldi
concentrati e che il cibo si attacchi al fondo. Pentole e padelle di
metallo spesso garantiscono una distribuzione uniforme del calore.
L'utilizzo di pentole di buona qualità è fondamentale per
ottenere le migliori prestazioni con la piastra.
SUGGERIMENTI PER L'UTILIZZO DI APPOSITE
PENTOLE PER PIASTRE A INDUZIONE
Livello potenza La zona di riscaldamento si
spegne automaticamente dopo
-----------------------------------------------------------------------
1-5 8 ore
UNITÀ DI CONTROLLO
Parte superiore in Vetroceramica
SERPENTINA
Correnti induttive
Pentola che
trasforma le
correnti induttive
in CALORE
6-10 4 ore
11-14 2 ore
15 1 ore
1. Power regular key
2. Timer regular key
5. Memory
3. Booster
4. Special function
6. Lock
7. On/Off
1
1
388567
4
2
8.
Flexible Area activation

,VWUX]LRQLSHUOXVR
4XDQGRQRQYLHQHIRUQLWDFRUUHQWHLOVHJQDOHDFXVWLFRYHUUj
HPHVVRXQDYROWDHWXWWLLQGLFDWRULVLLOOXPLQHUDQQRSHUXQ
VHFRQGRSHUSRLGLVDWWLYDUVL,OSLDQRGLFRWWXUDVLWURYDRUDLQ
PRGDOLWjGLVWDQGE\
3RVL]LRQDUHODSHQWRODDOFHQWURGHOODUHDGLFRWWXUD
,VWUX]LRQLRSHUDWLYH
3UHPHUHLOWDVWRVXWXWWLJOLLQGLFDWRULVLYLVXDOL]]HUj
6HOH]LRQDUHLOOLYHOORGLSRWHQ]DSUHPHQGRLOWDVWRRSHU
ODSLDVWUDSHUWLQHQWH3UHPHQGRLOWDVWRRLQL]LDOPHQWH
OLQGLFDWRUHYLVXDOL]]HUjR5HJRODUHODPDJJLRUHR
PLQRUHSRWHQ]DSUHPHQGRLOWDVWRR
6HVLSUHPRQRFRQWHPSRUDQHDPHQWHLWDVWLH
OLPSRVWD]LRQHGLSRWHQ]DULWRUQDVXHODUHDGLFRWWXUDVL
VSHJQH
1%4XDQGRVLSUHPHLOWDVWRLOSLDQRGLFRWWXUDD
LQGX]LRQHULWRUQDLQPRGDOLWjGLVWDQGE\VHQRQYLHQH
HVHJXLWDDOFXQDDWWLYLWjHQWURPLQXWL
)XQ]LRQHGLDXPHQWRGHOODSRWHQ]D
3UHPHUHLOWDVWR³OLQGLFDWRUHGHOOLYHOORGLSRWHQ]D
PRVWUD
$YYHUWHQ]D
/DIXQ]LRQHGLDXPHQWRGHOODSRWHQ]DqDWWLYDVRODPHQWH
SHUPLQXWLVXFFHVVLYDPHQWHODUHDGLFRWWXUDSDVVHUj
GLQXRYRDOODVXDLPSRVWD]LRQHLQL]LDOH
/DIXQ]LRQHGLDXPHQWRGHOODSRWHQ]DqDWWLYDVXWXWWHOH
DUHHGLFRWWXUD
$OODWWLYD]LRQHGHOODIXQ]LRQHGLDXPHQWRGHOODSRWHQ]D
VXOODDDUHDGLFRWWXUDDXWRPDWLFDPHQWHYLHQHDSSOLFDWR
LOOLYHOORDOODDDUHDGLFRWWXUDHYLFHYHUVD
$OODWWLYD]LRQHGHOODIXQ]LRQHGLDXPHQWRGHOODSRWHQ]D
VXOODDDUHDGLFRWWXUDDXWRPDWLFDPHQWHYLHQHDSSOLFDWR
LOOLYHOORDOODDDUHDGLFRWWXUDHYLFHYHUVD
$QQXOODPHQWRGHOODPRGDOLWj%2267
$80(172',327(1=$
3HUDQQXOODUHODPRGDOLWj%RRVW$XPHQWRGLSRWHQ]D
SUHPHUHLOWDVWRRSHUODUHDFRUULVSRQGHQWH
)XQ]LRQHWLPHU
6HFqSLGLDUHDDFFHVD
DWWLYDUHODUHDVHOH]LRQDWDSUHPHQGRLOWDVWRRSHU
TXHOODUHDOHFLIUHFRUULVSRQGHQWLLQL]LHUDQQRDODPSHJJLDUH
TXLQGLSUHPHUHLOWDVWRGHOWLPHURFRQ
OLQGLFDWRUHGHOWLPHUFKHODPSHJJLDHOLQGLFDWRUHGHOOLYHOORGL
SRWHQ]DDQFKHVVRODPSHJJLDQWHHFKHYLVXDOL]]D³³
3UHPHQGRLOWDVWRRLQL]LDOPHQWHOLQGLFDWRUH
YLVXDOL]]HUj'RSRDYHULPSRVWDWRORUDqSRVVLELOH
VHOH]LRQDUHLOOLYHOORGLSRWHQ]DGHOODUHDGLFRWWXUD
4XLQGLLPSRVWDUHLOWHPSRVFHJOLHQGRWUDPLQXWRHRUHH
PLQXWLSUHPHQGRLOWDVWRR
3UHPHQGRXQDYROWDLOWDVWRqSRVVLELOHDXPHQWDUHLOWHPSR
GLXQPLQXWR
WHQHQGRSUHPXWRLOWDVWRqSRVVLELOHDXPHQWDUHLOWHPSRGL
PLQXWL
4XDQGRLOWHPSRVXSHUDRUDWHQHUHSUHPXWRLOWDVWRSHU
DXPHQWDUHLOWHPSRGLPLQXWL
3UHPHQGRXQDYROWDLOWDVWRqSRVVLELOHGLPLQXLUHLOWHPSRGL
XQPLQXWR
WHQHQGRSUHPXWRLOWDVWRqSRVVLELOHGLPLQXLUHLOWHPSRGL
PLQXWL
4XDQGRLOWHPSRVXSHUDOHRUHWHQHUHSUHPXWRLOWDVWRSHU
GLPLQXLUHLOWHPSRGLPLQXWL
'XUDQWHODPRGDOLWjGLWLPHUqSRVVLELOHLPSRVWDUHLOOLYHOORGL
SRWHQ]D
6HLOWLPHUqLPSRVWDWRVXSLGLDUHD
,OWLPHUSXzHVVHUHLPSRVWDWRVXWXWWHHOHDUHHGLFRWWXUD
4XDQGRVLLPSRVWDFRQWHPSRUDQHDPHQWHLOWHPSRSHUGLYHUVH
DUHHGLFRWWXUDVRQRYLVLELOLLSXQWLGHFLPDOLGHOOHDUHHGLFRWWXUD
SHUWLQHQWL
33 IT
Durante la normale attività, a qualsiasi livello di intensità, la
potenza totale sviluppata dalla zona #1 e dalla zona #2 non
supera mai 3000W.
Durante la normale attività, a qualsiasi livello di intensità, la
potenza totale sviluppata dalla zona #3 e dalla zona #4 non
supera mai 3000W.

VXOGLVSOD\GHOWLPHUVLYLVXDOL]]HUjLOWHPSRFKHWHUPLQHUjSHU
SULPR,OSXQWLQRGHOODUHDFRUULVSRQGHQWHVDUjYLVLELOHPD
ODPSHJJHUj8QDYROWDWHUPLQDWRLOFRQWRDOODURYHVFLDGHO
WLPHUODUHDFRUULVSRQGHQWHYHUUjVSHQWD4XLQGLYHUUj
PRVWUDWRLOVXFFHVVLYRWHPSRDVFDGHUHHODUHD
FRUULVSRQGHQWHPRVWUHUjLOSXQWLQRODPSHJJLDQWH
6HVLqLPSRVWDWRLOWLPHUFKHWXWWDYLDQRQqDWWLYRVX
QHVVXQDDUHDHVVRIXQ]LRQHUjVHPSOLFHPHQWHGDGLVSRVLWLYR
GLFRQWRDOODURYHVFLD
1RWD
4XDQGRLOWLPHUqVXPLQXWLHVVRqDQQXOODWR
4XDQGRVLDUULYDDOWHUPLQHGHOWHPSRODUHDGLFRWWXUD
SHUWLQHQWHVLVSHJQH
'RSRDYHULPSRVWDWRLOWLPHUHOLQGLFDWRUHGHOWHPSR
ODPSHJJLDSHUVHFRQGLOLPSRVWD]LRQHGHOWHPSRVDUj
FRQIHUPDWDDXWRPDWLFDPHQWH
,QPRGDOLWjWLPHUSUHPHUHFRQWHPSRUDQHDPHQWHLOWDVWR
HGHOWLPHUSHUUHLPSRVWDUHODSRWHQ]DDHGDQQXOODUH
LOWHPSR
0RGDOLWjGLVLFXUH]]D
3HUJDUDQWLUHODVLFXUH]]DGHLEDPELQLLOSLDQRGLFRWWXUDDG
LQGX]LRQHqLQVWDOODWRFRQXQGLVSRVLWLYRGLEORFFR
%ORFFDJJLR
,QPRGDOLWjGLIXQ]LRQDPHQWRSUHPHUHLOWDVWRTXLQGL
LOSLDQRGLFRWWXUDSDVVDDOODPRGDOLWjGLEORFFDJJLRLOWLPHU
YLVXDOL]]DHJOLDOWULWDVWLVRQRGLVDELOLWDWLDGHFFH]LRQH
GHOWDVWR
,QPRGDOLWjVWDQGE\SUHPHUHLOWDVWRORFNEORFFDJJLR
TXLQGLLOSLDQRGLFRWWXUDSDVVDDOODPRGDOLWjGLEORFFDJJLR
LOWLPHUPRVWUDHJOLDOWULWDVWLVRQRGLVDELOLWDWL,OWLPHU
PRVWUDSHUXQSRHSRLVLVSHJQH
6HVLSUHPHLOWDVWRVLYLVXDOL]]HUjSHUXQSR
6EORFFDJJLR
7HQHUHSUHPXWRLOWDVWR/RFN%ORFFDJJLRSHUVHFRQGLH
ODIXQ]LRQHGLEORFFDJJLRVDUjGLVDWWLYDWD
)XQ]LRQHVSHFLDOH
WDVWR)82&2/(172
OLYHOOR
WDVWR)82&20(',2
OLYHOOR
WDVWR)82&2$/72
OLYHOOR
$WWLYDUHODUHDVHOH]LRQDWDSUHPHQGRR
SUHPHUHLOWDVWR)82&2/(172OLQGLFDWRUHPRVWUHUj
SUHPHUHLOWDVWR)82&20(',2OLQGLFDWRUHPRVWUHUj
SUHPHUHLOWDVWR)82&2$/72OLQGLFDWRUHPRVWUHUj
)XQ]LRQHGLPHPRULD
ÊSRVVLELOHXWLOL]]DUHODIXQ]LRQHGLPHPRULDSHUVDOYDUHOH
LPSRVWD]LRQLGHOOLYHOORGLSRWHQ]DHODGXUDWDSHUXQDUHD
5HJLVWUD]LRQH
6HOH]LRQDUHODUHDGLFRWWXUDGHVLGHUDWDSUHPHQGRLOWDVWR
RFRQOLQGLFDWRUHGHOOLYHOORGLSRWHQ]DGLTXHOODUHD
ODPSHJJLDQWH
3UHPHUHLOWDVWRFRQOLQGLFDWRUHGHOWLPHUFKHPRVWUD
VLJQLILFDQHVVXQFLFORGLFRWWXUDLQPHPRULD
7HQHUHSUHPXWRLOWDVWRGLPHPRULDSHUVHFRQGLFRQ
OLQGLFDWRUHGHOWLPHUFKHPRVWUDODUHJLVWUD]LRQHKD
LQL]LR
OLQGLFDWRUHGHOOLYHOORGLSRWHQ]DPRVWUDDOWHUQDQGROLH
LOOLYHOORGLSRWHQ]D
,VWUX]LRQLSHUOXVR
34 IT
,OQXPHURPDVVLPRGLRSHUD]LRQLFRUULVSRQGHDYDULD]LRQL
GLOLYHOORGHOODSRWHQ]DLQRUH4XDOVLDVLYDULD]LRQHGHO
OLYHOORGLSRWHQ]DGHOODGXUDWDLQIHULRUHDVHFRQGLQRQ
YHUUjUHJLVWUDWD
$UUHVWRGHOODUHJLVWUD]LRQH
3UHPHUHQXRYDPHQWHLOWDVWRGLPHPRULDQRQVDUj
SLYLVXDOL]]DWRVXOGLVSOD\GHOWLPHUHLOFLFORGLFRWWXUDVDUj
VDOYDWR

23385(
6SHJQHUHODUHDGLFRWWXUDFRUULVSRQGHQWHSUHPHQGR
FRQWHPSRUDQHDPHQWHHRSSXUHLPSRVWDQGRLO
OLYHOORGLSRWHQ]DVXQRQVDUjSLYLVXDOL]]DWR
VXOGLVSOD\GHOWLPHUHLOFLFORGLFRWWXUDVDUjVDOYDWR
23385(
5LPXRYHUHODSHQWRODGDOODUHDGLFRWWXUDFRUULVSRQGHQWH
4XDQGRODUHDULOHYDODVVHQ]DGHOODSHQWRODQRQ
VDUjSLYLVXDOL]]DWRVXOGLVSOD\GHOWLPHUHLOFLFORGL
FRWWXUDVDUjVDOYDWR
23385(
(VHJXLUHROWUHYDULD]LRQLGLLPSRVWD]LRQHGLOLYHOOR
GHOODSRWHQ]DQRQVDUjSLYLVXDOL]]DWRVXO
GLVSOD\GHOWLPHUHLOFLFORGLFRWWXUDVDUjVDOYDWR
23385(
VSHJQHUHLOSLDQRGLFRWWXUDLQWDOFDVRODUHJLVWUD]LRQH
GHOFLFORGLFRWWXUDVDUjDXWRPDWLFDPHQWHLQWHUURWWR
23385(
VSHJQHUHODUHDGLFRWWXUDUHJLVWUDWDHQWURVHFRQGL
GDOOLQL]LRGHOODUHJLVWUD]LRQHLQWDOFDVRODUHJLVWUD]LRQH
GHOFLFORGLFRWWXUDVDUjDXWRPDWLFDPHQWHLQWHUURWWR
(VHJXLUHXQFLFORGLFRWWXUDUHJLVWUDWR
3UHPHUHLOWDVWRGLPHPRULDOLQGLFDWRUHGHOWLPHUYLVXDOL]]D
LOWDVWRSHUVHFRQGLTXLQGL/DUHD
FRUULVSRQGHQWHDOFLFORGLFRWWXUDUHJLVWUDWRVLDFFHQGHUjHG
LQL]LHUjDGHVHJXLUHLOFLFOR
6HODUHDFRUULVSRQGHQWHHUDJLjDFFHVDLOFLFORGLFRWWXUD
UHJLVWUDWRDYUjODSUHFHGHQ]DHVDUjHVHJXLWR
6HGXUDQWHOHVHFX]LRQHGHOFLFORGLFRWWXUDUHJLVWUDWRFRQLO
WDVWR³´R³´SHUODUHDFRUULVSRQGHQWHLOFLFORGLFRWWXUD
UHJLVWUDWRVLLQWHUURPSHHGqFRPXQTXHULSULVWLQDWDOD
QRUPDOHJHVWLRQHLOFLFORGLFRWWXUDVDOYDWRqPDQWHQXWRLQ
PHPRULD
&RPHUHJLVWUDUHXQQXRYRFLFORGLFRWWXUD
VHQHqVWDWRJLjUHJLVWUDWRXQDOWUR
$WWLYDUHODUHDGLFRWWXUDFKHVLYXROHUHJLVWUDUHSUHPHQGR
R
7HQHUHSUHPXWRLOWDVWRSHUXQSRHDSSDULUj
VLJQLILFDDUHDGLFRWWXUDVDOYDWDLQPHPRULD
4XLQGLVDUjYLVXDOL]]DWRODUHJLVWUD]LRQHGHOFLFORSHU
ODUHDVHOH]LRQDWDKDLQL]LR
/DSRWHQ]DPDVVLPDGHOOHDUHHGLFRWWXUDq
ODVHJXHQWH
1RUPDOH
$XPHQWRGHOODSRWHQ]D
$UHDGL
ULVFDOGDPHQWR
,VWUX]LRQLSHUOXVR
Le potenze indicate possono variare a seconda del
materiale di cui è fatta la pentola e delle sue dimensioni.
35 IT
Area flessibile
Questa area può essere utilizzata come singola zona o come
due differenti zone; ciò dipende dalle varie esigenze.
L’area flessibile è composta da due induttori indipendenti che
possono essere controllati separatamente. Quando è in funzione
solo la singola zona, la parte che non è occupata dalla pentola si
spegne automaticamente dopo un minuto.
Per garantire un rilevamento corretto della pentola e una
distribuzione uniforme del calore, la pentola deve essere
posizionata adeguatamente:
-nella parte anteriore o posteriore della zona flessibile quando
la pentola è inferiore a 22 cm
-ovunque se di maggiori dimensioni
Come grande zona
Per attivare l’area flessibile come singola grande area, premere
il tasto dedicato.
L’impostazione della potenza funziona come qualsiasi altra area.
Se la pentola viene spostata dalla parte anteriore a quella
posteriore (o viceversa), l’area flessibile rileva automaticamente
la nuova posizione mantenendo la stessa potenza.
Come due zone indipendenti
Per utilizzare l’area flessibile come due zone differenti con
diversi livelli di intensità, premere i tasti dedicati.
6
7
8
Flexible
Area
9
Una spia luminosa si accenderà per indicare che la zona flessibile
è stata attivata
Se l'area flessibile è attiva, premere il tasto dedicato per spegnerla,
prima di usarla come due zone separate
Nota: qualora la vostra cucina fosse dotata di una cappa, si suggerisce
di accenderla qualche
minuto prima di iniziare a cucinare e di
spegnerla qualche minuto dopo.
1800
3000
3000
4000
3000
1800
3000
1800
1800
3000

• Prima di eseguire qualsiasi operazione di manutenzione
sulla piastra, è necessario attendere che si sia raffreddata.
• Utilizzare solo prodotti (detergenti in crema e raschietti)
progettati specificatamente per le superfici in vetro-ceramica.
Sono in vendita presso i negozi di ferramenta.
• Evitare versamenti, poiché qualsiasi cosa che cade sulla
superficie della piastra, brucia rapidamente e rende difficile
la pulizia.
• È consigliabile tenere lontano dalla piastra tutte le sostanze
che possono fondersi, come gli oggetti in plastica, lo
zucchero o i prodotti a base di zucchero.
MANUTENZIONE
- Versare alcune gocce dello speciale prodotto detergente
sulla superficie della piastra.
- Strofinare eventuali macchie ostinate con un panno morbido
o carta da cucina inumidita.
- Strofinare la superficie con un panno morbido o carta da
cucina f
inché è pulita.
In caso di macchie ostinate:
- Versare alcune gocce dello speciale liquido detergente
sulla superficie.
- Grattare con un raschietto, tenendolo inclinato di 30° rispetto
alla piastra, fino alla completa rimozione della macchia.
- Strofinare la su
perficie con un panno morbido o carta da
cucina finché è pulita.
- Ripetere l’operazione se necessario.
ALCUNI SUGGERIMENTI
La pulizia frequente lascia uno strato protettivo fondamentale
per prevenire graffi e usura. Assicurarsi che la superficie sia
pul
ita prima di utilizzare di nuovo la piastra. Per rimuovere i segni
lasciati dall’acqua, utilizzare alcune gocce di aceto o succo di
limone. Quindi fregare con carta assorbente e alcune gocce
dello speciale liquido detergente. La superficie in vetro-ceramica
è resistente allo sfregamento dei contenitori a fondo piatto,
tuttavia è sempre consigliato sollevarli per spostarli da una zona
all’altra.
NB:
Non utilizzare una spugna troppo bagnata. Non utilizzare
mai un coltello o un cacciavite.
Un raschietto con lama affilata non danneggia la superficie
se mantenuto inclinato di 30°.
Non lasciare il raschietto con lama affilata alla portata dei
bambini.
Non utilizzare mai prodotti abrasivi o polveri erosive.
RISOLUZIONE DEI PROBLEMI
La piastra a induzione va in corto circuito
.
• Normale. La ventola di cottura dei componenti elettronici è
accesa.
La piastra a induzione emette un lieve fischio.
• Normale. In base alla frequenza d’esercizio degli induttori, è
possibile che si verifichi l’emissione di un lieve fischio quando
vengono utilizzate molte zone di cottura alla potenza massima.
Le zone di cottura non mantengono il bollore o una capacità
di frittura sufficientemente rapida. • È
necessario utilizzare pentole a
ssolutamente piatte.
• Il fondo della pentola deve corrispondere al diametro della zona di
cottura selezionata.
ASSISTENZA POST-VEND
ITA
Prima di rivolgersi al servizio di assistenza, verificare quanto
segue: la spina è inserita correttamente e dotata di fusibile;
nell’impossibilità di identificare il guasto:
spegnere l’apparecchio – non manometterlo – rivolgersi al Centro
di Assistenza Post-vendita. L’apparecchio è accompagnato da
un certificato di garanzia che assicura che sarà riparato
gratuitamente presso il Centro di Assistenza.
PULIZIA E MANNUTENZIONE
Cottura lenta degli alimenti.
• Uso di pentole inadeguate. La base delle pentole deve essere
piana, sufficientemente pesante e avente lo stesso diametro della
zona di cottura selezionata.
Piccoli graffi
(fessure o abrasioni
)
possono comparire sulla
superficie in vetro della piastra
.
• Metodi di pulizia inadeguati, pentole con base ruvida o particelle
a grana grossa (sale o sabbia) intrappolate tra la pentola e la
superficie della piastra. Seguire le procedure di pulizia consigliate,
assicurarsi che le basi
delle pentole siano pulite prima dell’uso e
utilizzare solo pentole con basi lisce.
Segni metallici (scalfitture
).
- Non strusciare le pentole di alluminio sulla superficie della
piastra. Seguire la procedura di pulizia raccomandata per
rimuovere i segni.
• Sono sta ti usati prodotti di pulizia inadeguati , versamenti o
macchi
e di grasso permangono sulla superficie: utilizzare un
raschietto affilato e il prodotto di pulizia consigliato.
Striature scure o
macchioline
.
• Utilizzare un raschietto con lama affilata e prodotti detergenti
consigliati.
Aree scolorite sul piano di cottura
.
• Segni lasciati da pentole in alluminio e rame e i depositi minerali
di acqua e cibo possono essere rimossi con una crema
detergente.
Zucchero caldo / plastica fusa sulla superficie.
• Vedere la sezione Pulizia della piastra in vetro.
La piastra
è fuori servizio o alcune zone di cottura non
funzionano
.
• Le barre di derivazione non sono montate correttamente sulla
morsettiera. Verificare che il collegamento sia eseguito in conformità
con le istruzioni di pag. 23.
La piastra non funziona.
• Il pannello di controllo è bloccato. Premere il pulsante di blocco per
sbloccarlo.
La piastra non si disattiva
• Il pannello di controllo è bloccato. Premere il pulsante di blocco per
sbloccarlo. Fare riferimento alla sezione a pagina 26.
La piastra si disattiva automaticamente
• Le zone di cottura si disattivano automaticamente quando
vengono lasciate accese troppo a lungo. Fare riferimento alla
sezione a pagina 24.
Frequenza delle operazioni di accensione/spegnimento
delle
zone di cottura
• I cicli di accensione/spegnimento variano in base al livello di
calore richiesto:
-basso livello: breve tempo di funzionamento
-alto livello: tempo di funzionamento prolungato.
30° Maxi
Sull'unità è riportato il simbolo di conformità
con la direttiva europea 2012/19/EU relativa
allo smaltimento di apparecchiature elettriche
ed elettroniche usate (WEEE).
Garantendo il corretto smaltimento del
prodotto, è possibile evitare conseguenze
potenzialmente negative per l’ambiente e per
la sal
ute dell’uomo, che potrebbero altrimenti
essere causate da uno smaltimento
inappropriato del prodotto.
Il simbolo sul prodotto indica che non può essere smaltito come
rifiuto domestico.
Al contrario, deve essere trasportato al punto di raccolta preposto
per il riciclaggio delle apparecchiature elettriche ed elettroniche.
Lo smalt
imento deve essere effettuato in conformità con le
normative locali in materia di smaltimento rifiuti. Per informazioni
più dettagliate sul trattamento, il recupero e il riciclaggio dell'unità,
rivolgersi all'ufficio pertinente di zona, alla società responsabile
dello smaltimento dei rifiuti urbani o al rivenditore dal quale è
stata acquistata.
36 IT

BezpieczeĔstwo i konserwacja
37 PL
8:$*$ 3RGF]DV SUDF\XU]ąG]HQLHRUD]MHJR HOHPHQW\ Vą
JRUąFH1DOHĪ\]DFKRZDF RVWURĪQRĞü L QLH GRW\NDüJRUąF\FK
F]ĊĞFL
']LHFL Z ZLHNX GR ODW QLH PRJą ]EOLĪDü VLĊ GR XU]ąG]HQLD
FK\EDĪHSR]RVWDMDRQHSRGFLąJá\PQDG]RUHP
']LHFL Z ZLHNX SRZ\ĪHM ODW RUDz ososby z ograniczeniami
UXFKRZ\PL XP\VáRZ\PL F]XFLRZ\PL OXE QLH SRVLDGDMąFH
RGSRZLHGQLHM ZLHG]\ OXE GRĞZLDGF]HQLD PRJą REVáXJLZDü
XU]ąG]HQLH MHG\QLH SRG QDG]RUHP OXE SR SU]HV]NROHQLX
RGQRĞQLHEH]SLHF]QHJRX]\NRZDQLDXU]ąG]HQLDL]ZLą]DQ\FK
]W\P]DJURĪHĔ
']LHFLQLHPRJąEDZLüVLĊXU]ąG]HQLHP
']LHFL EH] QDG]RUX QLH PRJą REVáXJLZDF DQL F]\ĞFLü
XU]ąG]HQLD
8:$*$JRWRZDQLHQDSá\FLH]XĪ\FLHPROHMXOXEWáXV]F]XEH]
QDG]RUXPRĪHE\üQLHEH]SLHF]QHLVSRZRGRZDüSRĪDU
1,*'< QLH JDVLü RJQLD ZRGą QDOHĪ\ Z\áąF]\F XU]ąG]HQLH L
SU]\NU\üSáRPLHĔQSSRNU\ZNąOXENRFHPRJQLRRGSRUQ\P
8:$*$QLHEH]SLHF]HĔVWZRSRĪDUX1LHZROQRSU]FKRZ\ZDü
przedmiotów na powierzchniach grzejnych.
8:$*$ Z UD]LH XV]NRG]HQLD SRZLHU]FKQL QDOHĪ\ Z\áąF]\ü
XU]ąG]HQLHDE\XQLNQąüQLHEH]SLHF]HĔVWZDSRUDĪHQLDSUąGHP
elektrycznym.
1LHVWRVRZDüGRF]\V]F]HQLDXU]ąG]HĔSDURZ\FK
W związku z umieszczeniem znaku CE na produkcie, na własną
odpowiedzialność deklarujemy zgodność produktu z wymogami
prawnymi dotyczącymi bezpieczeństwa, zdrowia i środowiska
obowiązującymi we Wspólnocie Europejskiej.

38 PL
BezpieczeĔstwo i konserwacja
XVXQąüZ\ODQ\Sá\Q]SRNU\Z\SU]HG otwarciem.
3RF]HNDüDĪSRZLHU]FKQLDSá\W\RVW\JQLHSU]HG]DPNQLĊFLHP
pokrywy.
3RX]\WNRZDQLXQDOHĪ\Z\áąF]\üSá\WĊ]DSRPRFąVWHURZDQLD
XNáDGGHWHNFMLJDUQNDQLHVáXĪ\GRMHMZ\áąF]DQLD
XU]ąG]HQLHQLHMHVWSU]H]QDF]RQHGRVWHURZDQLD]HZQĊWU]Q\P
minutnikiem OXERGG]LHOQ\PXNáDGHP]GDOQHJRVWHURZDQLD
:\áąF]QLN PXVL E\ü SRGáąF]RQ\ GR RNDEORZDQLD ]JRGQLH ]
RERZLą]XMDF\PLSU]HSLVDPL
LQVWUXNFMD PXVL RNUHĞODü MDNL URG]DM SU]HZRGX PRĪH E\ü
]DVWRVRZDQ\ ] XZ]JOHGQLHQLHP WHPSHUDWXU\ W\OQHM ĞFLDQNL
XU]ąG]HQLD
-HĪHOL SU]HZyG ]DVLODMąF\ MHVW XV]NRG]RQ\ PXVL E\ü
wymieniony przez producenta lub autoryzowany serwis tak
DE\XQLNQąFwszelkiego ryzyka.
8:$*$ Z FHOX XQLNQLĊFLD ]DJURĪHĔ ]ZLą]DQ\FK ]
SU]\SDGNRZ\P ]DG]LDáDQLHP ]DEH]SLHF]HĔ WHUPLF]Q\FK
XU]ąG]HQLH QLH PRĪH E\ü ]Dsilane z sieci sterowanej
QLH]DOHĪQLH OXE ] REZRGyZ NWyUH Vą UHJXODUQLH ZáąF]DQH L
Z\áąF]DQH
PSB[QS[FQJTZ[HPEOPžDJFMFLUSPNBHOFUZD[OFK
0TUS[FƒFOJFVS[ŕE[FOJFTQFOJBPCPXJŕ[VKŕDFQS[FQJTZCF[QJFD[FŴTUXB
/JFNOJFKKFEOBLUP
VS[ŕE[FOJFOJFQPXJOOPCZŗPCTVHJXBOFQS[F[PTPCZQPTJBEBKŕDF
SP[SVT[OJLJTFSDB/JFNPƒMJXFKFTU
[BHXBSBOUPXBOJFƒFXT[ZTULJFUBLJF
BQBSBUZ[OBKEVKŕDFTJŢOBSZOLVTQFOJBKŕPCPXJŕ[VKŕDFQS[FQJTZ
CF[QJFD[FŴTUXBPSB[
QS[FQJTZ[HPEOPžDJFMFLUSPNBHOFUZD[OFKBUBLƒF
ƒFUBLJFOJFCF[QJFD[FŴTUXPOJFCŢE[JFNJFŗNJFKTDB+FTUSØXOJFƒ
NPƒMJXFƒF
PTPCZVƒZXBKŕDFJOOZDIBQBSBUØXUBLJDIKBLBQBSBUZ
TVDIPXFNPHŕEPžXJBED[ZŗQFXOFHPEZTLPNGPSUV
3U]HGPLRW\PHWDORZHMDNV]WXüFHSRNU\ZNLLWSQLHPRJąOHĪHü
QDSá\FLHJG\ĪEĊGąVLĊQDJU]HZDü

"#:+",/"+-&1*&+6ő:5,08"Ė1:5ġ/"-&ő:%0,"%/*&13;&$;:5"Ė*/4536,$+ġ0#46(*
;BMFDBTJŢ[BDIPXBOJFJOTUSVLDKJJOTUBMBDKJJVƒZULPXBOJBBQS[FE[BJOTUBMPXBOJFNQZUZTQJTBOJFOVNFSVTFSZKOFHPVNJFT[D[POFHPQPETQPEFN
PCVEPXZOBXZQBEFLQPUS[FCZV[ZTLBOJBQPNPDZTFSXJTV
1ZULBJEFOUZmLBDZKOB
[MPLBMJ[PXBOBOBTQPE[JFPCVEPXZQZUZ
68"(*0(»-/&
ÃSàOLPEVyyyyyyy
4FSJ/Pyyyyyyyy
1:5"(3;&+/"
4USFGZHS[FKOF */%6,$:+/&UZQV#PPTUFS
/BQJŢDJF[BTJMBOJB
7)[
7)[
.PDFMFLUSZD[OB
[BJOTUBMPXBOB8
8ZNJBSZQSPEVLUV
%Y4[FSY8ZTNN
8ZNJBSZ[BCVEPXZ
"Y#
Y
4UBMFEŕƒZNZEPQPQSBXJBOJBKBLPžDJQSPEVLUØXJNPƒFNZEPLPOZXBŗNPEZmLBDKJVS[ŕE[FŴBCZXQSPXBE[BŗOBKOPXT[FVMFQT[FOJB
UFDIOJD[OF
1ZUZJOEVLDZKOFTŕ[HPEOF[%ZSFLUZXBNJ&VSPQFKTLJNJ$&&PSB[$&&[BTUŕQJPOZNJQS[F[&$PSB[&$B
UBLƒFQØƑOJFKT[ZNJ[NJBOBNJ
7200
590 X 520 X 55
39 PL
HIFD440BC

*/45"-"$+"
;"#6%08"
10%Ĕ$;&/*&%04*&$*;"4*-"+Ĕ$&+
;BCVEPXBNFCMPXBXLUØSFKNB[PTUBŗ[BJOTUBMPXBOBQZUBPSB[
NFCMF QS[ZMFHF QPXJOOZ CZŗ XZLPOBOF [ NBUFSJBØX PEQPSOZDI
OB E[JBBOJF XZTPLJDI UFNQFSBUVS QPOBEUP XT[ZTULJF MBNJOBUZ
EFLPSBDZKOFQPXJOOZCZŗQS[ZUXJFSE[POFLMFKFNUFSNPPEQPSOZN
*OTUBMBDKB
8SB[[QZUŕEPTUBSD[BOBKFTUXPEPPEQPSOBVT[D[FMLB
1S[FEEPQBTPXBOJFN
PEXSØDJŗQZUŢOBPEXSØUT[LMBOŕQPXJFS[DIOJŕXTLJFSPXBOŕLV
EPPXJ6QFXOJŗTJŢƒFT[LPKFTU[BCF[QJFD[POF
%PQBTPXBŗVT[D[FMLŢXPLØQZUZ
6QFXOJŗ TJŢ ƒF KFTU PEQPXJFEOJP EPQBTPXBOB BCZ VOJLOŕŗ
QS[FDJFLØXEPT[BGLJQPEQJFSBKŕDFK
*TUPUOF KFTU BCZ EPQBTPXBŗ QZUŢ OB SØXOFK QPXJFS[DIOJ
QPEQBSDJB
%FGPSNBDKFTQPXPEPXBOFQS[F[OJFXBžDJXFEPQBTPXBOJFNPHŕ
[NJFOJŗTQFDZmLBDKF
CMBUVLVDIFOOFHPPSB[E[JBBOJBQZUZ
1P[PTUBXJŗ DPOBKNOJFK DN PETUŢQV NJŢE[Z VS[ŕE[FOJFN PSB[
XT[FMLJNJTŕTJBEVKŕDZNJQPXJFS[DIOJBNJQJPOPXZNJ
,POJFD[OFKFTUBCZXOŢLB[HBE[BBTJŢ[F
XTLB[BOZNJXZNJBSBNJ
8 CMBDJF LVDIFOOZN XZDJŕŗ PUXØS PSP[NJBS[F QS[FETUBXJPOZN
X TDIFNBDJF QPOJƒFK 8PLØ PUXPSV QPXJOOB [PTUBŗ [BDIPXBOB
QS[FTUS[FŴDPOBKNOJFKNN
#MBUQPXJOJFONJFŗHSVCPžŗDPOBKNOJFKNNJCZŗXZLPOBOZ[
UFSNPPEQPSOFHPNBUFSJBV+BLQS[FETUBXJPOPOBSZT
i*OTUBMBDKBNVTJCZŗ[HPEOB[FTUBOEBSEPXZNJEZSFLUZXBNJw
1SPEVDFOU [S[FLB TJŢ XT[FMLJFK PEQPXJFE[JBMOPžDJ [B KBLJFLPMXJFL
T[LPEZ LUØSF NPHŕ CZŗ TQPXPEPXBOF OJFXBžDJXZN CŕEƑ
OJFSP[TŕEOZNVƒZULPXBOJFN
0TUS[FƒFOJF
1S[FEXT[FMLJNJ QPEŕD[FOJBNJ EP [BTJMBOJB FMFLUSZD[OFHPOBMFƒZ
[BXT[F TQSBXE[Jŗ OBQJŢDJF [BTJMBOJB XTLB[ZXBOF OB NJFSOJLV
FMFLUSZD[OZNSFHVMBDKŢXZŕD[OJLBDJŕHPžŗV[JFNJFOJB[JOTUBMBDKŕ
PSB[PEQPXJFEOJCF[QJFD[OJL"
1PEŕD[FOJF [BTJMBOJB FMFLUSZD[OFHP EP JOTUBMBDKJ QPXJOOP
QS[FCJFHBŗ QS[F[ HOJB[EP [ XUZD[Lŕ [ V[JFNJFOJFN CŕEƑ QS[F[
XZŕD[OJL XJFMPTUZLPXZ PEMFHPžŗ TUZLØX SPCPD[ZDI QPXJOOB
XZOPTJŗDPOBKNOJFKNN
+FžMJ VS[ŕE[FOJF QPTJBEB HOJB[ELP XUZD[LPXF VS[ŕE[FOJF UP NVTJ
CZŗ[BJOTUBMPXBOFUBLBCZCZ[BDIPXBOZEPTUŢQEPHOJB[ELB
1S[FXØEƒØUZ[JFMPOZPELBCMB[BTJMBOJBFMFLUSZD[OFHPNVTJCZŗ
QPEŕD[POZEPV[JFNJFOJB[BTJMBOJBPSB[QS[ZŕD[FŴVS[ŕE[FOJB
1SPEVDFOUOJFNPƒFQPOPTJŗPEQPXJFE[JBMOPžDJ[BXT[FMLJFXZQBELJ
CŢEŕDFOBTUŢQTUXFNVƒZULPXBOJBVS[ŕE[FOJBOJFQPEŕD[POFHPEP
V[JFNJFOJBMVCQPTJBEBKŕDFHPXBEMJXŕDJŕHPžŗV[JFNJFOJB
8T[FMLJFLXFTUJFEPUZD[ŕDFT[OVSB[BTJMBOJBQPXJOOZCZŗTLJFSPXBOF
EP0CTVHJQPTQS[FEBƒPXFKMVCXZLXBMJmLPXBOFHPUFDIOJLB
+FžMJLBCFMKFTUVT[LPE[POZMVCXZNBHBXZNJBOZD[ZOOPžŗNVTJ
QS[FQSPXBE[Jŗ BHFOU TQS[FEBƒZ OBS[ŢE[JBNJ QS[F[OBD[POZNJ EP
UBLJFK OBQSBXZBCZVOJLOŕŗ XZQBELV1S[FXPEZQPŕD[Zŗ [HPEOJF
[OBTUŢQVKŕDZNJ
LPMPSBNJLPEBNJ
/*&#*&4,*/&653"-/:/
#3Ĕ;08:o'";"-
ő»5:;*&-0/:6;*&.*&/*&
1PEŕD[FOJFEP[BTJMBOJB
(OJB[ELP QPXJOOP CZŗ QPEŕD[POF [HPEOJF [F TUPTPXOZNJ
TUBOEBSEBNJEPKFEOPQVOLUPXFHPXZŕD[OJLB.FUPEBQPEŕD[FOJB
KFTUQS[FETUBXJPOBOBSZT
,BCFMOJFNPƒFCZŗ[HJŢUZMVCžDJžOJŢUZ
*OTUBMBDKBVS[ŕE[FOJBEPNPXFHPVƒZULVNPƒFTUBOPXJŗLPQPUMJXŕPQFSBDKŢLUØSBKFžMJOJFKFTUXBžDJXJFQS[FQSPXBE[POBNPƒF
QPXBƒOJF[BXBƒZŗOBCF[QJFD[FŴTUXJFLPOTVNFOUB;UFHPQPXPEVD[ZOOPžŗQPXJOOBCZŗXZLPOBOBQS[F[QSPGFTKPOBMJTUŢLUØSZ
QS[FQSPXBE[JKŕ[HPEOJF[PCPXJŕ[VKŕDZNJQS[FQJTBNJUFDIOJD[OZNJ8QS[ZQBELVHEZUBXTLB[ØXLB[PTUBOJF[MFLDFXBƒPOB
BJOTUBMBDKB[PTUBOJFQS[FQSPXBE[POBQS[F[PTPCŢOJFXZLXBMJmLPXBOŕ1SPEVDFOU[S[FLB TJŢ XT[FMLJFKPEQPXJFE[JBMOPžDJ[B
KBLJFLPMXJFLEFGFLUZUFDIOJD[OFQSPEVLUVOJF[BMFƒOJFPEUFHPD[ZTUBOPXJŕƑSØEPVT[LPE[FŴBSUZLVØXCŕEƑVSB[ØXPTØC
6T[D[FMLB
/JFXPMOP[BCVEPXBŗQZUZOBEQJFLBSOJLJFNCF[XFOUZMBUPSB
[NZXBSLŕEPOBD[ZŴMPEØXLŕ[BNSBƒBSLŕCŕEƑQSBMLŕ
*TUPUOFKFTUBCZQZUBJOEVLDZKOBCZBEPCS[FQS[FXJFUS[BOBB
XMPUJVKžDJFQPXJFUS[BOJFCZZ[BCMPLPXBOF6QFXOJŗTJŢƒFQZUB
KFTU[BJOTUBMPXBOBQPQSBXOJFKBLQS[FETUBXJBSZT
8-05
108*&53;"
6+Ľ$*&108*&53;"
/#%MBCF[QJFD[FŴTUXBPETUŢQNJŢE[ZQZUŕBNFCMBNJQPXZƒFK
QPXJOJFONJFŗDPOBKNOJFKNN
Grey
L1 L2
N1 N2
40 PL
mm
56 cm
49 cm
+0.4
+0.1
+0.4
+0.1

130$&%63"6ő:5,08"/*"
&MFLUSPOJD[OZ HFOFSBUPS [BTJMB TQJSBMŢ [MPLBMJ[PXBOŕ XFXOŕUS[
VS[ŕE[FOJB
5B TQJSBMB XZUXBS[B QPMF NBHOFUZD[OF X UBLJ TQPTØC ƒF QP
VNJFT[D[FOJV OBD[ZOJB OB QZDJF QS[FOJLBKŕ QS[F[ OJF QSŕEZ
JOEVLPXBOF
5FQSŕEZD[ZOJŕ[OBD[ZOJBQSBXE[JXZXZNJFOOJLDJFQBOBUPNJBTU
QZUBT[LMBOPDFSBNJD[OBQP[PTUBKF[JNOB
5BLJTZTUFNKFTU[BQSPKFLUPXBOZEPVƒZULPXBOJBXSB[[OBD[ZOJBNJ
QPTJBEBKŕDZNJEOBNBHOFUZD[OF
.ØXJŕDQSPžDJFKUFDIOPMPHJBJOEVLDKJQPTJBEBEXJFHØXOF[BMFUZ
LJFEZ DJFQP KFTU XZE[JFMBOF XZŕD[OJF QS[F[ OBD[ZOJF UP DJFQP
KFTUVUS[ZNZXBOFOBTXPJNNBLTZNBMOZNQP[JPNJFBHPUPXBOJF
PECZXBTJŢCF[KBLJFKLPMXJFLKFHPTUSBUZ
#F[XBEOPžŗ DJFQMOBOJF XZTUŢQVKFHEZƒ HPUPXBOJF SP[QPD[ZOB
TJŢBVUPNBUZD[OJF[DIXJMŕVNJFT[D[FOJBOBD[ZOJBOBQZDJFBLPŴD[Z
[DIXJMŕKFHP[EKŢDJB
63;Ĕ%;&/*&#&;1*&$;&ij458"
0DISPOBQS[FEOBENJFSOŕUFNQFSBUVSŕ
$[VKOJLLPOUSPMVKFUFNQFSBUVSŢQØMHS[FKOZDI
,JFEZUFNQFSBUVSBQS[FLSBD[BCF[QJFD[OZQP[JPNQPMFHS[FKOF
[PTUBKFBVUPNBUZD[OJFXZŕD[POF
0TUS[FƒFOJFPDJFQMFSFT[ULPXZN
,JFEZ QZUB QP[PTUBXBB QS[F[ QFXJFO D[BT X VƒZULV CŢE[JF
XZTUŢQPXBŗ DJFQP SFT[ULPXF -JUFSBi)w QPKBXJB TJŢ CZ PTUS[FHBŗ
QS[FE[CMJƒBOJFNTJŢEPQZUZ
"VUPNBUZD[OFXZŕD[BOJF
,PMFKOŕDFDIŕCF[QJFD[FŴTUXBQZUZJOEVLDZKOFKKFTUBVUPNBUZD[OF
XZŕD[BOJF
/BTUŢQVKF POP X QS[ZQBELV [BQPNOJFOJB P XZŕD[FOJV TUSFGZ
HS[FKOFK
%PNZžMOFD[BTZXZŕD[BOJBTŕQS[FETUBXJPOFXUBCFMJQPOJƒFK
*/%6,$+"
t /BMFƒZ VƒZXBŗ EPCSFK KBLPžDJ OBD[ZŴ LVDIFOOZDI P QBTLJDI J
HSVCZDIEOBDIUZMLPUBLJFOBS[ŢE[JBVDISPOJŕQS[FEXZTUŕQJFOJFN
HPSŕDZDINJFKTDQPXPEVKŕDZDIQS[ZMFHBOJFQPUSBXEPEOB(SVCF
NFUBMPXFOBD[ZOJB[BQFXOJŕSØXOFSP[QS[FTUS[FOJBOJFTJŢDJFQB
t /BMFƒZ VQFXOJŗ TJŢ ƒF QPETUBXB OBD[ZOJB KFTU TVDIB QPED[BT
OBQFOJBOJB OBD[ZOJB QZOBNJ MVC VƒZXBOJF OBD[ZOJB LUØSF CZP
QS[FDIPXZXBOFXMPEØXDFOBMFƒZVQFXOJŗTJŢƒFKFHPQPETUBXB
KFTUDBLPXJDJFTVDIBQS[FEVNJFT[D[FOJFNHPOBQZDJF1PNPƒFUP
VOJLOŕŗ[BQMBNJFOJBQZUZ
t 1PETUBXB OBD[ZOJB QPXJOOB CZŗ XZTUBSD[BKŕDP T[FSPLB BCZ
DBLPXJDJFQPLSZXBB QPMF HS[FKOFSP[NJBSOBD[ZOJB OJFQPXJOJFO
CZŗNOJFKT[Z PEQPMB HS[FKOFHP+FžMJ OBD[ZOJF KFTU USPDIŢT[FST[F
FOFSHJB CŢE[JF XZLPS[ZTUZXBOB X NBLTZNBMOZN TUPQOJV
XZEBKOPžDJ
1POJƒT[F JOGPSNBDKF VNPƒMJXJŕ UBLJ EPCØS OBD[ZŴ BCZV[ZTLBŗ KBL
OBKMFQT[ZSF[VMUBU
453&'"*/%6,$:+/"
0;/"$;&/*&/"413;ġ$*& 4QSBXE[JŗOBFUZLJFDJFP[OBD[FOJF
,6$)&//:. LUØSFQS[FETUBXJBƒFOBD[ZOJFKFTU
LPNQBUZCJMOF[JOEVLDKŕ
6ƒZXBŗOBD[ZŴNBHOFUZD[OZDI
FNBMJPXBOBCMBDIBGFSSZUZD[OB
ƒFMJXOBTUBMOJFSE[FXOBEPEOB
OBD[ZOJBQS[ZPƒZŗNBHOFTNVTJPO
QS[ZMFHBŗ
45"-/*&3%;&8/" /JFXZLSZXBMOF
;XZKŕULJFNGFSSPNBHOFUZD[OFKTUBMJ
OJFSE[FXOFK
"-6.*/*6. /JFXZLSZXBMOF
ő&-*80 %PCSFE[JBBOJF
45"-&."-*08"/" %PCSFE[JBBOJF
4;,0 /JFXZLSZXBMOF
103$&-"/" /JFXZLSZXBMOF
10%45"8".*&%;*08" /JFXZLSZXBMOF
4$)&."5:$;/:%*"(3".1"/&-645&308"/*"
/BD[ZOJF
[BNJFOJBKŕDFQSŕEZ
JOEVLDZKOFOB
DJFQP
1SŕEZJOEVLDZKOF
#MBUXJUSPDFSBNJD[OZ
41*3"-"
13;:10./*&/*&1BDKFODJ[SP[SVT[OJLJFNTFSDBQPXJOOJVƒZULPXBŗ
UFOQSPEVLU[HPEOJF[FXTLB[ØXLBNJMFLBS[B
%0#»3/"$;:ij
%MB[BQFXOJFOJBOBKMFQT[FHPE[JBBOJBQZUZEFDZEVKŕDF[OBD[FOJFNB
VƒZXBOJFOBD[ZŴLVDIFOOZDIEPCSFKKBLPžDJ
6q:
;q65
66q69
=^ekhi
9^ekhi
7^ekhi
6:
6^ekhi
41 PL
1. Power regular key
2. Timer regular key
5. Memory
3. Booster
4. Special function
6. Lock
7. On/Off
1
1
388567
4
2
8.
Flexible Area activation

,QVWUXNFMDXİ\WNRZDQLD
3U]\SRGáąF]DQLXGR]DVLODQLDEU]ĊF]\NZ\GDMHGHQV\JQDá
GĨZLĊNRZ\ZV]\VWNLHZVNDĨQLNL]DSDOąVLĊQDVHNXQGĊD
QDVWĊSQLH]JDVQą3á\WDJU]HZF]DMHVWWHUD]ZWU\ELH
RF]HNLZDQLD
8PLHĞüURQGHOZĞURGNXVWUHI\JRWRZDQLD
,QVWUXNFMDREVãXJL
1DFLĞQLMSU]\FLVNZV]\VWNLHZVNDĨQLNLSRND]XMą
:\ELHU]SR]LRPPRF\QDFLVNDMąFSU]\FLVNOXEGOD
GDQHMSá\W\JU]HMQHM1DSRF]ąWNXZVNDĨQLNSRNDĪHOXE
JG\QDFLĞQLHV]SU]\FLVNOXE:\UHJXOXM
QDFLVNDMąFSU]\FLVNOXE
-HĞOLQDFLĞQLHV]SU]\FLVNLOXEZW\PVDP\PF]DVLH
XVWDZLHQLHPRF\SRZUyFLGRDVWUHIDJRWRZDQLD
Z\áąF]\VLĊ
=ZUyüXZDJĊĪH.LHG\QDFLĞQLHV]SU]\FLVNSá\WD
LQGXNF\MQDSRZUyFLGRWU\EXRF]HNLZDQLDZFLąJXPLQXW
MHĞOLĪDGQDLQQDIXQNFMDQLHMHVWZW\PPRPHQFLHDNW\ZQD
)XQNFMDV]\EV]HJRQDJU]HZDQLD
%RRVW
1DFLĞQLMSU]\FLVNZVNDĨQLNSR]LRPXPRF\SRND]XMH
2VWU]HĪHQLH
)XQNFMDV]\EV]HJRQDJU]HZDQLDG]LDáDW\ONRSU]H]
PLQXWSRF]\PVWUHIDJRWRZDQLDSRZUDFDGRSLHUZRWQHJR
XVWDZLHQLD
)XQNFMĊV]\EV]HJRQDJU]HZDQLDPRĪQDXVWDZLDüGOD
ZV]\VWNLFKVWUHIJRWRZDQLD
.LHG\IXQNFMDV]\EV]HJRQDJU]HZDQLDMHVWZáąF]RQDZ
SLHUZV]HMVWUHILHJRWRZDQLDGUXJDVWUHIDJRWRZDQLD
]RVWDMHDXWRPDW\F]QLH]DEORNRZDQDQDSR]LRPLHL
RGZURWQLH.LHG\IXQNFMDV]\EV]HJRQDJU]HZDQLDMHVW
ZáąF]RQDZWU]HFLHMVWUHILHJRWRZDQLDF]ZDUWDVWUHID
JRWRZDQLD]RVWDMHDXWRPDW\F]QLH]DEORNRZDQDQD
SR]LRPLHLRGZURWQLH
:\áąF]HQLHWU\EXV]\EV]HJRQDJU]HZDQLD
%2267
:\áąF]WU\EV]\EV]HJRQDJU]HZDQLD%RRVWQDFLVNDMąFSU]\FLVN
OXEGODGDQHMVWUHI\JRWRZDQLD
3URJUDPDWRUF]DVRZ\
-HĞOLZLĊFHMQLĪMHGQDVWUHIDMHVWZáąF]RQD
ZáąF]Z\EUDQąVWUHIĊQDFLVNDMąFSU]\FLVNOXEGODWHM
VWUHI\RGSRZLHGQLHF\IU\]DF]QąPLJDü
QDVWĊSQLHQDFLĞQLMSU]\FLVNSURJUDPDWRUDF]DVRZHJROXE
ÄÄZVNDĨQLNSR]LRPXPRF\]DF]QLHPLJDüL
SRNDĪH³³ZVNDĨQLNSURJUDPDWRUDF]DVRZHJR]DF]QLHPLJDü
1DSRF]ąWNXJG\ZVNDĨQLNSRNDĪHXVWDZF]DV
QDFLVNDMąFSU]\FLVNOXE3RXVWDZLHQLXF]DVXPRĪHV]
Z\EUDüSR]LRPPRF\GODGDQHMVWUHI\JRWRZDQLD
1DVWĊSQLHXVWDZF]DVRGPLQXW\GRJRG]LQLPLQXW
QDFLVNDMąFSU]\FLVNOXESU]\FLVN
3RMHG\QF]HQDFLĞQLĊFLHSU]\FLVNX]ZLĊNV]DF]DVRMHGQą
PLQXWĊ
SU]\WU]\PDQLHSU]\FLVNX]ZLĊNV]DF]DVRPLQXW
.LHG\F]DVSU]HNUDF]DJRG]LQĊSU]\WU]\PDQLHSU]\FLVNX
]ZLĊNV]DF]DVRPLQXW
3RMHG\QF]HQDFLĞQLĊFLHSU]\FLVNX]PQLHMV]DF]DVRMHGQą
PLQXWĊ
SU]\WU]\PDQLHSU]\FLVNX]PQLHMV]DF]DVRPLQXW
.LHG\F]DVSU]HNUDF]DJRG]LQ\SU]\WU]\PDQLHSU]\FLVNX
]PQLHMV]DF]DVRPLQXW
0RĪHV]XVWDZLüSR]LRPPRF\ZWU\ELHSURJUDPDWRUD
F]DVRZHJR
-HĞOLSURJUDPDWRUF]DVRZ\G]LDáDNLONX
VWUHIDFKMHGQRF]HĞQLH
3URJUDPDWRUF]DVRZ\PRĪQDXVWDZLDüGODZV]\VWNLFKVWUHI
JRWRZDQLD.LHG\XVWDZLV]SURJUDPDWRUF]DVRZ\GODNLONXVWUHI
JRWRZDQLDZW\PVDP\PF]DVLHNURSNLG]LHVLĊWQHSU]\
RGSRZLHGQLFKVWUHIDFKJRWRZDQLDZáąF]ąVLĊ
W normalnym trybie pracy, przy kaĪ
áączenia ,
maksymalna áą
Īsza niĪ
3000 W.
dym sposobie
pod
wy
czna moc strefy # 1 i # 2 nie
jest
42 PL
W normalnym trybie pracy, przy kaĪ
áączenia ,
maksymalna áą
Īsza niĪ
3000 W.
dym sposobie
pod
wy
jest
czna moc strefy # 3 i # nie
4

:WU\ELHRF]HNLZDQLDQDFLĞQLMSU]\FLVN3á\WDJU]HZF]D
SU]HFKRG]LZWU\EEORNDG\SURJUDPDWRUF]DVRZ\SRNDĪH
DSR]RVWDáHSU]\FLVNL]RVWDQąZ\áąF]RQH
3URJUDPDWRUSU]H]FKZLOĊSRND]XMHDQDVWĊSQLH
Z\áąF]DVLĊ
-HĞOLQDFLĞQLHV]WHQSU]\FLVNZ\ĞZLHWOLVLĊQD
FKZLOĊ
:WU\ELHURERF]\PQDFLĞQLMSU]\FLVN3á\WDJU]HZF]D
SU]HFKRG]LZWU\EEORNDG\SURJUDPDWRUF]DVRZ\SRNDĪH
ÄÄDSR]RVWDáHSU]\FLVNL]RVWDQąZ\áąF]RQHSR]D
SU]\FLVNLHP
:\ĞZLHWODF]SURJUDPDWRUDF]DVRZHJRSRNDĪHF]DVNWyU\
XSá\QLHQDMV]\EFLHM.URSNDRGSRZLHGQLHMVWUHI\ZáąF]\VLĊ
LEĊG]LHPLJDü.LHG\RGOLF]DQLHF]DVX]DNRĔF]\VLĊ
RGSRZLHGQLDVWUHIDJRWRZDQLDZ\áąF]\VLĊ1DVWĊSQLH
Z\ĞZLHWODF]SRNDĪHNROHMQąVWUHIĊZNWyUHMF]DVXSá\QLH
QDMV]\EFLHMRGSRZLHGQLDNURSNDSU]\VWUHILHJRWRZDQLD
EĊG]LHPLJDü
-HĞOLSURJUDPDWRUF]DVRZ\MHVWXVWDZLRQ\DOHQLHMHVW
DNW\ZQ\GODĪDGQHM]HVWUHIEĊG]LHRQSRSURVWXRGOLF]Dá
F]DV
8ZDJD
.LHG\F]DVMHVWQDVWDZLRQ\QDSURJUDPDWRUZ\áąF]\VLĊ
.LHG\PLMDRNUHĞORQ\F]DVRGSRZLHGQLDVWUHIDJRWRZDQLD
Z\áąF]\VLĊ
3RXVWDZLHQLXSURJUDPDWRUDF]DVRZHJRZVNDĨQLNEĊG]LH
PLJDüSU]H]VHNXQGDXVWDZLRQ\F]DV]RVWDQLH
DXWRPDW\F]QLHSRWZLHUG]RQ\
:WU\ELHSURJUDPDWRUDF]DVRZHJRQDFLĞQLĊFLHSU]\FLVNyZ
LZW\PVDP\PF]DVLHVSUDZLĪHXVWDZLHQLHPRF\
SRZUyFLGRDF]DV]RVWDQLHZ\áąF]RQ\
7U\EEH]SLHF]Q\
$E\]DSHZQLüEH]SLHF]HĔVWZRG]LHFLSá\WDLQGXNF\MQD
]RVWDáDZ\SRVDĪRQDZXU]ąG]HQLHEORNXMąFH
=DEORNXM
:\ãĈF]EORNDGč
3U]\WU]\PDMSU]\FLVN/RFNSU]H]VHNXQG\)XQNFMD
EORNDG\Z\áąF]\VLĊ
)XQNFMHVSHFMDOQH
3U]\FLVN*272:$1,(1$:2/1<02*1,8
SR]LRP
3U]\FLVN*272:$1,(1$ĝ5('1,02*1,8
SR]LRP
3U]\FLVN*272:$1,(1$'8ĩ<02*1,8
SR]LRP
:áąF]Z\EUDQąVWUHIĊJRWRZDQLDQDFLVNDMąFOXE
QDFLĞQLMSU]\FLVN*272:$1,(1$:2/1<02*1,8
ZVNDĨQLNSRNDĪH
QDFLĞQLMSU]\FLVN*272:$1,(1$ĝ5('1,02*1,8
ZVNDĨQLNSRNDĪH
QDFLĞQLMSU]\FLVN*272:$1,(1$'8ĩ<02*1,8
ZVNDĨQLNSRNDĪH
)XQNFMDSDPLčFL
8Ī\ZDMIXQNFMLSDPLĊFLGRSU]HFKRZ\ZDQLDXVWDZLHĔSR]LRPX
PRF\LF]DVXGODVWUHI\JRWRZDQLD
=DSLV\ZDQLH
:\ELHU]VWUHIĊJRWRZDQLDQDFLVNDMąFSU]\FLVNOXE
ZVNDĨQLNSR]LRPXPRF\GODWHMVWUHI\EĊG]LHPLJDá
1DFLĞQLMSU]\FLVNZVNDĨQLNF]DVXSRNDĪH
EĊG]LHR]QDF]DüEUDNF\NOXJRWRZDQLDZSDPLĊFLSU]\WU]\PDM
SU]\FLVNSDPLĊFLSU]H]VHNXQG\ZVNDĨQLNF]DVXSRNDĪH
]DSLV\ZDQLHUR]SRF]QLHVLĊ
ZVNDĨQLNSR]LRPXPRF\SRND]XMHQD]PLDQĊLSR]LRP
PRF\
,QVWUXNFMDXİ\WNRZDQLD
43 PL

.RQLHF]DSLV\ZDQLD
1DFLĞQLMSRQRZQLHSU]\FLVNSDPLĊFLQLHEĊG]LHMXĪ
Z\ĞZLHWODQHQDZ\ĞZLHWODF]XF]DVXDF\NOJRWRZDQLD
]RVWDQLH]DSDPLĊWDQ\
/8%
:\áąF]RGSRZLHGQLąVWUHIĊJRWRZDQLDQDFLVNDMąFL
ZW\PVDP\PF]DVLHOXEXVWDZLDMąFSR]LRPPRF\QD
QLHEĊG]LHMXĪZ\ĞZLHWODQHQDZ\ĞZLHWODF]X
SURJUDPDWRUDF]DVRZHJRDF\NOJRWRZDQLD]RVWDQLH
]DSLVDQ\ZSDPLĊFL
/8%
=GHMPLMURQGHO]RGSRZLHGQLHMVWUHI\JRWRZDQLD.LHG\VWUHID
Z\NU\MHEUDNURQGODQLHEĊG]LHMXĪZ\ĞZLHWODQHQD
Z\ĞZLHWODF]XSURJUDPDWRUDF]DVRZHJRDF\NOJRWRZDQLD
]RVWDQLH]DSDPLĊWDQ\
/8%
:\NRQDMZLĊFHMQLĪXVWDZLHĔSR]LRPXPRF\ÄÄ
QLHEĊG]LHMXĪZ\ĞZLHWODQHQDZ\ĞZLHWODF]XSURJUDPDWRUD
F]DVRZHJRDF\NOJRWRZDQLD]RVWDQLH]DSLVDQ\ZSDPLĊFL
/8%
Z\áąF]Sá\WĊZW\PSU]\SDGNX]DSLV\ZDQLHF\NOX
JRWRZDQLD]RVWDMHDXWRPDW\F]QLHSU]HUZDQH
/8%
Z\áąF]]DSLV\ZDQLHVWUHI\JRWRZDQLDGRVHNXQGRGMHJR
UR]SRF]ĊFLDZW\PSU]\SDGNX]DSLV\ZDQLHF\NOX
JRWRZDQLD]RVWDMHDXWRPDW\F]QLHSU]HUZDQH
8UXFKRP]DSLVDQ\F\NOJRWRZDQLD
1DFLĞQLMSU]\FLVNSDPLĊFLZ\ĞZLHWODF]F]DVXSRNDĪH
SU]H]VHNXQGDQDVWĊSQLH2GSRZLHGQLDVWUHID]
]DSLVDQ\PF\NOHPJRWRZDQLDZáąF]\VLĊ
-HĞOLRGSRZLHGQLDVWUHIDE\áDMXĪZáąF]RQD]DSLVDQ\F\NO
JRWRZDQLDEĊG]LHF\NOHPZLRGąF\PL]RVWDQLHZ\NRQDQ\
-HĞOLSRGF]DVG]LDáDQLD]DSLVDQHJRF\NOXJRWRZDQLDZ
RGSRZLHGQLHMVWUHILHJRWRZDQLDQDFLĞQLHV]SU]\FLVNOXE
F\NO]RVWDMHSU]HUZDQ\LZáąF]DVLĊWU\EQRUPDOQ\DOH
]DSLVDQ\F\NOJRWRZDQLDSR]RVWDMH]DFKRZDQ\ZSDPLĊFL
3U]\WU]\PDMSU]\FLVNSU]H]FKZLOĊSRMDZLVLĊ
R]QDF]DVWUHIĊJRWRZDQLDSU]HFKRZ\ZDQąZSDPLĊFL
1DVWĊSQLHZ\ĞZLHWOLVLĊLUR]SRF]QLHVLĊ]DSLV\ZDQLHZ
Z\EUDQHMVWUHILHJRWRZDQLD
0DNV\PDOQDPRFVWUHIJRWRZDQLDZ\QRVL
6WUHIDJU]HMQD
1RUPDOQD1RUPDO
6]\EV]HQDJU]HZDQLH
,QVWUXNFMDXİ\WNRZDQLD
Przedstawione moce mogą zmieniaü siĊ w zale ĪnoĞ
áá
ci
od materia u, z którego wykonany zosta garnek oraz od
jego wymiarów.
0DNV\PDOQDOLF]EDF]\QQRĞFLWRNRPELQDFMLSR]LRPXPRF\
ZFLąJXJRG]LQ1DVWDZDSR]LRPXPRF\WUZDMąFDPQLHMQLĪ
VHNXQGQLH]RVWDQLHQDJUDQD
-DN]DSLVDþQRZ\F\NOJRWRZDQLDMHĤOLLQQ\
MHVWMXİ]DSLVDQ\
:áąF]VWUHIĊJRWRZDQLDZNWyUHMFKFHV]]DSLVDüF\NO
QDFLVNDMąFOXE
Strefa Flexi
Strefa Flexi moĪe byü wykorzystywana jako jedno pole lub jako
dwa róĪne pola grzewcze, w zaleĪnoĞci od potrzeb uĪytkownika.
Wyjątkowe dziaáanie strefy Flexi moĪliwe jest dziĊki dwóm
niezaleĪnym, oddzielnie sterowanym induktorom.
nie obejmuje naczynie, zostanie automatycznie wyáączona po
upáywie 1 minuty.
Páyta zadziaáa prawidáowo, jeĪeli naczynie bĊdzie prawidáowo
umieszczone w strefie Flexi:
- w przedniej lub tylnej czĊĞci strefy, gdy Ğrednica naczynia jest
mniejsza niĪ 22 cm
JakoduǏapolegrzewcze
Aby uaktywniü strefĊ Flexi jako pojedyncze duĪe pole grzewcze,
wystarczy wybraü odpowiedni przycisk.
Ustawienie poziomu mocy odbywa siĊ w taki sam sposób jak dla
zwykáego pola.
JeĪeli podczas gotowania, naczynie przesuwane jest z przedniej
czĊĞci pola na tylnią (lub na odwrót), strefa Flexi automatycznie
wykrywa jego nowe poáoĪenie , zachowując tĊ samą moc w
nowym miejscu .
JakodwaniezaleǏnepolagrzewcze
Aby korzystaü ze strefy Flexi jak z dwóch niezaleĪnych stref
grzejnych z róĪnymi ustawieniami mocy, naciĞnij odpowiednie
przyciski.
- w dowolnym miejscu strefy, jeĪeli naczynie ma ĞrednicĊ
wiĊkszą niĪ 22 cm .
44 PL
6
7
8
Flexible
Area
9
áączy siĊ wskazywaü elastyczny obszar zostaá wáączony LED w
Ğli elastyczny obszar, naciĞ
ą wyáączyü
przed uĪyciem jako dwa róĪne strefy
Je nij dedykowanego przycisku, aby
j
1800
3000
3000
4000
3000
1800
3000
1800
1800
3000

t 1S[FE QS[ZTUŕQJFOJFN EP XT[FMLJDI QSBD LPOTFSXBDZKOZDI OB
QZDJFOBMFƒZQPD[FLBŗOBKFKPTUZHOJŢDJF
t /BMFƒZ VƒZXBŗ XZŕD[OJF QSPEVLUØX LSFNZ PSB[ TLSPCBLJ
[BQSPKFLUPXBOZDI TQFDKBMOJF EFTJHOFE EP QPXJFS[DIOJ T[LMBOP
DFSBNJD[OZDIŕPOFEPTUŢQOFXTLMFQBDI[UPXBSBNJƒFMB[OZNJ
t6OJLBŗXZDJFLØXQPOJFXBƒXT[ZTULPDPTQBEOJFOBQPXJFS[DIOJŢ
QZUZT[ZCLPVMFHOJFQS[ZQBMFOJVJVUSVEOJD[ZT[D[FOJF
t ;BMFDB TJŢ QS[FDIPXZXBOJF [ EBMB QZUZ XT[FMLJDI TVCTUBODKJ
LUØSFTŕQPEBUOFOBUPQOJFOJFOQFMFNFOUZ[UXPS[ZXT[UVD[OZDI
DVLJFSMVCQSPEVLUZOBCB[JFDVLSV
,0/4&38"$+"
/B QPXJFS[DIOJ QZUZ VNJFžDJŗ LJMLB LSPQMJ TQFDKBMOFHP QSPEVLUV
D[ZT[D[ŕDFHP
8T[FMLJF VQPSD[ZXF QMBNZ XZDJFSBŗ NJŢLLŕ T[NBULŕ MVC MFLLP
[XJMƒPOZNQBQJFSFNLVDIFOOZN
8ZDJFSBŗ HBELŕ T[NBULŕ MVC TVDIZN QBQJFSFN LVDIFOOZN EP
DIXJMJHEZQPXJFS[DIOJBKFTUD[ZTUB
+FžMJXDJŕƒQP[PTUBKŕVQPSD[ZXFQMBNZ
/BQPXJFS[DIOJQZUZQPOPXOJFVNJFžDJŗLJMLBLSPQMJTQFDKBMOFHP
QZOVD[ZT[D[ŕDFHP
4LSPCBDTLSPCBLJFNUS[ZNBOZNQPEQPELŕUFN¡EPQPXJFS[DIOJ
QZUZBƒQMBNZ[OJLOŕ
8ZDJFSBŗ HBELŕ T[NBULŕ MVC TVDIZN QBQJFSFN LVDIFOOZN EP
DIXJMJHEZQPXJFS[DIOJBKFTUD[ZTUB
+FžMJUPLPOJFD[OFD[ZOOPžŗQPXUØS[Zŗ
,*-," 84,";»8&, $[ŢTUF D[ZT[D[FOJF QP[PTUBXJB QPXPLŢ
PDISPOOŕ LUØSB JTUPUOJF [BQPCJFHB [BESBQBOJPN J žDJFSBOJV1S[FE
QPOPXOZNVƒZULPXBOJFNQZUZVQFXOJŗTJŢ ƒF QPXJFS[DIOJBKFTU
D[ZTUB "CZVTVOŕŗ[BDJFLJXPEOFVƒZŗLJMLVLSPQFMPDUV MVCTPLV
[DZUSZOZ
/BTUŢQOJF XZUS[Fŗ QBQJFSFN DIPOOZN [ LJMLPNB LSPQMBNJ
TQFDKBMOFHP QZOV D[ZT[D[ŕDFHP 1PXJFS[DIOJB T[LMBOPDFSBNJD[OB
XZUS[ZNBESBQBOJFOBD[ZŴQBTLPEFOOZDIKFEOBL[BXT[FMFQJFKKFTU
KFVOPTJŗQPED[BTQS[FOPT[FOJB[KFEOFKTUSFGZOBESVHŕ
$;:4;$;&/*&*,0/4&38"$+"
4USFGZHS[FKOFOJFVUS[ZNVKŕQP[JPNVXS[FOJBCŕEƑXZTUBSD[BKŕDP
T[ZCLJFHPTNBƒFOJB
t/BMFƒZTUPTPXBŗOBD[ZOJBLUØSFNBKŕDBLPXJDJFQBTLJFEOP
t %OB OBD[ZŴ QPXJOOZ EPLBEOJF PEQPXJBEBŗ žSFEOJDZ EPCSBOFK
QPXJFS[DIOJHS[FKOFK
őZXOPžŗHPUVKFTJŢ[CZUXPMOP
t 4UPTPXBOF Tŕ OJFXBžDJXF OBD[ZOJB LVDIFOOF 1PETUBXZ OBD[ZŴ
QPXJOOZCZŗQBTLJFEPžŗDJŢƒLJFJUBLJFKTBNFKžSFEOJDZKBLEPCSBOF
TUSFGZHS[FKOF
.BF[BESBQBOJBNPHŕXZTUŕQJŗKBLPQŢLOJŢDJBMVCPCUBSDJBOB
T[LMBOFKQPXJFS[DIOJQZUZ
t/JFXBžDJXFNFUPEZD[ZT[D[FOJBOBD[ZOJBLVDIFOOFPOJFSØXOZN
EOJF MVC HSVCP[JBSOJTUF SFT[ULJ TØM MVC QJBTFL VXJŢ[JPOF NJŢE[Z
OBD[ZOJF B QPXJFS[DIOJŢ QZUZ 4UPTPXBŗ [BMFDBOF QSPDFEVSZ
D[ZT[D[FOJBVQFXOJBŗTJŢƒFQPETUBXZOBD[ZŴLVDIFOOZDITŕD[ZTUF
QS[FEJDIVƒZDJFNPSB[VƒZXBŗOBD[ZŴPHBELJDIQPETUBXBDI
.FUBMPXFMJOJFNPHŕXZTUŢQPXBŗKBL[BESBQBOJB
t/JFQS[FTVXBŗBMVNJOJPXZDIOBD[ZŴQPQPXJFS[DIOJ"CZVTVOŕŗ
MJOJFTUPTPXBŗ[BMFDBOFQSPDFEVSZD[ZT[D[FOJB
t;BTUPTPXBOFOJFXBžDJXFNBUFSJBZD[ZT[D[ŕDFXZDJFLJMVCUVTUF
QMBNZQP[PTUBKŕOBQPXJFS[DIOJo[BTUPTPXBŗTLSPCBL[ƒZMFULŕPSB[
[BMFDBOZQSPEVLUD[ZT[D[ŕDZ
$JFNOFTNVHJJQMBNLJ
t;BTUPTPXBŗTLSPCBL[ƒZMFULŕPSB[[BMFDBOZQSPEVLUD[ZT[D[ŕDZ
0CT[BSZPECBSXJFŴOBCMBDJFLVDIFOOZN
t;OBLJQPDIPE[ŕDFPEOBD[ZŴBMVNJOJPXZDIJNJFE[JBOZDIBUBLƒF
NJOFSBMOZDI PTBEØX [ XPEZ MVC ƒZXOPžDJ NPHŕ CZŗ VTVXBOF
LSFNFND[ZT[D[ŕDZN
.JFT[BOLB HPSŕDFHP DVLSV UXPS[ZXP T[UVD[OF TUPQJPOF OB
QPXJFS[DIOJ
t1BUS[D[Ţžŗ$[ZT[D[FOJFQZUZT[LMBOFK
1ZUBMVCD[ŢžŗTUSFGHS[FKOZDIOJFE[JBB
t8UZLJOJFTŕQPQSBXOJFEPQBTPXBOFEPCMPLVVS[ŕE[FOJB
4QSBXE[Jŗ D[Z QPEŕD[FOJF PECZXB TJŢ [HPEOJF [ JOTUSVLDKBNJ [F
TUSPOZ
1ZUBOJFE[JBB
t ;BCMPLPXBOZ KFTU QBOFM TUFSVKŕDZ "CZ [XPMOJŗ CMPLBEŢ XDJTOŕŗ
QS[ZDJTLi#MPLBEBw
1ZUBOJFXZŕD[BTJŢ
t ;BCMPLPXBOZ KFTU QBOFM TUFSVKŕDZ "CZ [XPMOJŗ CMPLBEŢ XDJTOŕŗ
QS[ZDJTLi#MPLBEBw
4QSBXE[JŗD[ŢžŗOBTUSPOJF
1ZUBXZŕD[BTJŢBVUPNBUZD[OJF
t 4USFGZ HS[FKOF XZŕD[BKŕ TJŢ BVUPNBUZD[OJF KFžMJ [PTUBKŕ
QP[PTUBXJPOFXŕD[POF[CZUEVHP
4QSBXE[JŗD[ŢžŗOBTUSPOJF
$[ŢTUPUMJXPžŗE[JBBOJBXŕD[BOJBXZŕD[BOJBEMBTUSFGHS[FKOZDI
t$ZLMFXŕD[BOJBXZŕD[BOJBS؃OJŕTJŢX[BMFƒOPžDJPEXZNBHBOFHP
QP[JPNVHS[BOJB
OJTLJQP[JPNLSØULJD[BTE[JBBOJB
XZTPLJQP[JPNEVHJD[BTE[JBBOJB
/JHEZOJFVƒZXBŗ[CZUNPLSFKHŕCLJ
/JHEZOJFVƒZXBŗOPƒBBOJžSVCPLSŢUB
4LSPCBL XZQPTBƒPOZ X ƒZMFULŢ OJF VT[LPE[J QPXJFS[DIOJ QPE
XBSVOLJFNƒFUS[ZNBOZKFTUQPELŕUFN¡
/JHEZOJFQP[PTUBXJBŗTLSPCBLBXZQPTBƒPOFHPXƒZMFULŢX[BTJŢHV
E[JFDJ
/JHEZ OJF TUPTPXBŗ QSPEVLUØX žDJFSOZDI PSB[ QSPT[LØX EP
T[PSPXBOJB
%"-4;"1*&-ġ(/"$+"
1S[FEXF[XBOJFNTFSXJTVOBMFƒZTQSBXE[JŗOBTUŢQVKŕDFFMFNFOUZ
$[Z XUZD[LB KFTU QPQSBXOJF XPƒPOB J [BPƒPOZ KFTU PEQPXJFEOJ
CF[QJFD[OJL+FžMJEFGFLUOJFNPƒF[PTUBŗ[JEFOUZmLPXBOZ
XZŕD[ZŗVS[ŕE[FOJFoOJFOBMFƒZQS[ZOJNNBOJQVMPXBŗTBNPE[JFMOJF
oTLPOUBLUPXBŗTJŢ[TFSXJTFN6S[ŕE[FOJFQPTJBEBDFSUZmLBU
HXBSBODKJLUØSZ[BQFXOJBEBSNPXŕOBQSBXŢTQS[ŢUVXTFSXJTJF
30;8*Ĕ;:8"/*&130#-&.»8
1ZUBJOEVLDZKOBXZEBKFT[VNZ
t;KBXJTLPOPSNBMOF8FOUZMBUPSQPE[FTQPØXFMFLUSPOJD[OZDIKFTU
XŕD[POZ
1ZUBJOEVLDZKOBXZEBKFEFMJLBUOZžXJTU
t ;KBXJTLP OPSNBMOF ;HPEOJF [ D[ŢTUPUMJXPžDJŕ SPCPD[ŕ DFXFL
JOEVLDZKOZDI EFMJLBUOZ žXJTU NPƒF XZTUŢQPXBŗ QPED[BT
VƒZULPXBOJBLJMLVTUSFGHS[FKOZDI[NPDŕNBLTZNBMOŕ
5P VS[ŕE[FOJF KFTU P[OBLPXBOF [HPEOJF [ %ZSFLUZXŕ
&VSPQFKTLŕ
FMFLUSZD[OFHP J FMFLUSPOJD[OFHP 8&&&
VUZMJ[BDKB [VƒZUFHP QSPEVLUV QS[ZD[ZOJB
VOJLOJŢDJB QPUFODKBMOJF T[LPEMJXZDI EMB
žSPEPXJTLB OBUVSBMOFHP LPOTFLXFODKJ
OJFXBžDJXFHPVTVXBOJB[VƒZUFHPQSPEVLUV
5BLJF P[OBLPXBOJF XTLB[VKF ƒF UFO TQS[ŢU OJF NPƒF CZŗ
USBLUPXBOZKBLPPEQBELPNVOBMOZ
1SPEVLU QPXJOJFO [PTUBŗ QS[FLB[BOZ EP XBžDJXFHP QVOLUV
QSPXBE[ŕDFHP[CJØSLŢ TQS[ŢUV FMFLUSZD[OFHP J FMFLUSPOJD[OFHP
X DFMBDI SFDZLMJOHV 6TVOJŢDJF NVTJ [PTUBŗ QS[FQSPXBE[POF
[HPEOJF[MPLBMOZNJQS[FQJTBNJPDISPOZžSPEPXJTLBOBUVSBMOFHP
EPUZD[ŕDZNJVTVXBOJBPEQBEØX
8JŢDFK T[D[FHØPXZDI JOGPSNBDKJ OB UFNBU PCDIPE[FOJB TJŢ
SFHFOFSBDKJ PSB[ SFDZLMJOHV UFHP QSPEVLUV NPƒOB V[ZTLBŗ X
MPLBMOZN VS[ŢE[JF NJFKTLJN TVƒCBDI LPNVOBMOZDI MVC X
TLMFQJFXLUØSZNQSPEVLU[PTUB[BLVQJPOZ
45 PL
XZOJLBKŕDZDI [
[ESPXJB MVE[J J
TJŢ EP
8BžDJXB
TQS[ŢUV
2012/19/EU
odnoszącą się do Zużytego

Bezpeþnost a údržba
46 CZ
832=251ċ1Ë6SRWĜHELþDMHKRSĜtVWXSQpþiVWLVHEČKHP
SRXåLWt]DKĜtYDMt1HGRWêNHMWHVHWRSQêFKSUYNĤ
'ČWLGROHWGUåWHPLPRGRVDKVSRWĜHELþHSRNXGQHMVRX
neustále pod dohledem.
7HQWRVSRWĜHELþVPtSRXåtYDWGČWLVWDUãt OHW D RVRE\VH
VQtåHQêPL I\]LFNêmi, senzorickými nebo mentálními
VFKRSQRVWPL QHER EH] GRVWDWHþQêFK ]NXãHQRVWt SRNXG
MVRXSRGGRKOHGHPDE\O\SRXþHQ\RSRXåLWtVSRWĜHELþHD
PRåQpPUL]LNX
1HGRYROWHGČWHPKUiWVLVHVSRWĜHELþHP
ýLãWČQtD~GUåEXQHVPtSURYiGČWGČWLEH]GRKOHGX
832=251ċ1Ë 9DĜHQtQDGHVFHVWXN\DROHMLEH]GRKOHGX
MHQHEH]SHþQpDPĤåH]SĤVRELWSRåiU
1,.'< VH QHSRNRXãHMWH XKDVLW SODPHQ YRGRX Y\SQČWH
VSRWĜHELþ D SRWp SĜHNU\MWH SODPHQ SRNOLþNRX QHER
SURWLSRåiUQtSĜLNUêYNRX
832=251ċ1Ë 5L]LNR SRåiUX QHVNODGXMWH åiGQp
SĜHGPČWy na varné desce.
832=251ċ1Ë 3RNXG MH SRYUFK YDUQp GHVN\ SUDVNOê
VSRWĜHELþ Y\SQČWH DE\VWH ]DEUiQLOL UL]LNX ]DVDåHQt
elektrickým proudem.
.þLãWČQtQHSRXåtYHMWHY\VRNRWODNpSDUQtþLVWLþH
.RYRYpSĜHGPČW\MDNRMVRXQRåHYLGOLþN\OåtFHDSRNOLþN\
nedávejte nDYDUQRXGHVNXQHERĢVHPRKRXRKĜiW
1HþLVWRW\]NU\WXRGVWUDĖWHSĜHGRWHYĜHQtP
9DUQRXGHVNXQHFKWHSĜHG]DYĜHQtPNU\WXY\FKODGQRXW

47 CZ
Bezpeþnost a údržba
3RSRXåLWtY\SQČWHYDUQRX]yQXDQHQHFKiYHMWHQiGREtQD
detektoru nádobí.
6SRWĜHELþ QHVPtWH RYOiGDW SRPRFt H[WHUQtKR þDVRYDþH
nebo samostatného dálkového ovládání.
2GSRMRYDFt ]DĜt]HQt PXVt EêW YþOHQČQR GR QDSiMHQt Y
VRXODGXVSODWQêPLSĜHGSLV\
3RN\Q\ XYiGČMt W\S NDEHOX V RKOHGHP QD WHSORWX ]DGQt
VWUDQ\VSRWĜHELþH
3RNXG MH SRãNR]HQê SĜtYRGQt NDEHO PXVt MHM Y\PČQLW
výrobce, serYLVQt WHFKQLN QHER SRGREQČ NYDOLILNRYDQi
RVREDDE\VH]DEUiQLORPRåQpPXQHEH]SHþt
832=251ċ1ËDE\VWH]DEUiQLOLQHEH]SHþt]QH~P\VOQpKR
UHVHWRYiQt WHSHOQp SRMLVWN\ WHQWR VSRWĜHELþ QHVPtWH
QDSiMHW SĜHV H[WHUQt VStQDFt ]DĜt]HQt MDNR MH þDVRYDþ
QHER SĜLSRMRYDW N REYRGX NWHUê VH SUDYLGHOQČ ]DStQi D
Y\StQiHOHNWULNiĜVNRXVOXåERX
9DURYiQt7HQWRVSRWĜHELþVSOĖXMHSODWQpEH]SHþQRVWQtSĜHGSLV\D
SĜHGSLV\RHOHNWURPDJQHWLFNpNRPSDWLELOLWČ3ĜHVWRE\YãDN
OLGpV
NDUGLRVWLPXOiWRU\QHPČOLWHQWRVSRWĜHELþSRXåtYDWSURWR
åH
QHPĤåHPH]DUXþLWåHYãHFKQ\WDNRYp]DĜt]HQtNWHUpMVRXQD
WUKX
VSOĖXMtW\WRSĜHGSLV\DåHWHG\QHPĤåHGRMtWNHY]QLNXãN
RGOLYp
LQWHUIHUHQFH5RYQČåMHPRåQpåHOLGpVMLQêPLW\S\
]DĜt]HQt
QDSĜtNODGQDVORXFKiWN\PRKRX]D]QDPHQDWXUþLWpQHSĜtMHPQp
SRFLW\

2%(&1È9$529È1Ë
3(ý/,9ċ6,3ě(ý7ċ7(7(1721È92'$%<67(02+/,69289$5128'(6.89<8äË9$7&21(-/e3(
'RSRUXþXMHPHXVFKRYDWVLQiYRGQDEH]SHþQpPPtVWČSURSR]GČMãtSRXåLWtDSR]QDPHQDWVLYêUREQtþtVORYDUQpGHVN\MDNMHXYHGHQp
QtåHSURSĜtSDGåHEXGHWHSRWĜHERYDWNRQWDNWRYDWVHUYLVQtVWĜHGLVNR
.yGSURGXNWX
9êUREQtþtVOR
,GHQWLILNDþQtãWtWHN
XPtVWČQSRGVSRGQtPNU\WHPYDUQpGHVN\
9+]
9+]
;;
[
9$51È'(6.$
6tĢRYpQDSČWt
,QVWDORYDQêHOHNWULFNê
SĜtNRQ:
9HOLNRVW
+[â[9PP
7\SVHLQGXNþQtPLYDUQ\PL]yQDPL
7UYDOHXVLOXMHPHR]OHSãRYiQtNYDOLW\QDãLFKSURGXNWĤDSURWRåPĤåHEêW]DSRWĜHEt]DKUQRXWGRVSRWĜHELþHQHMQRYČMãtWHFKQLFNiY\OHSãHQt
,QGXNþQtYDUQiGHVNDY\KRYXMHSRåDGDYNĤPVPČUQLF(+6D(+6DGRSOĖXMtFtPVPČUQLFtP
(8D(8YSODWQpP]QČQt
$;
HIFD440BC

0217Èä
,QVWDODFHGRPiFtFKVSRWĜHELþĤPĤåHEêWVORåLWiþLQQRVWDSRNXGQHQtSURYHGHQDVSUiYQČPĤåHYiåQČRKUR]LWEH]SHþQRVW
VSRWĜHELWHOH=WRKRWRGĤYRGXE\PČODWXWRþLQQRVWSURYiGČW]SĤVRELOiRVREDYVRXODGXVSODWQêPLWHFKQLFNêPLSĜHGSLV\
9SĜtSDGČQHGRGUåHQtWRKRWRSRåDGDYNXVHYêUREFH]ĜtNiYHãNHUpRGSRYČGQRVWL]DWHFKQLFNpVHOKiQtYêURENXDQiVOHGQp
ãNRG\þL]UDQČQtRVRE
=$%8'29È1Ë
1iE\WHNGRNWHUpKRMHYDUQiGHVND]DEXGRYDQiDVRXVHGQt
Y\EDYHQtPXVtEêWY\UREHQ]PDWHULiOĤRGROQêFKYĤþLY\VRNêP
WHSORWiP1DYtFPXVtEêWYãHFKQ\GHNRUDWLYQtODPLQRYDFtSUYN\
XSHYQČQ\WHSHOQČRGROQêPOHSLGOHP
,QVWDODFH
6YDUQRXGHVNRXMHGRGiYiQRYRGRWČVQpWČVQČQt
3ĜHGPRQWiåt
RWRþWHYDUQRXGHVNXVNOHQČQêPSRYUFKHPGROĤ
=NRQWUROXMWH]GDMHVNORFKUiQČQp
QDVDćWHWČVQČQtRNRORYDUQpGHVN\
XMLVWČWHVHåHMHQDVD]HQRVSUiYQČDE\QHGRFKi]HORN
]DWpNiQtNDSDOLQGRQRVQpVNĜtQČ
-HGĤOHåLWpQDPRQWRYDWYDUQRXGHVNXQDURYQêSRYUFK
'HIRUPDFH]SĤVREHQpQHVSUiYQRXPRQWiåtPRKRX]PČQLW
VSHFLILNDFHSUDFRYQtKRSRYUFKXDRYOLYQLWIXQNFLYDUQpGHVN\
0H]LVSRWĜHELþHPDVRXVHGQtPLVYLVOêPLSRYUFK\SRQHFKWH
PH]HUXQHMPpQČFP
-HQDSURVWRQH]E\WQpDE\]DSXãWČQtY\KRYRYDOR
VSHFLILNRYDQêPUR]PČUĤP
9\Ĝt]QČWHYSUDFRYQtGHVFHRWYRURUR]PČUHFKXYHGHQêFKQD
REUi]NXQtåH2NRORRWYRUXMHQXWQpSRQHFKDWSURVWRU
QHMPpQČPP
3UDFRYQtGHVN\E\PČODEêWVLOQiQHMPpQČPPDY\UREHQD
VWHSHOQČRGROQpKRPDWHULiOX-DNSDWUQR]REUi]NX
9DUQiGHVNDQHPiEêW]DEXGRYiQDQDGWURXEXEH]
YHQWLOiWRUXQDGP\þNXQDQiGREtOHGQLþNXPUD]iNQHER
SUDþNX
-HQH]E\WQpDE\E\OD]DMLãWČQDGREUiYHQWLODFHYDUQpGHVN\
DDE\QHE\O\XFSDQpRWYRU\SURSĜtYRGDRGYRGY]GXFKX
=NRQWUROXMWHåHMHYDUQiGHVNDVSUiYQČLQVWDORYiQDSRGOH
REUi]NX
0LQLPiOQČPP
0LQLPiOQČFP
0LQLPiOQČFP
2GYRGY]GXFKX
0LQLPiOQČPP
3ĜtYRGY]GXFKX
3R]QiPND=EH]SHþQRVWQtFKGĤYRGĤE\PČODEêWY]GiOHQRVW
PH]LYDUQRXGHVNRXDVNĜtĖNRXQDGYDUQRXGHVNRXQHMPpQČ
PP
(/(.75,&.e3ě,32-(1Ë
,QVWDODFHPXVtVSOĖRYDWSRåDGDYN\QHMQRYČMãtHOHNWURWHFKQLFNêFK
QRUHP9êUREFHVH]ĜtNiYHãNHUpRGSRYČGQRVWL]DãNRG\NH
NWHUêPGRMGHYGĤVOHGNXQHYKRGQpKRQHERãSDWQpKRSRXåLWt
9DURYiQt
3ĜHG]DSQXWtPYåG\]NRQWUROXMWHHOHNWULFNpQDSiMHQtSRPRFt
YROWPHWUXMLVWLþ]NRQWUROXMWHYRGLYRVWX]HPQČQtD]GDMHSRMLVWND
YKRGQi
(OHNWULFNpSĜLSRMHQtE\PČOREêW]DMLãWČQRSĜHVX]HPQČQRX
]iVXYNXQHERYtFHSyORYêVStQDþVPH]HURXPH]LNRQWDNW\SĜL
UR]SRMHQtQHMPpQČPP
3RNXGPiVSRWĜHELþYODVWQt]iVXYNXPXVtEêWXPtVWČQDWDNDE\
E\ODSĜtVWXSQi
äOXWR]HOHQêYRGLþQDSiMHFtKRNDEHOXPXVtEêWSĜLSRMHQN
X]HPQČQtQDVYRUNiFK]GURMHQDSiMHQtLVSRWĜHELþH
9êUREFHQH]RGSRYtGi]DQHKRG\NHNWHUêPGRMGHSĜLSRXåLWt
VSRWĜHELþHQHSĜLSRMHQpKRNX]HPQČQtQHERVHãSDWQêP
X]HPQČQtP
-DNpNROLGRWD]\WêNDMtFtVH]GURMHQDSiMHQtE\PČO\EêW
VPČURYiQ\QDVHUYLVQtVWĜHGLVNRQHER]SĤVRELOpKRWHFKQLND
3RNXGMHNDEHOSRãNR]HQQHERPXVtEêWY\PČQČQPXVtWXWR
þLQQRVWSURYpVW]iVWXSFHSURGHMFHSRPRFtXUþHQpKRQiĜDGtDE\
VHY\ORXþLO\PRåQpQHKRG\
3ĜLSRMHQtNH]GURMLQDSiMHQt
.DEHOQHVPtEêWRKQXWDQLVWODþHQ
=iVXYNDPXVtEêWSĜLSRMHQDYVRXODGXVSĜtVOXãQêPLQRUPDPLN
MHGQRSyORYpPXMLVWLþL0HWRGDSĜLSRMHQtMH]Qi]RUQČQDQD
REUi]NX
$;
Grey
L1 L2
N1 N2
56 cm
49 cm
+0.4
+0.1
+0.4
+0.1

,1'8.&(
+UQHFNWHUpPČQt
LQGXNþQtSURXG\QD
7(3/2
,QGXNþQtSURXG\
6NORNHUDPLFNiGHVND
&tYND
ětGtFtMHGQRWND
(OHNWULFNêJHQHUiWRUQDSiMtFtYNXXPtVWČQRXXYQLWĜVSRWĜHELþH
&tYNDY\WYiĜtPDJQHWLFNpSROHNWHUêPSRSRORåHQtKUQFHQD
YDUQRXGHVNXSURFKi]HMtLQGXNþQtSURXG\
7\WRSURXG\Y\WYiĜHMt]KUQFHWHSHOQêY\VtODþ]DWtPFR
VNORNHUDPLFNiGHVND]ĤVWiYiVWXGHQi
7HQWRV\VWpPMHXUþHQSURSRXåLWtVKUQFLVPDJQHWLFNêPL
GQ\
=MHGQRGXãHQČLQGXNþQtWHFKQRORJLHPiGYČKODYQtYêKRG\
3URWRåHMHWHSORY\WYiĜHQRSRX]HKUQFHPMHWHSHOQêYêNRQ
XGUåRYiQQDPD[LPXDYDĜHQtSUREtKiEH]WHSHOQêFK]WUiW
1HGRFKi]tNåiGQpWHSHOQpVHWUYDþQRVWLSURWRåHYDĜHQt
]DþtQiDXWRPDWLFN\SRSRORåHQtKUQFHQDYDUQRXGHVNXDMH
XNRQþHQRSRVHMPXWtKUQFH
6327ě(%,ý69<62.28%(=3(ý1267Ë
2FKUDQDSURWLSĜHKĜiWt
6HQ]RUVOHGXMHWHSORWXYHYDUQp]yQČ
.G\åWHSORWDSĜHViKQHEH]SHþQRX~URYHĖYDUQi]yQDVH
DXWRPDWLFN\Y\SQH
9DURYiQtQD]E\WNRYpWHSOR
.G\åMHYDUQiGHVNDXUþLWRXGREXYþLQQRVWLGRFKi]tN
KURPDGČQt]E\WNRYpKRWHSOD1DGLVSOHMLVH]REUD]t+MDNR
YDURYiQt
$XWRPDWLFNpY\SQXWt
'DOãtEH]SHþQRVWQtIXQNFtYDUQpGHVN\MHDXWRPDWLFNpY\StQiQt
'RFKi]tNQČPXNG\NROL]DSRPHQHWHY\SQRXWYDUQRX]yQX
9êFKR]tGRE\Y\SQXWtMVRXXYHGHQ\YQtåHXYHGHQpWDEXOFH
ÒURYHĖYêNRQX
9DUQi]yQDVHY\SQHDXWRPDWLFN\SR
KRGLQiFK
KRGLQiFK
KRGLQiFK
KRGLQČ
a
a
a
.G\åMHKUQHFRGVWUDQČQ]YDUQp]yQ\RKĜHYVHRNDPåLWČ
SĜHUXãtDYDUQi]yQDVHVDPDY\SQHSRWpFRPLQXWX]Qt
]YXNRYêVLJQiO
832=251ċ1Ë
2VRE\VNDUGLRVWLPXOiWRU\E\PČO\WHQWRSURGXNWSRXåtYDW
SRX]HSRNRQ]XOWDFLVGRNWRUHP
'23258ý(1Ë352328äË9È1Ë9$51e'(6.<
3RXåtYiQtQiGREtY\VRNpNYDOLW\MHNULWLFN\GĤOHåLWpSUR
GRVDåHQtPD[LPiOQtKRYêNRQXYDUQpGHVN\
9åG\SRXåtYHMWHNYDOLWQtQiGRE\VURYQêPDVLOQêPGQHP
SRXåLWtWDNRYpKRWRQiGREt]DEUiQtY]QLNXKRUNêFKPtVWD
SĜtSDGQpPXSĜLSDORYiQtMtGOD6LOQpNRYRYpKUQFHDSiQYH
]DMLãĢXMtURYQRPČUQRXGLVWULEXFLWHSOD
=NRQWUROXMWHåHMHGQRKUQFHQHERSiQYHVXFKp
SĜLSOQČQtSiQYtNDSDOLQRXQHERSĜHGSRXåLWtPKUQFHXORåHQpKR
YFKODGQLþFHRYČĜWHåHMHGQR]FHODVXFKpQHåMHMSRORåtWHQD
YDUQRXGHVNX3RPiKiWR]DEUiQLWY]QLNXVNYUQQDYDUQpGHVFH
1iVOHGXMtFtLQIRUPDFHYiPSRPRKRXY\EUDWKUQFHNWHUpMVRX
QHMYKRGQČMãtSURGRVDåHQtGREUêFKYêVOHGNĤ
,QGXNþQt]yQD
=QDþNDQD
NXFK\ĖVNpP
QiGREt
1DãWtWNX]NRQWUROXMWH]GDREVDKXMH
]QDþNXNWHUp]Qi]RUĖXMHåHMHKUQHF
YKRGQêSURLQGXNþQtYDĜHQt
3RXåtYHMWHPDJQHWLFNpKUQFH
VPDOWRYDQêåHOH]QêSOHFKOLWLQD
QHUH]RYiRFHODY\]NRXãHMWH
PDJQHWHPPDJQHWVHPXVtSĜLFK\WLW
1HUH]RYiRFHO
1HO]H]MLVWLW
6YêMLPNRXIHURPDJQHWLFNp
QHUH]RYpRFHOH
+OLQtN 1HO]H]MLVWLW
/LWLQD 'REUpYODVWQRVWL
6PDOWRYDQiRFHO 'REUpYODVWQRVWL
6NOR 1HO]H]MLVWLW
3RUFHOiQ 1HO]H]MLVWLW
0ČGČQpGQR 1HO]H]MLVWLW
6FKHPDWLFNêGLDJUDPRYOiGDFtKRSDQHOX
Používejte nádobí, kterého pr ĤPČr je vČtší než zvolená zóna. Použitím mírné
širší nádoby se energie využije s maximální úþinností. Pokud použijete nádobí
s menším prĤPČrem, úþinnost nebude postaþující. Nádoby s prĤPČrem dna
menším než 140 mm varná deska nedetekuje.
1. Power regular key
2. Timer regular key
5. Memory
3. Booster
4. Special function
6. Lock
7. On/Off
1
1
388567
4
2
8.
Flexible Area activation
50 CZ

3RN\Q\SURSRXçLWt
3R]DSQXWtQDSiMHQt]D]QtE]XþiNDQDMHGQXVHNXQGXVH
UR]VYtWtYãHFKQ\LQGLNiWRU\9DUQêSDQHOMHYSRKRWRYRVWQtP
UHåLPX
3RVWDYWHKUQHFGRVWĜHGXYDUQp]yQ\
3URYR]QtSRN\Q\
6WLVNQČWHWODþtWNR1DYãHFKLQGLNiWRUHFKVH]REUD]t
9\EHUWH~URYHĖQDVWDYHQtVWLVNHPWODþtWNDQHER
SĜtVOXãQpSORWêQN\=DþQČWHVWLVNQXWtPWODþtWNDQHER
DE\LQGLNiWRU]REUD]LOQHER1DVWDYWH]YêãHQtQHER
VQtåHQtVWLVNHPWODþtWNDQHER
3RNXGVWLVNQHWHWODþtWNDDVRXþDVQČQDVWDYHQtVH
YUiWtQDDYDUQi]yQDVHY\SQH
3R]QiPND3RVWLVNQXWtWODþtWNDVHLQGXNþQtYDUQi
GHVNDYUiWtGRSRKRWRYRVWQtKRUHåLPXSRNXGQHQtGR
PLQXWSURYHGHQDåiGQiGDOãtþLQQRVW
)XQNFHLQWHQ]LYQtKRRKĢHYX
6WLVNQČWHWODþtWNRQDLQGLNiWRUXQDSiMHQtVH]REUD]t
8SR]RUQČQt
)XQNFHLQWHQ]LYQtKRRKĜHYXVH]DSQHSRX]HQDPLQXW
SRQLFKåVHYDUQp]yQ\YUiWtQDSĤYRGQtQDVWDYHQt
)XQNFLLQWHQ]LYQtKRRKĜHYXO]HSRXåtWSURYãHFKQ\YDUQp
]yQ\
.G\åMHDNWLYRYiQDIXQNFHLQWHQ]LYQtKRRKĜHYXYDUQp
]yQ\MHYDUQi]yQDRPH]HQDDXWRPDWLFN\QD~URYHĖ
QLåãtQHåDQDRSDN.G\åMHDNWLYRYiQDIXQNFH
LQWHQ]LYQtKRRKĜHYXYDUQp]yQ\MHYDUQi]yQD
RPH]HQDDXWRPDWLFN\QD~URYHĖQLåãtQHåDQDRSDN
=UXãHQtUHåLPX,17(1=,91Ë+22+ě(98
5HåLP,QWHQ]LYQtKRRKĜHYXO]H]UXãLWVWLVNHPWODþtWND
QHERRGSRYtGDMtFt]yQ\
)XQNFHĀDVRYDĀH
3RNXGMH]DSQXWDYtFHQHå]yQD
=DSQČWHY\EUDQRX]yQXVWLVNHPWODþtWNDQHERWpWR]yQ\
=DþQRXEOLNDWRGSRYtGDMtFtþtVOLFH
3RWRPVWLVNQČWHQHERQDWODþtWNXþDVRYDþH
,QGLNiWRU~URYQČYêNRQX]DþQHEOLNDW]REUD]tVHQDQČP
DLQGLNiWRUþDVRYDþH]DþQHEOLNDW
=DþQČWHVWLVNQXWtPWODþtWNDQHERDE\LQGLNiWRU]REUD]LO
3RQDVWDYHQtþDVXPĤåHWHY\EUDW~URYHĖYêNRQXYDUQp
]yQ\
3RWRPQDVWDYWHþDVRGPLQXW\GRKRGLQDPLQXWVWLVNHP
WODþtWNDQHER
3RMHGQRPVWLVNQXWtWODþtWNDVHKRGQRWDþDVX]YêãtRMHGQX
PLQXWX3RSĜLGUåHQtWODþtWNDVHKRGQRWDþDVX]YêãtR
PLQXW.G\åþDVSĜHViKQHKRGLQX]Y\ãXMHSRGUåHQtWODþtWND
þDVSRPLQXWiFK
3RMHGQRPVWLVNQXWtWODþtWNDLVHKRGQRWDþDVXVQtåtRMHGQX
PLQXWX3RSĜLGUåHQtWODþtWNDVHKRGQRWDþDVXVQtåtR
PLQXW.G\åþDVSĜHViKQHKRGLQ\VQLåXMHSRGUåHQtWODþtWND
þDVSRPLQXWiFK
.G\åþDVSĜHViKQHKRGLQDXWRPDWLFN\VHYUiWtQDPLQXW
9UHåLPXþDVRYDþHPĤåHWHQDVWDYLW~URYHĖYêNRQX
3RNXGMHþDVRYDþQDVWDYHQSURYtFHQHå]yQX
ýDVRYDþMHPRåQpQDVWDYLWSURYãHFKQ\YDUQp]yQ\3RNXG
QDVWDYtWHGREXSURQČNROLNYDUQêFK]yQVRXþDVQČVYtWt
GHVHWLQQpWHþN\SĜtVOXãQêFKYDUQêFK]yQ
1DGLVSOHMLEXGH]REUD]HQþDVRYDþNWHUêVNRQþtMDNRSUYQt
7HþNDRGSRYtGDMtFt]yQ\EXGHVYtWLWDEOLNDW3RY\SUãHQt
þDVRYDþHVHRGSRYtGDMtFt]yQDY\SQH3RWRPVH]REUD]tGDOãt
YSRĜDGtSRGOHY\SUãHQtþDVRYDþHDMHMtWHþND]DþQHEOLNDW
3RNXGMHQDVWDYHQþDVRYDþDOHQHQtY\EUiQSURåiGQRX]yQX
IXQJXMHSRX]HMDNRPLQXWND
3R]QiPND
3RNXGMHþDVRYDþQDVWDYHQQDMH]UXãHQ
3RXSO\QXWtQDVWDYHQpKRþDVXVHSĜtVOXãQiYDUQi]yQDY\SQH
3RQDVWDYHQtþDVRYDþHLQGLNiWRUEOLNiVHNXQGDQDVWDYHQi
GREDVHDXWRPDWLFN\SRWYUGt
51 CZ
*V bČžném provozním režimu, na jakékoliv úrovni výkonu,
není maximální celkový výkon zóny #1 a #2 vyšší než
3000 W.
*V bČžném provozním režimu, na jakékoliv úrovni výkonu,
3000 W.
není maximální celkový výkon zóny #3 a # vyšší než
4

9UHåLPXþDVRYDþH]SĤVREtVRXþDVQpVWLVNQXWtWODþtWHN
þDVRYDþHDY\PD]iQtQDVWDYHQtQDRGSRþHWþDVX
MH]UXãHQ
%H]SHĀQRVWQtUHçLP
3UR]DMLãWČQtEH]SHþQRVWLGČWtMHLQGXNþQtYDUQiGHVNDRSDWĜHQD
SRMLVWQêP]DĜt]HQtP
=DPNQXWt
9SUDFRYQtPUHåLPXVWLVNQČWHWODþtWNRYDUQiGHVNDVH
]DEORNXMHQDþDVRYDþLVH]REUD]tDRVWDWQtWODþtWND
MVRXY\ĜD]HQDVYêMLPNRXWODþtWND
9SRKRWRYRVWQtPUHåLPXVWLVNQČWHWODþtWNR]iPNXYDUQi
GHVNDVH]DEORNXMHQDþDVRYDþLVH]REUD]tDRVWDWQt
WODþtWNDMVRXY\ĜD]HQD1DþDVRYDþLVHQDFKYtOL]REUD]t
DSRWRPþDVRYDþ]KDVQH
3RNXGVWLVNQHWHWODþtWNR;]REUD]tVHQDFKYtOL
2GHPNQXWt
3ĜLGUåWHWODþtWNR]iPNXQDVHNXQG\DIXQNFH]iPNXVH
Y\SQH
6SHFLiOQtIXQNFH
7ODþtWNR6,00(5,1*
VODEêYêNRQ
~URYHĖ
7ODþtWNR0(',80
VWĜHGQtYêNRQ
~URYHĖ
7ODþtWNR+,*+
Y\VRNêYêNRQ
~URYHĖ
=DSQČWHY\EUDQRX]yQXVWLVNHPQHER
6WLVNQČWHWODþtWNR6,00(5,1*QDLQGLNiWRUXVH]REUD]t
6WLVNQČWHWODþtWNR0(',80QDLQGLNiWRUXVH]REUD]t
6WLVNQČWHWODþtWNR+,*+QDLQGLNiWRUXVH]REUD]t
)XQNFHSDPďĨ
0ĤåHWHSRXåtWIXQNFLSDPČWLSURXORåHQtQDVWDYHQpKRYêNRQXD
WUYiQt]DSQXWt]yQ\
1DKUiYiQt
9\EHUWHSRåDGRYDQRXYDUQRX]yQXVWLVNHPWODþtWNDQHER
NG\åEOLNiLQGLNiWRUYêNRQXWpWR]yQ\
6WLVNQČWHWODþtWNRNG\åLQGLNiWRUþDVRYDþH]REUD]XMH
]QDPHQiåiGQêF\NOXVYDĜHQtQHQtYSDPČWL3ĜLGUåWH
WODþtWNRSDPČWLQDVHNXQG\NG\åLQGLNiWRU]REUD]XMH
D]DKiMtVHQDKUiYiQt
,QGLNiWRU~URYQČYêNRQX]REUD]XMHVWĜtGDYČDQDVWDYHQRX
~URYHĖYêNRQX
0D[LPiOQtSRþHWRSHUDFtMH]PČQ~URYQČYêNRQXYSUĤEČKX
KRGLQ2GFK\ON\YêNRQXWUYDMtFtPpQČQHåVHNXQGQHMVRX
]D]QDPHQiYiQ\
=DVWDYHQtQDKUiYiQt
6WLVNQČWH]QRYXWODþtWNRSDPČWL]KDVQHDF\NOXVYDĜHQt
VHXORåt
1(%2
9\SQČWHRGSRYtGDMtFtYDUQRX]yQXVRXþDVQêPVWLVNHP
WODþtWHNDQHERQDVWDYHQtP~URYQČYêNRQXQD
QHEXGHQDGLVSOHMLQDGiOH]REUD]HQRDF\NOXV
YDĜHQtVHXORåt
1(%2
1(%2
6HMPČWHKUQHF]SĜtVOXãQpYDUQp]yQ\.G\åMH
GHWHNRYiQRåHE\ORGHEUiQKUQHFQDGLVSOHMLþDVRYDþH
]KDVQHDF\NOXVYDĜHQtVHXORåt
3URYHćWHYtFHQHå]PČQQDVWDYHQtLQWHQ]LW\
QDGLVSOHMLþDVRYDþH]KDVQHDF\NOXVYDĜHQtVHXORåt
3RN\Q\SURSRXçLWt
52 CZ

1(%2
1(%2
Y\SQČWHYDUQRXGHVNX9WDNRYpPSĜtSDGČVHXNOiGiQt
F\NOXYDĜHQtDXWRPDWLFN\]UXãt
Y\SQČWHXNOiGiQtSURYDUQRX]yQX]DPpQČQHå
VHNXQGRG]DKiMHQtQDKUiYiQt9WDNRYpPSĜtSDGČVH
XNOiGiQtF\NOXYDĜHQtDXWRPDWLFN\]UXãt
6SXãWČQtXORåHQpKRF\NOXYDĜHQt
6WLVNQČWHWODþtWNRSDPČWLDQDGLVSOHMLþDVRYDþHVHQD
VHNXQG]REUD]t=yQDRGSRYtGDMtFtQDKUDQpPX
F\NOXYDĜHQtVHUR]VYtWtDVSXVWtVHSURYiGČQtF\NOX
3RNXGMHMLåRGSRYtGDMtFt]yQD]DSQXWiPiQDKUDQêF\NOXV
YDĜHQtSĜHGQRVWDEXGHSURYHGHQ
3RNXGEČKHPQDKUDQpKRF\NOXYDĜHQtVWLVNQHWHWODþtWNR
QHERQDKUDQêF\NOXVYDĜHQtVH]UXãtDMHREQRYHQR
QRUPiOQtRYOiGiQtSĜHVWRåHXORåHQêF\NOXVYDĜHQt]ĤVWDQH
]DFKRYiQYSDPČWL
-DNQDKUiWQRYêF\NOXVYDĜHQtNG\åMHMLå
MHGHQXORåHQ
=DSQČWHYDUQRX]yQXSURNWHURXVHPiQDKUiYDW
VWLVNQXWtPQHER
1DFKYtOLSĜLGUåWHWODþtWNRDE\VH]REUD]LOR
]QDPHQiYDUQi]yQDXORåHQDYSDPČWL
3RWRPVH]REUD]tDQDKUiYiQtF\NOXY\EUDQp]yQ\
VHVSXVWt
0D[LPiOQtYêNRQYDUQêFK]yQMHQiVOHGXMtFt
2KĜtYDQi
]yQD
1RUPiOQt
,QWHQ]LYQt
3RN\Q\SURSRXçLWt
53 CZ
9êãHXYHGHQpVHPĤåHOLãLWY]iYLVORVWLQDYHOLNRVWLKUQFH
DPDWHULiOX]HNWHUpKRMHY\UREHQ
FLEXIBILNÍ OBLAST
Tuto oblast mĤžete použít jako jednoduchou zónu nebo
jako dvČ rĤzné zóny, podle potĜeby.
Flexibilní oblast obsahuje dva nezávislé induktory, které
lze ovládat samostatnČ. Pokud funguje jako jednoduchá
zóna, þást nezakrytá nádobím se automaticky vypne po
jedné minutČ.
Jako velká zóna
K aktivaci flexibilní zóny jako velká zóna, pouze stisknČte
odpovídající tlaþítka.
Nastavení výkonu funguje jako u bČžné oblasti.
Pokud nádobí pĜemístíte z pĜední do zadní þásti (nebo
obrácenČ), flexibilní oblast zjistí automaticky novou pozici,
se zachováním stejného výkonu.
Jako dvČ nezávislé zóny
K použití flexibilní oblasti jako dvČ nezávislé zóny s
rĤznými nastaveními výkonu, stisknČte odpovídající
tlaþítka.
Pro zajištČní správné detekce nádoby a rovnomČrnou
distribuci tepla musíte nádobí správnČ umístit:
- Do pĜední nebo zadní oblasti flexibilní zóny, pokud je
nádoba menší než 22 cm.
- U vČtšího nádobí kdekoliv.
6
7
8
Flexible
Area
9
flexibilní prostor byl aktivován LED dioda na znamení,
Čte vyhrazené tlaþ
Ĝed použitím
jako dva jiné zóny
Pokud flexibilní prostor, stiskn ítko pro
vypnutí, p
1800
3000
3000
4000
3000
1800
3000
1800
1800
3000

8./È'È1Ë$Ò'5ä%$
3ĜHGSURYiGČQtPMDNpNROLþLQQRVWL~GUåE\QHFKWHYDUQRXGHVNX
Y\FKODGQRXW
6PČMtVHSRXåtYDWSRX]HSURGXNW\SDVW\DãNUDEN\SĜtPR
XUþHQpSURVNORNHUDPLFNpSRYUFK\3URGiYDMtVHYREFKRGHFKV
GRPiFtPLSRWĜHEDPL
9\YDUXMWHVHUR]OLWtSURWRåHFRNROLUR]OLWpQDSRYUFKXYDUQp
GHVN\VHU\FKOHSĜLSHþHWDNåHMHþLãWČQtYHOPLREWtåQp
'RSRUXþXMHVHXNOiGDWYãHFKQ\OiWN\NWHUpPDMtVNORQNPČNQXWt
WHSOHPQDSĜtNODGSODVW\FXNUFXNURYpYêUREN\PLPRYDUQRX
GHVNX
Ò'5ä%$
1DQHVWHQČNROLNNDSHNVSHFLiOQtKRþLVWLFtKRSURVWĜHGNXQD
SRYUFKYDUQpGHVN\
2WĜHWH]DVFKOpVNYUQ\PČNNêPKDGĜtNHPQHERPtUQČ
QDYOKþHQRXSDStURYRXXWČUNRX
2WĜHWHPČNNêPKDGĜtNHPQHERVXFKRXSDStURYRXXWČUNRX
GRNXGQHQtSRYUFKþLVWê
2GROQpQHþLVWRW\NWHUpVHWDNWRQHRGVWUDQt
1DQHVWHQČNROLNNDSHNVSHFLiOQtKRþLVWLFtKRSURVWĜHGNXQD
SRYUFKYDUQpGHVN\
2GVWUDĖWHãNUDENRXGUåHQRXY~KOXNSRYUFKXYDUQpGHVN\
2WĜHWHPČNNêPKDGĜtNHPQHERVXFKRXSDStURYRXXWČUNRX
GRNXGQHQtSRYUFKþLVWê
9SĜtSDGČSRWĜHE\SRVWXSRSDNXMWH
1ċ.2/,.5$'
ýDVWpþLVWČQtSRQHFKiYiRFKUDQQRXYUVWYXNWHUiMHSRWĜHEQiSUR
]DEUiQČQtSRãNUiEiQtDRSRWĜHEHQt3ĜHGSRXåLWtPYDUQpGHVN\
VHXMLVWČWHåHMHSRYUFKþLVWê3URRGVWUDQČQtVWRSSRYRGČ
SRXåLMWHQČNROLNNDSHNRFWDQHERFLWURQRYpãĢiY\3RWRPRWĜHWH
DEVRUSþQtSDStURYRXXWČUNRXVQČNROLNDNDSNDPLVSHFLiOQtþLVWLFt
NDSDOLQ\6NORNHUDPLFNêSRYUFKRGROiYiSRãNUiEiQtRGQiGREtV
SORFKêPGQHPMHYãDNYåG\OHSãtQiGREXSĜLRGVWUDĖRYiQt]H
]yQ\QHMSUYHQDG]GYLKQRXW
1HSRXåtYHMWHKRXEXNWHUiMHSĜtOLãPRNUi
1LNG\QHSRXåtYHMWHQĤåQHERãURXERYiN
âNUDENDVåLOHWNRYêPRVWĜtPQHRãNUiEHSRYUFKSRNXGMH
XGUåRYDQiSRG~KOHP
âNUDENXVåLOHWNRYêPRVWĜtPQLNG\QHQHFKiYHMWHYGRVDKX
GČWt
1LNG\QHSRXåtYHMWHDEUD]LYQtSURGXNW\QHERSUiãN\
1È6/('1È3eý(
3ĜHG]DYROiQtPVHUYLVQtKRWHFKQLND]NRQWUROXMWHQiVOHGXMtFt
]GDMH]iVXYNDVSUiYQČ]DVXQXWDDFKUiQČQDSRMLVWNRX.G\å
QHO]H]MLVWLWSĜtþLQX]iYDG\Y\SQČWHVSRWĜHELþ²QHPDQLSXOXMWH
VQtP²]DYROHMWHVHUYLVQtVWĜHGLVNR6SRWĜHELþMHGRGiYiQVH
]iUXþQtPOLVWHPNWHUêRSUDYĖXMHNMHKREH]SODWQpRSUDYČY
VHUYLVQtPVWĜHGLVNX
ě(â(1Ë352%/e0ģ
,QGXNþQtYDUQiGHVNDY\GiYiKOXN
1RUPiOQt9HQWLOiWRUFKODGLFtHOHNWURQLFNpSUYN\MH]DSQXW
,QGXNþQtYDUQiGHVNDY\GiYiVODEêSLãWLYê]YXN
1RUPiOQt9]KOHGHPNSUDFRYQtIUHNYHQFLLQGXNWRUĤVHPĤåH
R]êYDWSLãWČQtSĜLVRXþDVQpPSRXåLWtYDUQêFK]yQQDPD[LPiOQt
YêNRQ
9DUQp]yQ\QHXGUåXMtYDUQHERGRVWDWHþQêYêNRQSĜLVPDåHQt
0XVtWHSRXåtYDWSiQYHVQDSURVWRURYQêPGQHP
'QDSiQYtE\PČORSĜHVQČRGSRYtGDWSUĤPČUX]YROHQpYDUQp
]yQ\
-tGORVHYDĜtSRPDOX
%\ORSRXåLWRQHVSUiYQpQiGREt'QDSiQYtE\PČODEêWURYQiV
URYQRPČUQRXWORXãĢNRXDVWHMQêPSUĤPČUHPMDNRPi]YROHQi
RKĜtYDFt]yQD
'UREQpãNUiEDQFHSUDVNOLQ\QHERRGĜHQiPtVWDQDVNOHQČQpP
SRYUFKXYDUQpGHVN\
1HVSUiYQiPHWRGDþLãWČQtQiGREt]GUVQêPGQHPQHERKUXEp
þiVWLFHVĤOþLStVHN]DFK\FHQpPH]LGQHPQiGREtDSRYUFKHP
YDUQpGHVN\
3RXåLMWHGRSRUXþHQêSRVWXSþLãWČQtD]NRQWUROXMWHåHMHGQR
QiGREtþLVWpDåHSRXåtYiWHQiGREtVKODGNêPGQHP
.RYRYpVWRS\PRKRXY\SDGDWMDNRãNUiEDQFH
1HSRVXQXMWHKOLQtNRYpQiGREtSRSRYUFKX
3RXåLMWHGRSRUXþHQpþLVWLFtSRVWXS\SURRGVWUDQČQtWČFKWRVWRS
1HVSUiYQpþLVWLFtPDWHULiO\PRKRX]SĤVRELWQHGRNRQDOp
RGVWUDQČQtQHþLVWRW\QHERPDVWQRW\QDSRYUFKXSRXåLMWHãNUDENX
VåLOHWNRYêPRVWUêPDGRSRUXþHQpþLVWLFtSURVWĜHGN\
7PDYpSĜLSiOHQLQ\
3RXåLMWHãNUDENXVåLOHWNRYêPRVWUêPDGRSRUXþHQpþLVWLFt
SURVWĜHGN\
2GEDUYHQiPtVWDQDYDUQpPSRYUFKX
6WRS\SRKOLQtNRYêFKDPČGČQêFKSiQYtFKQHERPLQHUiOQt~VDG\
SRYRGČþLSRWUDYLQiFKO]HMHRGVWUDQLWþLVWLFtPNUpPHP
+RUNpFXNURYpVPČVLQHERSODVWSĜLSHþHQêNSRYUFKX
9L]þiVWýLãWČQtVNOHQČQpYDUQpGHVN\
9DUQiGHVNDMHPLPRSURYR]QHERQČNWHUpRKĜtYDFt]yQ\
QHIXQJXMt
6SRMRYDFtW\þN\QHMVRXVSUiYQČ]DVXQXW\YHVYRUNRYQLFL
=NRQWUROXMWH]GDMHSĜLSRMHQtVSUiYQpSRGOHLQVWDODþQtFKSRN\QĤ
QDVWUDQČ
9DUQiGHVNDQHQtIXQNþQt
2YOiGDFtSDQHOMHX]DPNQXW3URXYROQČQtVWLVNQČWHX]DP\NDFt
WODþtWNR
9DUQiGHVNDVHQHY\SQXOD
2YOiGDFtSDQHOMHX]DPNQXW3URXYROQČQtVWLVNQČWHX]DP\NDFt
WODþtWNR9L]NDSLWRODQDVWUDQČ
9DUQiGHVNDVHY\StQiDXWRPDWLFN
\
9DUQp]yQ\VHDXWRPDWLFN\Y\SQRXSRNXGVHGORXKRXGREX
QHSRXåtYDMt9L]NDSLWRODQDVWUDQČ
)UHNYHQFH]DStQiQtDY\StQiQtSURYDUQp]yQ\
&\NO\]DStQiQtDY\StQiQtVHOLãtSRGOHSRåDGRYDQp~URYQČRKĜHYX
Qt]Ni~URYHĖNUiWNiGRED]DSQXWt
Y\VRNi~URYHĖGORXKiGRED]DSQXWt
7HQWRVSRWĜHELþMHR]QDþHQYVRXODGXVHYURSVNRX
VPČUQLFt R HOHNWURQLFNpP D
HOHNWULFNpPRGSDGX:(((3RNXG]DMLVWtWHåH
MHWHQWRYêUREHNVSUiYQČ]QHãNRGQČQSRPiKiWH
SĜHGFKi]HWQHJDWLYQtPGRSDGĤPQDåLYRWQt
SURVWĜHGtDOLGVNp]GUDYtNWHUpE\PRKO\EêW
GĤVOHGNHPQHVSUiYQpKRQDNOiGiQtVWtPWR
YêURENHP6\PEROQDSURGXNWXR]QDþXMHåHV
WtPWRYêURENHPQHO]H]DFKi]HWMDNRV
NRPXQiOQtPRGSDGHP
0tVWRWRKRE\PČOEêWSĜHGiQQDYKRGQpVEČUQpPtVWRSUR
UHF\NODFLHOHNWULFNpKRDHOHNWURQLFNpKR]DĜt]HQt/LNYLGDFHPXVt
EêWSURYHGHQDYVRXODGXVPtVWQtPLSĜHGSLV\SURQDNOiGiQtV
RGSDGHP3RGUREQČMãtLQIRUPDFHR]DFKi]HQtRSDNRYDQpPY\XåLWt
DUHF\NODFLWRKRWRYêURENXPĤåHWH]tVNDWXVYpKRPtVWQtKR~ĜDGX
VSROHþQRVWLSURYiGČMtFtOLNYLGDFLRGSDGXQHERYREFKRGČNGHMVWH
YêUREHN]DNRXSLOL
3R]QiPND
0D[LPiOQČ
54 CZ
20 2/ /E
1 19 U

Varnostni ukrepi in vzdrževanje
55 SI
Pri prikljuþitvi vgradite
varnostno stikalo .
Kuhalna plošþa ni primerna
za uporabo na prostem
Nikoli ne potapljajte
indukcijske kuhalne plošþe
v vodo .
Ne vklapljajte kuhališþa, þe ja
na njem prazna posoda. S
kuhalno plošþo in povzroþili
nevarnost.
Nikoli ne segrevajte
hermetiþno zaprtih posod,
npr. konzerv – vedno jih
najprej odprite, saj v
nasprotnem primeru obstaja
Po dolgotrajnem kuhanju
ostane kuhališþe vroþe.
þete
ne dotikajte se
steklokeramiþne površine z
golo roko.
Obþasno se prepriþajte, da
so odprtine za zra
þenje
þo proste
in da lahko zrak neovirano
kroži.
Ne odlagajte kovinskih
predmetov (npr. nožev, vilic,
plošþo, saj bi se lahko ti
segreli.
Ne uporabljajte kuhalne
plošþe v bližini drugih naprav,
temperaturo (npr. štedilnik na
plin ali peþ na kerozin).
V omarici pod kuhalno
plošþo ne hranite þistil ali
drugih vnetljivih snovi.
Na kuhalno plošþo ne
postavljajte posod z grobim
dnom, saj bi te lahko
poškodovale steklokeramiþno
površino.
Redno þ
istite steklokerami
þno
površino, da prepre
þite, da bi
onemogoþilo brezhibno
delovanje aparata.
ýe se prikljuþni kabel
poškoduje, ga mora
zamenjati pooblašþeni
serviser ali druga ustrezno
usposobljena oseba.
nevarnost, da
eksplodirajo
Pazite, da se ne
ope
pod kuhalno
ploš
žlic ali pokrovk)
na kuhalno
ki proizvajajo
visoko
tem bi lahko
poškodovali
tujki zašli
v ventilator, kar bi

56 SI
Varnostni ukrepi in vzdrževanje
OPOZORILO: Aparat in njegovi dostopni deli se med
uporabo segrejejo. Pazite, da se ne dotaknete grelcev!
Otroci, mlajši od 8 let, naj se aparatu ne približujejo
nenadzorovani.
Otroci, starejši od 8 let, ter osebe z zmanjšanimi fizičnimi,
zaznavnimi ali umskimi sposobnostmi ali pomanjkljivimi
izkušnjami ter znanjem lahko uporabljajo aparat le pod
nadzorom oseb, ki so odgovorne za njihovo varnost, in ki so
jih seznanili z varno uporabo aparata ter le v primeru, da
razumejo tveganje, ki je s tem povezano.
Otroci se ne smejo igrati z aparatom.
Otroci lahko sodelujejo pri čiščenju in vzdrževalnih delih le
pod nadzorom odraslih.
OPOZORILO: Pri segrevanju maščobe ali olja se ne
oddaljujte od aparata, saj se te snovi zlahka vnamejo in
povzročijo požar.
NIKOLI ne gasite ognja z vodo, ampak izklopite aparat in
nato pokrijte plamen - npr. s pokrovko ali primerno
nevnetljivo krpo ali odejo.
OPOZORILO: Nevarnost vžiga! Na kuhalno površino ne
odlagajte nikakršnih predmetov.
Pri čiščenju ne uporabljajte aparatov za čiščenje s paro.
Po uporabi izklopite kuhalno mesto; ne zanašajte se na
detektor posode!

LQSUDYLOQLNLRHOHNWURPDJQHWVNLVNODGQRVWL/MXGMHV
2SR]RULOR
VSRGEXMHYDOQLNRPQHVPHMRXSRUDEOMDWLWHQDSUDYHVDMQHPRUHPR
MDPþLWLGDVRYVHQDSUDYHNLREVWDMDMRQDWUJXYVNODGXV
HUHQFH
7DQDSUDYDMHYVNODGXVWUHQXWQLPLYDUQRVWQLPLSUDYLOL
WUHQXWQLPLYDUQRVWQLPLSUDYLOLLQYHOMDYQLPLSUDYLOLJOHGH
HOHNWURPDJQHWVNHVNODGQRVWLLQGDQHERSULãORGRãNRGOMLYH
LQWHUI
/DKNRVH]JRGLWXGLGDOMXGMH]GUXJLPLWLSLQDSUDY
NRWVRQSUVOXãQLDSDUDWLREXSRUDELþXWLMRGRORþHQRQHXJRGMH
57 SI
Varnostni ukrepi in vzdrževanje
Pri fiksni priključitvi mora biti zagotovljena možnost izklopa
iz električnega omrežja skladno z veljavnimi predpisi.
V navodilih je navedena ustrezna vrsta priključnega kabla,
saj je potrebno upoštevati temperaturo na hrbtni strani
aparata.
Če je priključni električni kabel poškodovan, ga je mora
Aparat ni namenjen priključitvi na zunanjo programsko uro
ali poseben sistem za daljinsko upravljanje.
zamenjati ustrezno usposobljen strokovnjak pooblaščenega
servisa ali druga strokovna oseba, da se izognete tveganju.
POZOR: Da bi se izognili slučajnemu resetiranju termičnega
prekinjala, aparat ne sme biti napajan preko zunanje
naprave, npr. programske ure, ter ne sme biti priključen na
tokokrog, ki ga redno vklaplja oz. izklaplja dobavitelj
energije.

2612912232=25,/2
3$=/-,9235(%(5,7(35,52ý1,.=1$92',/,'$%,692-2,1'8.&,-6.23/2âý2/$+.2.$51$-%2/-(8325$%/-$/,
3ULSRURþDPRYDPXSRUDERQDYRGLO]DLQVWDODFLMRLQKUDQMHQMHOHWHK]DPRUHELWQRNDVQHMãRXSRUDER=DEHOHåLWHVHULMVNRãWHYLONRSORãþH
NRWMHSULND]DQRVSRGDM3UHGQMHQLPQDPHãþDQMHPYSULPHUXGDERVWHSRQDNXSXPRUDOLVWRSLWLYVWLNVSRGSRUQLPFHQWURP
.RGDL]GHOND
6HULMVNDãWHYLOND
,GHQWLILNDFLMVNDSORãþD
QDPHãþHQDSRGVSRGQMR
SUHYOHNRSORãþH
9a+]
9+]
;;
[
.8+$/1$3/2âý$
1DSHWRVWJODYQHQDSHOMDYH
,QVWDOLUDQDHOHNWULþQDPRþ:
9HOLNRVWL]GHONDJ;ã;Y
WLSRVGHLQGXomR
'LPHQ]LMH]DYJUDGQMR$;%
.XKDOLãþD
6WDOQRVHWUXGLPRGDELL]EROMãDOLNYDOLWHWRL]GHONDLQYWDQDPHQLPDMRODKNRQDSUDYHGRORþHQHPRGLILNDFLMHVDMERGRåHYVHERYDOH
]DGQMHWHKQLþQHL]EROMãDYH
,QGXNFLMVNHSORãþHVRYVNODGX](8'LUHNWLYDPL((&LQ((&LQNDVQHMãLPD'LUHNWLYDPD(&LQ
(&LQQMLKRYLPLDPDQGPDML
58 SI
HIFD440BC

,167$/$&,-$
,QVWDODFLMDJRVSRGLQMVNHJDDSDUDWDMHODKNR]DSOHWHQSURFHVNLODKNRUHVQRRJUR]LYDUQRVWXSRUDEQLNDþHQLSUDYLOQR
L]YHGHQD=DUDGLWHJDPRUDMRWHQDORJHL]YDMDWLSURIHVLRQDOQRNYDOLILFLUDQHRVHEHNLERGRLQãWDOLUDOHQDSUDYRYVNODGX]
YHOMDYQLPLWHKQLþQLPLSUDYLOL9SULPHUXGDLJQRULUDWHWDQDVYHWLQLQVWDODFLMRL]YHGHQHNYDOLILFLUDQDRVHEDSURL]YDMDOHFQH
RGJRYDUMD]DWHKQLþQHQDSDNHL]GHONDNLODKNRSRVOHGLþQRSRY]URþLMRãNRGRQDL]GHONXDOLSRãNRGEHRVHE
9*5$'1-$
3RKLãWYRYNDWHURERVWHYJUDGLOLYDãRSORãþRLQYVHSUHRVWDOR
SRKLãWYRPRUDELWLQDUHMHQRL]PDWHULDODNLY]GUåLYLVRNH
WHPSHUDWXUH3ROHJWHJDPRUDMRELWLYVLGHNRUDWLYQLODPLQDWH
SULWUMHQL]OHSLORPNLMHRGSRUHQQDYURþLQR
,QVWDODFLMD
9RGRWHVQRWHVQLORMHSULORåHQRSORãþL
3UHGQDPHãþDQMHP
REUQLWHSORãþRQDY]GROWDNRGDMHVWHNOHQDSRYUãLQDREUQMHQD
SURWLWOHP
=DJRWRYLWHGDMHVWHNOR]DãþLWHQR
QDPHVWLWHWHVQLORRNURJSORãþH
SUHYHULWHGDMHSUDYLOQRQDPHãþHQRGDVHL]RJQLWHSXãþDQMX
WHNRþLQYSRGSRUQLHOHPHQW
3RPHPEQRMHGDSORãþRSULWUGLWHQDUDYQRSRGSRUQRSRYUãLQR
'HIRUPDFLMHNLMLKSRY]URþDQHSUDYLOQRQDPHãþDQMH
VSUHPHQLMRVSHFLILNDFLMHGHORYQHSRYUãLQHLQYSOLYDMRQD
GHORYDQMHSORãþH
3XVWLWHQDMPDQMFPSURVWRUDPHGQDSUDYRLQGUXJLPL
YHUWLNDOQLPLSRYUãLQLYEOLåLQL
=HORSRPHPEQRMHGDMHRVWDQHNYVNODGXVVSHFLILFLUDQLPL
GLPHQ]LMDPL
2GUHåLWHOXNQMRQDGHORYQLSRYUãLQLQDGLPHQ]LMHSULND]DQHY
VSRGQMHPGLDJUDPX2NROLOXNQMHSXVWLWHPLQLPDOQRPP
SURVWRUD
'HORYQDSRYUãLQDQDMELELODGHEHODYVDMPPLQL]GHODQDL]
PDWHULDODRGSRUQHJDQDYURþLQR.RWSULND]DQRYVNLFL
3ORãþHQHPRUHWHQDPHVWLWLQDGSHþMRNLQLPDYHQWLODWRUMDQDG
VWURMHP]DSRPLYDQMHSRVRGHKODGLOQLNRP]DPU]RYDOQLNRPDOL
SUDOQLPVWURMHP
=HORSRPHPEQRMHGDMHLQGXNFLMVNDSORãþDGREURSUH]UDþHQD
LQGDNURåHQMH]UDNDQLEORNLUDQR
3UHYHULWHGDMHSORãþDSUDYLOQRLQVWDOLUDQDNRWMHSULND]DQRY
VNLFL
0LQLPXPPP
0LQLPXPFP
0LQLPXPFP
2GWRN]UDND
0LQLPXPPP
'RWRN]UDND
3D]LWH=DUDGLYDUQRVWQLKUD]ORJRYPRUDELWLSURVWRUPHGSORãþR
LQRPDUDPLQDGQMRQDMPDQMPP
(/(.75,ý129(=-(
³,QVWDODFLMDPRUDXVWUH]DWLQDMQRYHMãLPVWDQGDUGRPVSRGURþMD
HOHNWULþQLKLQVWDODFLM´
3URL]YDMDOHFQHRGJRYDUMD]DNDNUãQRNROLãNRGRNLMRSRY]URþL
QHSULPHUQDLQQHVPRWUQDXSRUDED
2SR]RULOR
3UHGXSRUDERYHGQR]XSRUDERPHULOFDQDSHWRVWLSUHYHULWH
HOHNWULþQRSRYH]DYRGRSUHNLQMHYDOFDHOHNWULþQHJDWRNRNURJDLQ
SUHYHULWHNRQWLQXLWHWRR]HPOMLWYHGRLQVWDODFLMHLQþHMHYDURYDOND
SULPHUQD
(OHNWULþQDSRYH]DYD]LQVWDODFLMRPRUDELWLSRYH]DQDSUHNR
R]HPOMHQHGR]HDOLSUHNRRPQLSROQHJDSUHNLQMDOQHJDVWLNDOD]
RGSUWLQRQDMPDQMPP
ýHLPDQDSUDYDYWLþQLFRPRUDWDELWLLQVWDOLUDQDWDNRGDMH
YWLþQLFDQDGRVHJX
5XPHQR]HOHQDåLFDNDEOD]DHOHNWULþQRQDSHOMDYRPRUDELWL
SRYH]DQD]R]HPOMLWYLMRWHUPLQDORY]DQDSDMDOQHHQRWHLQ
QDSUDYH
3URL]YDMDOHFQHPRUHRGJRYDUMDWL]DNDNUãQHNROLQHVUHþHNL
L]KDMDMRL]XSRUDEHQDSUDYHNLQLR]HPOMHQDDOL]QDSDþQR
R]HPOMLWYLMR
9VDYSUDãDQMDY]YH]L]QDSDMDOQRHQRWRQDVORYLWHQDHNLSR
3RREODãþHQHJDVHUYLVDDOLNYDOLILFLUDQHJDWHKQLND
ýHMHNDEHOSRãNRGRYDQDOLJDMHWUHED]DPHQMDWLPRUDWR
L]YHVWLSRREODãþHQHFVWHPXQDPHQMHQLPLRURGMLYL]RJLE
NDNUãQLNROLãNRGLLQSRY]URþLWYLQHVUHþH
3RYH]DYD]QDSDMDOQRHQRWR
9WLþQLFDPRUDELWLSRYH]DQDYVNODGX]UHOHYDQWQLPLVWDQGDUGL]
HQRSROQLPSUHNLQMDOQLPVWLNDORP1DþLQSRYH]DYHMHSULND]DQ
QDVNLFL
.DEODQHVPHWHXSRJLEDWLDOLVWLVNDWL
5MDYD
ýUQD
5XPHQD=HOHQD
59 SI
L1 L2
N1 N2
6LYD
0RGUD
56 cm
49 cm
+0.4
+0.1
+0.4
+0.1

3RVRGHNLNURåQHWRNRYH
VSUHPHQLMRY723/272
.URåQLWRNRYL
6WHNORNHUDPLþQLSRNURY
7XOMDYD
.RQWUROQDHQRWD
(OHNWURQVNLJHQHUDWRUQDSDMDVSLUDORNLMHQDPHãþHQDY
QRWUDQMRVWLQDSUDYH
7DWXOMDYDWYRULPDJQHWVNRSROMHWDNRGDYWUHQXWNXNRVH
SRVRGRSRVWDYLQDSORãþRYWRSURGUHMRNURåQLWRNRYL
7LWRNRYLSRY]URþLMRGDMHSRVRGDSUHYRGQLNWRSORWHPHGWHP
NRRVWDMDVWHNORNHUDPLþQDSORãþDKODGQD
7DVLVWHPMHQDPHQMHQXSRUDELSRQHY]PDJQHWQLPGQRP
3RYHGDQRSUHSURVWRLPDWHKQRORJLMDLQGXNFLMHGYHJODYQL
SUHGQRVWL
.HUYURþLQRRGGDMDSRVRGDVDPDVHRKUDQMDPDNVLPDOQD
UDYHQWRSORWHLQNXKDQMHSRWHNDEUH]L]JXEHWRSORWH
1LWRSORWQHLQHUFLMHVDMVHNXKDQMH]DþQHDYWRPDWLþQRNR
SRORåLWHSRVRGRQDSORãþRLQSUHQHKDNRVHSRVRGRRGVWUDQL
1$35$9$=9,62.,01,92-(09$51267,
=DãþLWDSUHGSUHYHOLNRWHPSHUDWXUR
6HQ]RUQDG]RUXMHWHPSHUDWXURNXKDOLãþ.RWHPSHUDWXUD
SUHVHåHãHYDUHQQLYRVHNXKDOLãþHDYWRPDWLþQRL]NORSL
2SR]RULORSUHGRVWDORWRSORWR
.RMHSORãþDQHNDMþDVDGHORYDODERYHUMHWQRãHWRSODýUND
³+´RSR]DUMDGDVHSORãþHQHVPHWHGRWLNDWL
$YWRPDWLþQLL]NORS
'RGDWQDYDUQRVWQD]QDþLOQRVWLQGXNFLMVNHSORãþHMHDYWRPDWLþQL
L]NORS'RL]NORSDSULGHNDGDUNROLSR]DELWHL]NORSLWLNXKDOLãþH
'RORþHQLþDVL]DL]NORSVRSULND]DQLYVSRGQMLWDEHOL
1LYRPRþL
.XKDOLãþHVHL]NORSLDYWRPDWLþQRSR
a
a
a
XUDK
XUDK
XUDK
XUL
.RSRVRGRRGVWUDQLWHVNXKDOLãþDWDNRMSUHQHKD]JUHWMHPLQVH
L]NORSLVDPRGHMQRSRHQRPLQXWQHPRSR]RULOXEUHQþDOD
23201,.
%ROQLNVVSRGEXMHYDOQLNRPVUFDODKNRWDL]GHOHNXSRUDEOMDVDPR
SRGYRGVWYRP]GUDYQLND
1$69(7,=$8325$%235$9(3262'(=$3/2âý2
8SRUDEDSRVRGHGREUHNYDOLWHWHMHNOMXþQD]DY]GUåHYDQMH
QDMEROMãHXþLQNRYLWRVWLYDãHSORãþH
9HGQRXSRUDEOMDMWHSRVRGRGREUHNYDOLWHWHVSRSROQRPD
SORVNLPLQGHEHOLPGQRP8SRUDEDWHJDWLSDSRVRGHER
SUHSUHþLODYURþDPHVWDNLODKNRSRY]URþLMRSULMHPDQMHKUDQH
QDGQR'HEHOHNRYLQVNHSRVRGHLQSRQYHERGR]DJRWRYLOH
HQDNRPHUQRGLVWULEXFLMRWRSORWH
=DJRWRYLWHGDMHGQRSRVRGHDOLSRQYHVXKDNRSROQLWH
SRQYHVWHNRþLQRDOLXSRUDEOMDWHSRQHYNLMHELODYKODGLOQLNX
SRVNUELWHGDMHGQRSRVRGHSRSROQRPDVXKRSUHGHQJD
SRVWDYOMDWHQDSORãþR7RERSUHSUHþLORPD]DQMHSORãþH
1DVOHGQMHLQIRUPDFLMHYDPERGRSRPDJDOHSULL]ELULSRQHYNLVR
QDMEROMSULPHUQH]DGRVHJRGREULKUH]XOWDWRY
,QGXNFLMVNRREPRþM
2]QDþEDQD
NXKLQMVNLK
SULSRPRþNLK
1HUMDYHþHMHNOR
.LJDQLPRJRþH]D]QDWL
6SUHMHPOMLYåHOH]RPDJQHWQLL]QHUMDYHþHJDMHNOD
$OXPLQLM
1DR]QDþELSRJOHMWH]QDNNLNDåHþHMH
SRQHYNRPSDWLELOQD]LQGXNFLMVNRHQHUJLMR
8SRUDEOMDMWHPDJQHWQHSRQYHHPDMOLUDQ
SORþHYLQDVWHåHOH]QHMHNOHQHL]
QHUMDYHþHJDMHNODLQQDPHVWLWHPDJQHWQD
GQRSRQYHQXMQRVHPRUDMRSULOHSLWL
.LJDQLPRJRþH]D]QDWL
6XURYRåHOH]R 'REUDXþLQNRYLWRVW
(PDMOLUDQRMHNOR 'REUDXþLQNRYLWRVW
6WHNOR
.LJDQLPRJRþH]D]QDWL
3RUFHODQ
.LJDQLPRJRþH]D]QDWL
%DNUHQRGQR .LJDQLPRJRþH]D]QDWL
6KHPDWVNLGLDJUDPNRQWUROQHSORãþH
,1'8.&,-$
60 SI
þu.
Nekoliko širša posoda bo zagotovila maksimalno u
þinkovito izrabo energije. ýe uporabite
þ
þakovane. Možno je, da kuhališþe ne zazna
Uporabite posodo, katere dno je enakega premera kot oznaka na
izbranem kuhališ
manjšo posodo,
bo u
od pri
inkovitost
manjša
posode s
premerom pod 140 mm.
1. Power regular key
2. Timer regular key
5. Memory
3. Booster
4. Special function
6. Lock
7. On/Off
1
1
388567
4
2
8.
Flexible Area activation

1DYRGLOD]DXSRUDER
.DGDUMHQDSUDYDYNORSOMHQDRGGD]YRþQLVLJQDOYVL
LQGLNDWRUMLSDVHSULåJHMR]DHQRVHNXQGR.XKDOQDSORãþD
MHVHGDMYVWDQMXSULSUDYOMHQRVWL
3RVRGRSRORåLWHQDVUHGRNXKDOQHJDREPRþMD
1DYRGLOD]DXSUDYOMDQMH
3ULWLVQLWHWLSNRYVLLQGLNDWRUMLSULND]XMHMR
=DGRWLþQRNXKDOQRSORãþRVWLSNDPDDOLL]EHULWHQLYR
PRþL1D]DþHWNXLQGLNDWRUSULND]XMHDOLRGYLVQR
RGWHJDDOLSULWLVQLWHWLSNRDOL1DVWDYOMDMWHQDY]JRU
DOLQDYG]ROVSULWLVNRPQDWLSNRDOL
ýHLVWRþDVQRSULWLVQHWHWLSNLDOLVHQDVWDYLWHYPRþL
YUQHQDLQNXKDOQRREPRþMHVHL]NORSL
1%ýHSULWLVQLWHWLSNRLQþH]DPLQXWLLQGXNFLMVNR
NXKDOQRSORãþRSXVWLWHSULPLUXWD]RSHWSUHLGHYVWDQMH
SULSUDYOMHQRVWL
)XQNFLMDRMDĀDQMD
3ULWLVQLWHWLSNRLQGLNDWRUVWRSQMHPRþLNDåH
2SR]RULOR
)XQNFLMDRMDþDQMDGHOXMHOHPLQXWSRWHPþDVXNXKDOQR
REPRþMHSUHLGHQD]DMQDL]YLUQHQDVWDYLWYH
)XQNFLMDRMDþDQMDGHOXMHQDYVHKNXKDOQLKREPRþMLK
ýHMHDNWLYLUDQDIXQNFLMDRMDþDQMDQDNXKDOQHPREPRþMX
MHNXKDOQRREPRþMHVDPRGHMQRRPHMHQRQDVWRSQMRLQ
REUDWQRýHMHDNWLYLUDQDIXQNFLMDRMDþDQMDQD
NXKDOQHPREPRþMXMHNXKDOQRREPRþMHVDPRGHMQR
RPHMHQRQDVWRSQMRLQREUDWQR
)XQNFLMDĀDVRYQLND
ÿHMHYNORSOMHQRYHĀNRWREPRĀMH
9NORSLWHL]EUDQRREPRþMHVSULWLVNRPQDWLSNRDOLWHJD
REPRþMD8WULSDOHERGRXVWUH]QHãWHYLONH
QDWRSULWLVQLWHWLSNRþDVRYQLNDDOL,QGLNDWRU
VWRSQMHPRþLXWULSDLQNDåHSUDYWDNRXWULSDWXGLLQGLNDWRU
þDVRYQLND
1D]DþHWNXLQGLNDWRUSULND]XMHþDVQDVWDYLWHVLSNR
DOL.RQDVWDYLWHþDVODKNRL]EHUHWHVWRSQMRPRþL
NXKDOQHJDREPRþMD
6WLSNRDOLQDVWDYLWHþDVPHGPLQXWRWHUXUDPLLQ
PLQXWDPL
ýHWLSNRSULWLVQHWHHQNUDWþDVSRGDOMãDWH]DHQRPLQXWR
ýHWLSNRSULWLVQHWHLQ]DGUåLWHþDVSRGDOMãDWH]DPLQXW
.RþDVSUHVHJDXURJDVSULWLVNRPLQ]DGUåDQMHPWLSNH
SRGDOMãDWH]DPLQXW
ýHWLSNRSULWLVQHWHHQNUDWþDVVNUDMãDMWH]DHQRPLQXWR
ýHWLSNRSULWLVQHWHLQ]DGUåLWHþDVVNUDMãDWH]DPLQXW
.RþDVSUHVHJDXULJDVSULWLVNRPLQ]DGUåDQMHPWLSNH
VNUDMãDWH]DPLQXW
0HGQDVWDYOMDQMHPþDVRYQLNDODKNRQDVWDYOMDWHVWRSQMRPRþL
ÿHMHĀDVRYQLNQDVWDYOMDWQDYHĀNRWREPRĀMH
ýDVRYQLNODKNRQDVWDYOMDWHQDYVHKNXKDOQLKREPRþMLKýH
QDVWDYLWHþDVRYQLN]DYHþNXKDOQLKREPRþLMLVWRþDVQRVYHWLMR
GHFLPDOQHSLNH]DXVWUH]QDNXKDOQDREPRþMD
QDHNUDQXþDVRYQLNDMHQDMSUHMSULND]DQþDVNLQDWRL]JLQH
7RþNDXVWUH]QHJDREPRþMDXWULSD.RVHL]WHþHRGãWHYDQMHQD
þDVRYQLNXVHERXVWUH]QRREPRþMHL]NORSLOR1DWRVH]RSHW
SULNDåH]DþHWQLþDVRYQLNWRþNDXVWUH]QHJDREPRþMDXWULSD
ýHMHþDVRYQLNQDVWDYOMHQDQLYH]DQQDQREHQRREPRþMH
SUHSURVWRGHOXMHNRWRGãWHYDOQLNþDVD
61 SI
3UHNLQLWHYIXQNFLMH%2267
6WLSNDPDDOLJOHGHQDXVWUH]QRNXKDOQRREPRþMH
SUHNLQLQDþLQRMDþDQMD
*V normalnih pogojih delovanja najveþja skupna
moþ
kuhališþ #1 in #2 ne presega 3000 W ne glede
na nastavljeni stopnji.
*V normalnih pogojih delovanja najveþja skupna
moþ
kuhališþ
na nastavljeni stopnji.
#3 in # ne presega 3000 W ne glede
4

2SRPED
.DGDUþDVRYQLNSRNDåHPLQXWVHSUHNLQH
.RSRWHþHþDVVHXVWUH]QRNXKDOQRREPRþMHL]NORSL
ýHSULQDVWDYOMDQMXþDVDLQGLNDWRUXWULSDVHNXQGMH
QDVWDYOMHQþDVVDPRGHMQRSRWUMHQ
9QDþLQXþDVRYQLNDVH]LVWRþDVQLPSULWVNRPQDWLSNL
DOLQDVWDYLWHYPRþLSRYUQHQDþDVSDMHSUHNLQMHQ
9DUQRVWQLQDĀLQ
9QDPHQ]DJRWRYLWYHYDUQRVWLRWURNRPMHLQGXNFLMVND
SORãþDRSUHPOMHQD]QRWUDQMLP]DNOHSDQMHP
=DNOHSDQMH
9GHORYQHPQDþLQXSULWLVQLWHWLSNRNXKDOQDSORãþD
QDWRSUHLGHYQDþLQ]DNOHSDQMD1D]DVORQXVHSULNDåH
LQXSRUDEDRVWDOLKWLSNMHRQHPRJRþHQDUD]HQ
WLSNH
9VWDQMXSULSUDYOMHQRVWLSULWLVQLWHWLSNRORFNNXKDOQDSORãþD
SUHLGHYQDþLQ]DNOHSDQMD1D]DVORQXVHSULNDåHLQ
XSRUDEDRVWDOLKWLSNMHRQHPRJRþHQDýDVRYQLN]DQHNDM
þDVDSULNDåHQDWRVHL]NORSL
ýHSULWLVQLWHWLSNRVH]DQHNDMþDVDSULNDåH
2GNOHSDQMH
=DGUåLWHWLSNR/RFN]DWULVHNXQGHLQIXQNFLMD]DNOHSDQMD
VHGHDNWLYLUD
3RVHEQDIXQNFLMD
7LSND]D32ý$612.8+$1-(VWRSQMD
7LSND]D65('1-(.8+$1-(VWRSQMD
7LSND]D+,752.8+$1-(VWRSQMD
6WLSNDPLDOLYNORSLWHL]EUDQRREPRþMH
SULWLVQLWHWLSNR]D32ý$612.8+$1-(LGLNDWRUSULNDåH
SULWLVQLWHWLSNR]D65('1-(.8+$1-(LGLNDWRUSULNDåH
SULWLVQLWHWLSNR]D+,752.8+$1-(LGLNDWRUSULNDåH
6SRPLQVNDIXQNFLMD
6SRPLQVNRIXQNFLMRODKNRXSRUDEOMDWH]DVKUDQMHYDQMHQDVWDYLWYH
VWRSQMHPRþLLQWUDMDQMD]DHQRREPRþMH
6KUDQMHYDQMH
6WLSNDPDDOLL]EHULWHåHOMHQRNXKDOQRREPRþMHPHGWHP
NRXWULSDLQGLNDWRU]DVWRSQMRPRþL
3ULWLVQLWHWLSNRPHGWHPNRLQGLNDWRUþDVRYQLNDSULND]XMH
SRPHQLYVSRPLQXQLFLNODNXKDQMD=D
VHNXQGH]DGUåLWHVSRPLQVNRWLSNR.RVHQDLQGLNDWRUMX
þDVRYQLNDSULNDåHVH]DþQHVKUDQMHYDQMH
,QGLNDWRUVWRSQMHPRþLL]PHQLþQRSULND]XMHWHUVWRSQMR
PRþL
1DMYHþMHãWHYLORSRVWRSNRYMHVSUHPHPEVWRSQMHPRþLY
XUDK9VDNDVSUHPHPEDVWRSQMHPRþLNLWUDMDPDQMNRW
VHNXQGQHERVKUDQMHQD
3UHQHKDQMHVKUDQMHYDQMD
3RQRYQRSULWLVQLWHVSRPLQVNRWLSNRQD]DVORQXþDVRYQLNDQLYHþ
SULND]DQLQFLNHONXKDQMDVHVKUDQL
$/,
,]NORSLWHXVWUH]QRNXKDOQRREPRþMHWDNRGDLVWRþDVQRSULWLVQLWH
WLSNLLQDOLGDQDVWDYLWHVWRSQMRPRþLQDQHERYHþ
SULND]DQQDHNUDQXþDVRYQLNDLQFLNHONXKDQMDVHVKUDQL
$/,
2GVWUDQLWHSRVRGR]XVWUH]QHJDNXKDOQHJDREPRþMD.R
REPRþMH]D]QDGDVWHRGVWUDQLOLSRVRGRQD]DVORQXþDVRYQLND
QLYHþSULND]DQLQFLNHONXKDQMDVHVKUDQL
62 SI
1DYRGLOD]DXSRUDER

$/,
,]YHGLWHYHþNRWVSUHPHPEVWRSQMHPRþLLQQD
]DVORQXQHERYHþSULND]DQLQFLNHONXKDQMDVHVKUDQL
$/,
,]NORSLWHNXKDOQRSORãþRLQVKUDQMHYDQMHFLNODNXKDQMDVH
VDPRGHMQRSUHNLQH
$/,
,]NORSLWHREPRþMHNLJDXSRUDEOMDWH]DVKUDQMHYDQMHY
VHNXQGDKSR]DþHWNXVKUDQMHYDQMD7RVHQDWRVDPRGHMQR
SUHNLQH
,]YDMDQMHVKUDQMHQHJDFLNODNXKDQMD
3ULWLVQLWHVSRPLQVNRWLSNRLQGLNDWRUþDVRYQLND]DVHNXQG
SULNDåHQDWRSD8VWUH]QRNXKDOQRREPRþMH
QDVKUDQMHQHPFLNOXNXKDQMDVHYNORSLLQ]DþQHL]YDMDWLFLNHO
ýHMHXVWUH]QRREPRþMHåHYNORSOMHQRLPDVKUDQMHQLFLNHO
NXKDQMDSUHGQRVWLQVH]DþQHL]YDMDWL
ýHPHGL]YDMDQMHPVKUDQMHQHJDFLNODNXKDQMDQD
XVWUH]QHPREPRþMXSULWLVQHWHWLSNR³´DOL³´VHVKUDQMHQL
FLNHONXKDQMDSUHNLQHLQY]SRVWDYLVHQRUPDOQRGHORYDQMH
&LNHONXKDQMDMHãHYHGQRVKUDQMHQYVSRPLQX
.DNRVKUDQLWLQRYFLNHONXKDQMDþHVPRSUHGWHP
HQHJDåHVKUDQLOL
.XKDOQRREPRþMHNLJDåHOLWHVKUDQLWLYNORSLWHVSULWLVNRP
QDWLSNLDOL
=DQHNDMþDVD]DGUåLWHWLSNRLQSRMDYLVH
SRPHQLNXKDOQRREPRþMHMHVKUDQMHQRYVSRPLQX
3ULNDåHVHãHLQ]DþQHVHVKUDQMHYDQMHFLNODQD
L]EUDQHPREPRþMX
1DMYHþMDPRþNXKDOQLKREPRþLMMHQDVOHGQMD
.XKDOQRREPRþMH
1RUPDOQR
2MDþDQR
=JRUQMHVHODKNRUD]OLNXMHJOHGHQDYHOLNRVWSRQYHLQPDWHULDODL]
NDWHUHJDMHWDQDUHMHQD
63 SI
1DYRGLOD]DXSRUDER
Prilagodljivo obmoþje
Ta del kuhalne plošþe lahko uporabite kot eno samo
kuhališþe ali pa kot dve kuhališþi, odvisno od trenutnih potreb.
Prilagodljivo obmoþje ima vgrajena dva samostojna
induktorja, ki ju lahko upravljate loþeno. ýe pa je izbrana
možnost, da obmoþje deluje kot eno samo kuhališþe, se del,
ki ga ne pokriva posoda, po eni minuti samodejno izklopi.
Za pravilno zaznavanje posode in enakomerno porazdelitev
toplote morate posodo pravilno postaviti na kuhališþe:
- þe uporabite posodo, katere dno je manjšega premera od
22 cm, morate posodo postaviti na sprednjo ali na zdanjo
stran prilagodljivega kuhališþa;
- þe uporabite veþjo posodo, jo lahko postavite kamorkoli.
Eno veliko kuhališþe
ýe želite prilagodljivo obmoþje spremeniti v eno veliko
kuhališþe, preprosto pritisnite na ustrezno tipko:
Stopnjo moþi nastavite kot za obiþajna kuhališþa.
ýe posodo potisnete s sprednjega na zadnji del
(ali obratno), prilagodljivo obmoþje samodejno zazna
novi položaj in ohrani isto moþ.
Kot dve samostojni kuhališþi
ýe želite prilagodljivo obmoþje uporabiti kot dve samostojni,
loþeni kuhališþi z razliþno nastavljenimi stopnjami, pritisnite
na ustrezne tipke.
6
7
8
Flexible
Area
9
Un LED se enciende para indicar el área flexible p64-ha sido activado
como dos zonas diferentes
Si el área flexible está encendido, pulse la tecla dedicada
para apagarlo, antes de utilizar
1800
3000
3000
4000
3000
1800
3000
1800
1800
3000

ý,âý(1-(,19='5ä(9$1-(
3UHGHQL]YDMDWHY]GUåHYDOQDGHODQDSORãþLMRSXVWLWHGDVH
RKODGL
8SRUDEOMDMWHVDPRL]GHONHNUHPHLQVWUJDODSRVHEHMREOLNRYDQH
]DVWHNORNHUDPLþQHSRYUãLQH.XSLWHMLKYåHOH]QLQL
,]RJLEDMWHVHUD]OLWMXVDMVHERYVHNDUSDGHQDSRYUãLQRSORãþH
KLWUR]DåJDORLQERWDNRRWHåLORþLãþHQMH
6YHWXMHPRGDYVHVXEVWDQFHNLVHUDGHVWRSLMRNRWVRSODVWLþQL
SUHGPHWLVODGNRUL]GHONLQDRVQRYLVODGNRUMDGUåLWHSURþRG
SORãþH
9='5ä(9$1-(
1DPHVWLWHQHNDMNDSOMLFVSHFLDOL]LUDQHþLVWLOQHWHNRþLQHQD
SRYUãLQRSORãþH
3RGUJQLWHWUGRYUDWQHPDGHåH]PHKNRNUSRLQ]UDKORYODåQR
NXKLQMVNREULVDþR
2EULãLWH]PHKNRFXQMRDOLVXKRNXKLQMVNREULVDþRGRNOHU
SRYUãLQDQLþLVWD
ýHãHREVWDMDMRWUGRYUDWQLPDGHåL
1DPHVWLWHQHNDMNDSOMLFVSHFLDOL]LUDQHþLVWLOQHWHNRþLQHQD
SRYUãLQRSORãþH
3RGUJQLWHVVWUJDORPNLJDGUåLWHSRGNRWRPQDSORãþR
GRNOHUPDGHåLQHL]JLQHMR
2EULãLWH]PHKNRFXQMRDOLVXKRNXKLQMVNREULVDþRGRNOHU
SRYUãLQDQLþLVWD
ýHMHSRWUHEQRSRVWRSHNSRQRYLWH
1(.$-1$0,*29
3RJRVWRþLãþHQMHSXãþD]DãþLWQRSODVWNLMHNOMXþQHJDSRPHQD
SULSUHSUHþHYDQMXSUDVNLQREUDEH=DJRWRYLWHGDMHSRYUãLQD
þLVWDSUHGHQYQRYLþXSRUDEOMDWHSORãþR=DRGVWUDQLWHYPDGHåHY
]YRGRXSRUDELWHQHNDMNDSOMLFEHOHJDNLVDDOLOLPRQLQHJDVRND
3RWHPREULãLWH]YSRMQLPSDSLUMHPLQQHNDMNDSOMLFDPL
VSHFLDOL]LUDQHþLVWLOQHWHNRþLQH
6WHNORNHUDPLþQDSRYUãLQDSUHQHVHGUJQMHQMHSRVRGNLLPDMR
SORVNRGQRYHQGDUMHYVHNDNRUEROMHþHMLKGYLJQHWHRE
SUHQDãDQMXL]HQHJDNXKDOLãþDQDGUXJHJD
1HXSRUDEOMDMWHSUHYHþPRNUHJREH
1LNROLQHXSRUDEOMDMWHQRåDDOLL]YLMDþD
6WUJDOR]EULWYLFRQHERSRãNRGRYDORSRYUãLQHGRNOHUJD
GUåLWHSRGNRWRP
1LNROLQHSXãþDMWHVWUJDOD]EULWYLFRYGRVHJXRWURN
1LNROLQHXSRUDEOMDMWHDEUD]LYQLKL]GHONRYDOLþLVWLOQLKSUDãNRY
9='5ä(9$1-(322.9$5,
3UHGHQSRNOLþHWHVHUYLVHUMDSURVLPRSUHYHULWHQDVOHGQMH
GDMHYWLNDORSUDYLOQRYVWDYOMHQRLQYDURYDONRýHQDSDNHQH
PRUHWHQDMWL,]NORSLWHQDSUDYR±SXVWLWHYVHSULPLUX±SRNOLþHWH
3RREODãþHQLVHUYLVQLFHQWHU1DSUDYLMHELOSULORåHQJDUDQFLMVNLOLVW
NL]DJRWDYOMDGDERQDSUDYDSRSUDYOMHQDEUH]SODþQRSUL
6HUYLVQHPFHQWUX
5(â(9$1-(7(ä$9
,QGXNFLMDSORãþDVSXãþD]YRNH
1RUPDOQR9HQWLODWRUHOHNWURQVNLKNRPSRQHQWMHYNOMXþHQ
,QGXNFLMDSORãþDVSXãþDUDKHOåYLåJDMRþ]YRN
1RUPDOQR*OHGHQDGHORYQRIUHNYHQFRLQGXNWRUMHYSULGHGR
UDKOHJDåYLåJDMRþHJD]YRNDNRXSRUDEOMDWHYHþNXKDOLãþSUL
PDNVLPDOQLPRþL
.XKDOLãþDNLQHREGUåLMRVWRSQMHKLWUHJDYUHWMDDOLGRYROM
KLWUHJDSHþHQMD
8SRUDEOMDWLPRUDWHSRQYHNLVRSRSROQRPDSORVNH
'QDSRQHYPRUDMRELWLVNRUDMHQDNHSUHPHUXL]EUDQHJD
NXKDOLãþD
+UDQDVHSRþDVLNXKD
8SRUDEOMDWHQHSULPHUQRSRVRGR'QDSRQHYPRUDMRELWLSORVNH
SUHFHMWHåNHLQHQDNHJDSUHPHUDNRWL]EUDQRNXKDOLãþH
0DMKQHSUDVNHODKNRL]JOHGDMRNRWUD]ELWLQHDOLRGUJQLQHQD
VWHNOHQLSRYUãLQLSORãþH
1HSUDYLOQLQDþLQLþLãþHQMDSRVRGD]JURELPGQRPDOLUDVNDYL
GHOFLVRODOLSHVHNNLVHXORYLMRPHGSRVRGRLQSRYUãLQRSORãþH
8SRUDELWHSULSRURþOMLYHSRVWRSNHþLãþHQMDLQVHSUHGXSRUDER
SUHSULþDMWHGDVRGQDSRVRGHþLVWDLQXSRUDEOMDMWHSRVRGR]
UDYQLPGQRP
.RYLQVNLPDGHåLL]JOHGDMRNRWSUDVNH
1HGUVLWH]DOXPLQLMDVWRSRVRGRSRSRYUãLQLSORãþH8SRUDEOMDMWH
SULSRURþHQHQDþLQHþLãþHQMD]DRGVWUDQLWHYPDGHåHY
8SRUDEOMHQLVRELOLQHSUDYLOQLQDþLQLþLãþHQMDPDGHåLRG]OLWMDDOL
PDãþREHRVWDQHMRQDSRYUãLQL±XSRUDELWHVWUJDOR]EULWYLFRLQ
SULSRURþHQLþLVWLOQLL]GHOHN
7HPQHSURJHDOLPDGHå
L
8SRUDELWHVWUJDOR]EULWYLMRLQSULSRURþHQLþLVWLOQLL]GHOHN
5D]EDUYDQDSRGURþMDQDNXKDOQLSRYUãLQL
0DGHåHRGDOXPLQLMDVWLKDOLEDNUHQLKSRQHYNRWWXGLXVHGOLQH
PLQHUDORYL]YRGHDOLKUDQHODKNRRGVWUDQLWHVþLVWLOQRNUHPR
9URþHPHãDQLFHVVODGNRUMHPSODVWLNRVWRSOMHQLQDSRYUãLQR
*OHMSRJODYMHýLãþHQMHVWHNOHQHSORãþH
3ORãþDMHYRNYDULDOLSDQHNDWHUDNXKDOLãþDQHGHODMR
3DOLFH]DSUHPLNDQMHQLVRSULPHUQRSULWUMHQHQDSULNOMXþQLFR
3UHYHULWHYH]MHþHMHSUDYLOQRSRYH]DQRJOHGHQDQDYRGLODQD
VWUDQL
3ORãþDQHGHOXMH
.RQWUROQDSORãþDMH]DNOHQMHQD3ULWLVQLWHWLSNR]D³=DNOHSDQMH´
]DRGNOHS
3ORãþDVHQHL]NORSL
.RQWUROQDSORãþDMH]DNOHQMHQD3ULWLVQLWHWLSNR]D³=DNOHSDQMH´
]DRGNOHS3RJOHMWHVLSRJODYMHQDVWUDQL
3ORãþDVHDYWRPDWLþQRXVWDYL
.XKDOLãþHVHXVWDYLDYWRPDWLþQRþHVRELODSUHGROJRYNORSOMHQD
*OHMWHSRJODYMHQDVWUDQL
)UHNYHQFDYNODSOMDQMDLQL]NODSOMDQMD]DNXKDOLãþD
&LNOLYNORSL]NORSYDULLUDMRJOHGHQD]DKWHYDQQLYRWRSORWH
QL]HNQLYR.UDWHNþDVGHORYDQMD
YLVRNQLYRGROJþDVGHORYDQMD
1DSUDYDMHR]QDþHQDYVNODGX](YURSVNRGLUHNWLYR
R RGSDGQL HOHNWULþQL LQ HOHNWURQVNL
RSUHPL:(((=]DJRWDYOMDQMHPGDMHWDL]GHOHN
SUDYLOQRRGVWUDQMHQERVWHSRPDJDOLSUHSUHþLWL
PRUHELWQHQHJDWLYQHSRVOHGLFHQDRNROMHLQ]GUDYMH
OMXGLNLELMLKODKNRVLFHUSRY]URþLORQHSULPHUQR
UDYQDQMH]RGSDGNLWHJDL]GHOND
6LPEROL]GHONDSULND]XMHGD]L]GHONRPQHPRUHWH
UDYQDWLNRW]RELþDMQLPLJRVSRGLQMVNLPLRGSDGNL
1DPHVWRWHJDJDMHWUHEDRGSHOMDWLQDXVWUH]QR]ELUQRPHVWR]D
UHFLNOLUDQMHHOHNWULþQHLQHOHNWURQVNHRSUHPH2GVWUDQLWHYPRUD
ELWLL]YHGHQHYVNODGX]ORNDOQLPLRNROMVNLPLSUDYLOL]DUDYQDQMH]
RGSDGNL
=DSRGUREQHMãHLQIRUPDFLMHRUDYQDQMX]LQUHFLNOLUDQMXWHJD
L]GHONDSURVLPRGDNRQWDNWLUDWHORNDOQLXUDGYDãHNRPXQDOQR
SRGMHWMHDOLYWUJRYLQLNMHUVWHNXSLOLWDL]GHONH
64 SI
3D]LWH
0DNVLPXP
20 2/ /E1 19 U
Produktspecifikationer
| Varumärke: | Hoover |
| Kategori: | Spis |
| Modell: | HIFD440BC |
| Inbyggd display: | Ja |
| Timer: | Ja |
| Vikt: | 12000 g |
| Bredd: | 590 mm |
| Djup: | 520 mm |
| Höjd: | 56 mm |
| Förpackningens bredd: | 725 mm |
| Produktens färg: | Svart |
| Skärmtyp: | LED |
| Kontrolltyp: | Röra |
| Låddjup: | 675 mm |
| Vikt inkl. förpackning: | 13000 g |
| AC-inspänning: | 220 - 240 V |
| Apparatens placering: | Inbyggd |
| Installationsfack, bredd: | 560 mm |
| Installationsfack, djup: | 490 mm |
| Installationsfack, höjd: | 52 mm |
| Typ av spishäll: | Induktionshäll med zon |
| Antal brännare / zoner matlagning: | 4 |
| Antalet elektriska kokzoner: | 4 |
| Placering av platta/tillagningsyta 4: | Höger bak |
| Typ av platta/tillagningsyta 4: | Vanlig |
| Typ av platta/tillagningsyta 3: | Vanlig |
| Placering av platta/tillagningsyta 3: | Höger fram |
| Strömförsörjning till platta/tillagningsyta 3: | Elektrisk |
| Typ av platta/tillagningsyta 1: | Vanlig |
| Placering av platta/tillagningsyta 2: | Vänster bak |
| Strömförsörjning till platta/tillagningsyta 4: | Elektrisk |
| Strömförsörjning till platta/tillagningsyta 2: | Elektrisk |
| Typ av platta/tillagningsyta 2: | Vanlig |
| Strömförsörjning till platta/tillagningsyta 1: | Elektrisk |
| Placering av platta/tillagningsyta 1: | Främre till vänster |
| Manöverplats: | Övre främre |
| Typ av timer: | Digital |
| Effekt på platta/tillagningsyta 1: | 1800 W |
| Effekt på platta/tillagningsyta 2: | 1800 W |
| Effekt på platta/tillagningsyta 3: | 1800 W |
| Effekt på platta/tillagningsyta 4: | 1800 W |
| Typ av ytskikt: | Glass-keramisk |
| Kokzon 3, boost: | 3000 W |
| Kokzon 2, boost: | 3000 W |
| Anslutningseffekt (elektrisk): | - W |
| Anslutningseffekt (gas): | - W |
| Kokzon 1, boost: | 3000 W |
| Kokzon 4, boost: | 3000 W |
| Boost-funktionen: | Ja |
| Spisens bredd, storlek: | 59 cm |
| Antal kokzoner som kan användas samtidigt: | 4 |
| Hällskydd för spishäll: | Nej |
| Integrerad huva: | Nej |
| Rengöring lås: | Ja |
Behöver du hjälp?
Om du behöver hjälp med Hoover HIFD440BC ställ en fråga nedan och andra användare kommer att svara dig
Spis Hoover Manualer
2 Oktober 2025
1 Oktober 2025
1 Oktober 2025
18 Juni 2025
17 Juni 2025
17 Juni 2025
17 Juni 2025
17 Juni 2025
17 Juni 2025
17 Juni 2025
Spis Manualer
- Meireles
- Saba
- JAcobus
- Infiniton
- Blaze
- Wolf
- KitchenAid
- Mirage
- BEKO
- Campingaz
- Hendi
- ECG
- Nedis
- Soler And Palau
- Vulcan
Nyaste Spis Manualer
23 Oktober 2025
20 Oktober 2025
20 Oktober 2025
19 Oktober 2025
19 Oktober 2025
19 Oktober 2025
19 Oktober 2025
19 Oktober 2025
18 Oktober 2025
18 Oktober 2025