Prestigio Roadrunner 505 Bruksanvisning
Läs gratis den bruksanvisning för Prestigio Roadrunner 505 (8 sidor) i kategorin Bilkamera. Guiden har ansetts hjälpsam av 27 personer och har ett genomsnittsbetyg på 3.6 stjärnor baserat på 14 recensioner. Har du en fråga om Prestigio Roadrunner 505 eller vill du ställa frågor till andra användare av produkten? Ställ en fråga
Sida 1/8

Roadrunner505 EN - 1
Quick Start Guide
Prestigio Roadrunner 505
1. Packing List
1. Prestigio car DVR 5. 15cm data cable
2. Suction mount 6. Rechargeable battery
3. Car charger
4. 3.6m power cable
7. Quick start guide
8. Warranty Card
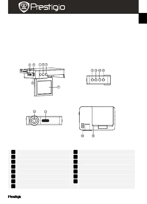
2. Device Overview
Video/Playback/OK Button
Up Button
Photo Button
Down Button
Mic /SOS button
Power Button
HDMI Port
Lens
SD card slot
LED light (Night mode)
USB port
Speaker
LCD display
MIC
Menu Button
15
8
7
14
13
6
5
12
11
10
9
4
3
2
1
EN
Produktspecifikationer
| Varumärke: | Prestigio |
| Kategori: | Bilkamera |
| Modell: | Roadrunner 505 |
Behöver du hjälp?
Om du behöver hjälp med Prestigio Roadrunner 505 ställ en fråga nedan och andra användare kommer att svara dig
Bilkamera Prestigio Manualer
16 September 2024
16 September 2024
16 September 2024
Bilkamera Manualer
- Mr Handsfree
- Navitel
- MINI0806
- Philips
- Eclipse
- Pioneer
- BlackVue
- Phonocar
- Schou
- Roadhawk
- HP
- Rollei
- Thinkware
- Gembird
- JVC
Nyaste Bilkamera Manualer
7 Januari 2025
19 Oktober 2024
23 September 2024
23 September 2024
14 September 2024
14 September 2024
14 September 2024
14 September 2024
14 September 2024
14 September 2024