Draper Expert 23311 Bruksanvisning
Draper
ej kategoriserat
Expert 23311
Läs gratis den bruksanvisning för Draper Expert 23311 (4 sidor) i kategorin ej kategoriserat. Guiden har ansetts hjälpsam av 2 personer och har ett genomsnittsbetyg på 4.7 stjärnor baserat på 1.5 recensioner. Har du en fråga om Draper Expert 23311 eller vill du ställa frågor till andra användare av produkten? Ställ en fråga
Sida 1/4

BRAKE PIPE
FLARING
SLIDER KIT
23311 – BPF/PRO/SLIDER INSTRUCTIONS FOR USE
Read this manual in full before using this product and retain it for future use. Always use the latest version of
the manual. Please visit drapertools.com/manuals for the latest version.
1. Intended Use
This product is designed to are brake pipes of 3 ⁄ 16"
and 4.75mm according to SAE Convex, DIN Convex
and SAE Double standards. Any other application
beyond the conditions established for use will be
considered misuse. Draper Tools accepts no
responsibility for improper use of this product.
Important: Ensure that you are familiar with the
various types of ares and their applications before
using this product. ALWAYS consult the vehicle
manufacturer’s instructions before use.
WARNING! Keep your hands clear of moving
parts, clamps and punches while using this
product and keep long hair and jewellery
tied back.
2. What’s in the Box?
EN
Original Instructions
Version 2 – January 2023
(E2)
(A)
(D) (C)
(E1)
(B)
A. 1 × Flaring tool assembly
B. 1 × Press lever
C. 1 × 3 ⁄ 16" (4.75mm) SAE punch slider
D. 1 × 4.75mm DIN punch slider
E. 1 × 3 ⁄ 16" combi die
E1. 3 ⁄ 16" (4.75mm) SAE die
E2. 4.75mm DIN die
3. Operating Instructions
1. Clamp the base of the tool into a suitable
bench-mounted vice and screw the press lever
(B) into the lever socket (1).
2. Fully loosen the die clamp lever (2) and swing
the die clamp (3) open.
1 Fig.
(2) (3)
(4)
(1)
(B)
3. Use 6. Flaring Reference Chart to determine the
correct die and punches for the required are.
4. Clean the die of grease and place the two parts
horizontally into the die socket (4) with the
required mould directed towards the slider
mount (5).
2 Fig.
(E) (5)
(6)
(6)
(E)
Important: Ensure that both parts of the die are
in contact with the die stops (6).

5. Prepare the brake pipe; see 4. Preparing the
Brake Pipe.
6. Ensure that the tube nut (7) (not supplied) is
installed onto the brake pipe (8), then lightly
lubricate the end of the brake pipe using brake
uid or an appropriate oil and insert it through
the rear of the die.
3 Fig.
(8)
(7)
Important: Ensure that the end of the pipe is
ush with the face of the die.
7. Close the die clamp (3) and tighten the die clamp
lever (2) to secure the die in position.
Important: The die clamp must be very tight to
prevent the die and pipe from moving during the
operation. After tightening, ensure that the die
and pipe are correctly positioned.
8. Insert the appropriate punch slider (C) (D) into the
slider mount (5) with the required OP. 1 punch
facing towards and directly in line with the pipe.
4 Fig.
(3)(2)
(C/D)
(7)
Important: The punch number identied in the
chart (see 6. Flaring Reference Chart)
corresponds with the number at the top of the
punch slider label.
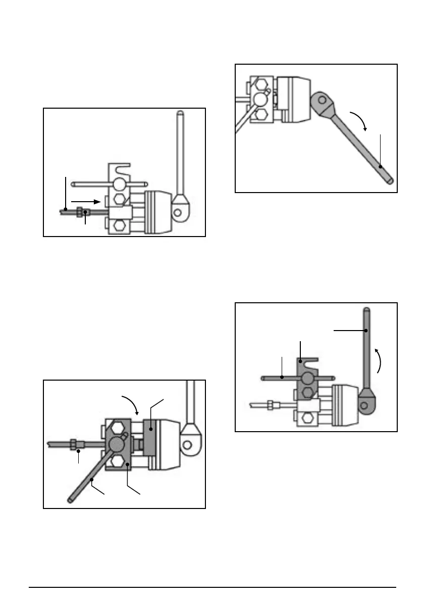
9. Pull the press lever (9) to engage the punch with
the end of the pipe until rm resistance is felt,
then return the lever to its original position.
5 Fig.
(9)
10. If the chart identies a second operation
required for the are (SAE Double ares only),
move the slider so that the OP. 2 punch is
aligned with the pipe and pull the press lever to
apply the are.
11. Return the press lever (9) to its original position,
then loosen the die clamp lever (2) and open the
die clamp (3).
6 Fig.
(9)
(3)
(2)
12. Remove the die from the die socket and extract
the pipe from the die. If necessary, tap the die
gently on a suitable surface to release the pie
from the die.
13. Check the quality of the are to ensure that the
pipe did not move during the operation and
blow any residual debris from the pipe.
– 2 –– 2 –
Produktspecifikationer
Varumärke: | Draper |
Kategori: | ej kategoriserat |
Modell: | Expert 23311 |
Behöver du hjälp?
Om du behöver hjälp med Draper Expert 23311 ställ en fråga nedan och andra användare kommer att svara dig
ej kategoriserat Draper Manualer
8 Oktober 2025
8 Oktober 2025
8 Oktober 2025
8 Oktober 2025
8 Oktober 2025
8 Oktober 2025
8 Oktober 2025
8 Oktober 2025
8 Oktober 2025
8 Oktober 2025
ej kategoriserat Manualer
- Lasko
- Schallwerk
- Amazon
- Visual Productions
- LINOVISION
- Kaiser
- SoundPEATS
- Medel
- Cigweld
- Doktorvolt
- TAMA
- PATLITE
- Homedics
- Comet
- Moulinex
Nyaste ej kategoriserat Manualer
8 Oktober 2025
8 Oktober 2025
8 Oktober 2025
8 Oktober 2025
8 Oktober 2025
8 Oktober 2025
8 Oktober 2025
8 Oktober 2025
8 Oktober 2025
8 Oktober 2025