EBERLE UPP 16 Bruksanvisning
EBERLE
ej kategoriserat
UPP 16
Läs gratis den bruksanvisning för EBERLE UPP 16 (4 sidor) i kategorin ej kategoriserat. Guiden har ansetts hjälpsam av 14 personer och har ett genomsnittsbetyg på 4.5 stjärnor baserat på 7.5 recensioner. Har du en fråga om EBERLE UPP 16 eller vill du ställa frågor till andra användare av produkten? Ställ en fråga
Sida 1/4

- 1 -
Important!
The device may only be installed by an electrically
skilled person as shown on the circuit diagram on the
device and in these instructions. The existing safety
regulations must be followed.
The relevant installation measures must be taken to
achieve the requirements of protec- tion class II. This
independently mountable electromechanical device
is used to switch electrical loads in dry and enclosed
rooms, with normal environment. This device conforms
to EN 61095.
Operating Instructions
UPP 16

- 2 -
1. Areas of Use
2. Electrical connection / mounting
Electromagnetic relay in housing for mounting in a
ush-mounted wall box Ø 63mm.
Can also be used in combination with room temperature
controllers to achieve switching currents of up to 16 A for
electric heating systems.
1. Disconnect mains power supply.
2. Install in flush-mounted box.
3. Wiring of UPP 16 according to wiring diagram (see mar-
king on product or these instructions). Use cable cross-
-section of 2.5 mm² for switching currents >10 A.
EBERLE Controls GmbH
Klingenhofstr. 71
90411 Nuremberg
Germany
info@eberle.de
www.eberle.de
This product should not be disposed of
with household waste. Please recycle
the products where facilities for elec-
tronic waste exist. Check with your local
authorities for recycling advice.

- 3 -
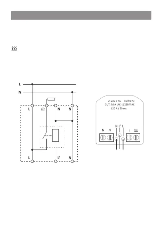
3. Wiring diagram
Abbreviation in wiring diagram
L = outer conductor (phase)
N = neutral conductor
= load connection (in combination w/ temperature
controller: heating)
L‘ = control relay
Produktspecifikationer
Varumärke: | EBERLE |
Kategori: | ej kategoriserat |
Modell: | UPP 16 |
Behöver du hjälp?
Om du behöver hjälp med EBERLE UPP 16 ställ en fråga nedan och andra användare kommer att svara dig
ej kategoriserat EBERLE Manualer
24 Augusti 2025
24 Augusti 2025
24 Augusti 2025
24 Augusti 2025
24 Augusti 2025
24 Augusti 2025
24 Augusti 2025
24 Augusti 2025
24 Augusti 2025
24 Augusti 2025
ej kategoriserat Manualer
- Kambrook
- Intenso
- Botex
- Blustream
- RME
- EcoFlow
- Flipline
- Maktec
- Vixen Go
- EK Water Blocks
- Jackery
- Valera
- Sharp
- Focal
- SoundTube
Nyaste ej kategoriserat Manualer
8 Oktober 2025
8 Oktober 2025
8 Oktober 2025
8 Oktober 2025
8 Oktober 2025
8 Oktober 2025
8 Oktober 2025
8 Oktober 2025
8 Oktober 2025
8 Oktober 2025